GRUNDFOS JP 5 B-A-CVBP Horizontal Self-Priming Jet Pump
Warning
Prior to installation, read this installation and operating instructions. Installation and operation must comply with local regulations and accepted codes of good practice.
Warning
The use of this product requires experience with and knowledge of the product.
Persons with reduced physical, sensory or mental capabilities must not use this product, unless they are under supervision or have been instructed in the use of the product by a person responsible for their safety. Children must not use or play with this product.
Symbols used in this document
Warning
If these safety instructions are not observed, it may result in personal injury.
Warning
If these instructions are not observed, it may lead to electric shock with consequent risk of serious personal injury or death.
Warning
When pumping hot liquids, make sure that persons cannot accidentally come into contact with hot surfaces.
If these safety instructions are not observed, it may result in malfunction or damage to the equipment.
Notes or instructions that make the job easier and ensure safe operation.
General information
These instructions apply to JP 5 and JP 6 pumps in material variants A and B.
Applications
The Grundfos jet pumps, type JP, are horizontal, self-priming centrifugal pumps designed for pumping water and other thin, non-aggressive and
non-explosive liquids, not containing solid particles or fibres.
If the pump has been used for dirty liquids, e.g. pool water, flush it through with clean water immediately after use.
Warning Do not use the pump for flammable liquids, such as diesel oil and petrol.
Warning Do not use the pump for aggressive liquids, such as acids and seawater.
Identification
- Type
- Model
- Supply voltage
- Maximum current
- Frequency
- Maximum pressure
- Maximum head
- Country of origin
- Rated head
- Enclosure class
- Input power
- Rated flow rate
- Maximum ambient temperature
- Maximum liquid temperature
- Efficiency class
- Production company
Installation
The pump must be installed horizontally.
When the suction pipe is longer than 10 metres or the suction lift is greater than 4 metres, the diameter of the suction pipe must be larger than 1″. If there is a suction lift, we recommend that you fit a non-return valve to the suction pipe. If a hose is used as a suction pipe, it must be non-collapsible. To prevent solids from entering the pump, a filter can be fitted to the suction pipe. Make sure that the pump is not stressed by the pipework. Connect the discharge pipe to the pump discharge port (T). See fig. 2. H = maximum 7 metres. 
Installation dimensions can be found on page 206.
- Handle
It is not necessary to fit the handle supplied on permanently installed pumps.
On portable pumps the handle can be fitted lengthwise or crosswise depending on the material variant. - Ejector valve
The ejector valve is supplied separate with the pump. Remove the plug (V), see fig. 5, and fit the ejector valve into the hole.
Note: The O-ring must be fitted to the ejector valve.
Tighten the valve using fingers only.
Ejector valve setting
The ejector valve in the plug hole (V) can be turned to two positions. See fig. 4.
Figure 3 shows an example of how the ejector valve position may affect the QH curve. 
Pos. 1
Turn the valve to the left (out).
Select pos. 1 when the suction pipe is empty and the pump is to be primed.
Select also pos. 1 when a small quantity of water and a high pressure are required.
Pos. 2
Turn the valve to the right (in).
Select pos. 2 when the pump has been primed, and a large quantity of water and a low pressure are required
Warning
This position must only be used for high flow rates and constant water consumption.. 
Electrical connection
Carry out the electrical connection according to local regulations.
Warning
During electrical installation, make sure that the power supply cannot be accidentally switched on. The pump must be connected to an external mains switch with a minimum contact gap of 3 mm in all poles. As a precaution, the pump must be connected to a socket with earth connection. We recommend that you fit the permanent installation with an earth leakage circuit breaker (ELCB) with a tripping current ≤ 30 mA. Single-phase motors incorporate a thermal switch and require no additional motor protection. Three-phase motors must be connected to an external mains switch and a motor-protective circuit breaker. Carry out the electrical connection as shown in the diagram on the inside of the terminal box cover.
Checking the direction of rotation (three-phase motors)
Warning Do not start the pump until it has been filled with liquid.
Arrows on the motor fan cover indicate the correct direction of rotation.
If the direction of rotation is wrong, switch off the power supply and interchange any two of the incoming supply wires.
Startup
Warning Do not start the pump until it has been filled with liquid.
Caution: The pump must not run without delivering water for more than four minutes.
Filling the pump with water
- Remove the plug (P). See fig. 5.
- Fill the pump with water.
- Refit the plug and tighten it using fingers only. The pump can now be started.

If there is a suction lift, up to four minutes may pass from the moment the pump is started until it delivers water. This period depends on the length and diameter of the suction pipe. When the pump is delivering water without air, you may turn the ejector valve to position 2. See fig. 4.
Shaft seal run-in
The seal faces are lubricated by the pumped liquid, meaning that there may be a certain amount of leakage from the shaft seal.
When the pump is started up for the first time, or when a new shaft seal is installed, a certain run-in period is required before the leakage is reduced to an acceptable level. The time required for this depends on the operating conditions, i.e. every time the operating conditions change, a new run-in period will be started.
Under normal conditions, the leaking liquid will evaporate. As a result, no leakage will be detected.
Maintenance
If the pump has been used for dirty liquids, e.g. pool water, it must be flushed through with clean water immediately after use.
Cleaning the pump
It is only necessary to clean the pump if it does not work as intended and flushing it with clean water did not eliminate the problem.
Warning
Before starting work on the product, switch off the power supply. Make sure that the power supply cannot be accidentally switched on.
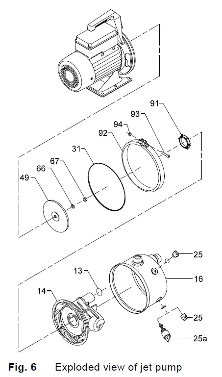
The position numbers mentioned in the following sections refer to fig. 6.
Dismantling
- Pumps with ejector valve: Turn the ejector valve to pos. 1. See fig. 4.
- Drain the pump by removing plug (pos. 25) or ejector valve (pos. 25a).
Warning Make sure that the escaping hot or cold liquid does not cause injury to persons or damage to the equipment. - Remove screw (pos. 93) and clamp (pos. 92) holding pump sleeve (pos. 16).
- Push pump sleeve (pos. 16) free of the motor stool with a screwdriver and take it off.
- Pull ejector (pos. 14) out of the pump sleeve.
- Clean the ejector and the pump sleeve using a soft brush or a water jet.
- Check if impeller (pos. 49) is dirty. If that is the case, clean the impeller (in place) using a soft brush or a water jet. See fig. 7.
To prevent the impeller and shaft from rotating, hold the motor fan blades.
Caution Do not use a high-pressure jet cleaner.
Assembly
- Moisten O-ring (pos. 13) with soapy water and fit it into the recess of the suction port of ejector (pos. 14).
- Fit the ejector into pump sleeve (pos. 16). Check that O-ring (pos. 13) is positioned correctly on the collar of the suction port of the sleeve.
- Moisten O-ring (pos. 31) with soapy water and place it on the ejector.
- Moisten seal ring (pos. 91) with soapy water, fit it into the recess of the ejector and turn it against the stop.
- Fit the pump sleeve with the ejector to the motor stool. Check that O-ring (pos. 31) is positioned correctly.
- Place clamp (pos. 92) on the pump sleeve, and fit and tighten the screw and nut.
- Refit plug (pos. 25) or ejector valve (pos. 25a). Check that the ejector valve is in position 1. See fig. 4. Tighten the plug or ejector valve using fingers only.
In orders for spare parts, please mention the position number in fig. 6 and the pump data marked on the pump nameplate. 
Note The pump illustrated in fig. 6 may differ from the actual pump version.
Caution If the pump is not used during periods of frosts, it must be drained to avoid damage.
To drain the pump, remove the plug (P) and the plug or the ejector valve (V). See fig. 8.
Warning Make sure that the escaping hot or cold liquid does not cause injury to persons or damage to the equipment.
Refit the plugs and tighten them using fingers only.
Technical data
- Ambient temperature
Maximum +40 °C. - Storage temperature
Minimum -20 °C.
Maximum +70 °C. - Liquid temperature
See pump nameplate. - System pressure
Maximum 6 bar. - Inlet pressure
At inlet pressures above 1.5 bar the discharge pressure must be at least 2.5 bar. - Supply voltage
1 x 220-240 V, 50 Hz.
3 x 220-240/380-415 V, 50 Hz. - Insulation class
F. - Enclosure class
IP44. - Relative air humidity
Maximum 95 %. - Dimensions
See page 206. - Sound power level
The sound power level of the pump is lower than 72 dB(A). - Start/stop frequency
Maximum 100 per hour.
Fault finding
Warning Before starting fault finding, switch off the power supply. Make sure that the power supply cannot be accidentally switched on. 


Disposal
This product or parts of it must be disposed of in an environmentally sound way:
- Use the public or private waste collection service.
- If this is not possible, contact the nearest Grundfos company or service workshop.
Appendix
Material variant A 
Material variant B 
Declaration of conformity
EC/EU declaration of conformity
We, Grundfos, declare under our sole responsibility that the products JP 5, JP 6, to which the declaration below relates, are in conformity with the Council Directives listed below on the approximation of the laws of the EC/EU member states.
Note: There are two sets of Council Directives and standards listed below. One set applies until and including 19th April 2016. The other set applies from 20th April 2016 and onwards.
References
Slovak (Slovakia) | The full range supplier of pumps and pump solutions. As a renowned pump manufacturer, Grundfos delivers efficient, reliable, and sustainable solutions all over the globe. Step into our world.
Bosnian (Bosnia) | The full range supplier of pumps and pump solutions
Dansk (Danmark) | Den komplette leverandør af pumper og pumpeløsninger. Som en berømt pumpeproducent leverer Grundfos effektive, pålidelige og bæredygtige løsninger over hele kloden. Gå ind i vores verden.



















