

Privacy function kit
Model FC21
Keep this kit!

Installing the privacy pin changes the function of the lock from non-locking to locking.
AFTER installing interior chassis and trim, but before installing the knob/lever:
1 Install the pin cap.

2 Confirm slot position.
Look inside hole in trim. Slot in chassis MUST be horizontal, as shown.

Slot not horizontal? Gently insert pin into slot and rotate to the left until it stops. Confirm the position again.

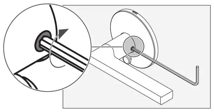
3 Install the pin.

4 Rotate the pin to the right, until it stops.
√ If you can easily pull the pinout, it is not clicked into place. Make sure it is clicked in before rotating.

5 Remove the pin cap.

6 Install the interior knob/lever.
6a Push knob/lever firmly into place.

6b Then tighten setscrew.

7 Test the privacy function.
√ TEST WITH DOOR OPEN to avoid being locked in or out!
7a Push the pin in untilit clicks. Try to rotate the exterior lever. It should not move.

7b Use the emergency unlock tool to unlock the lock.
7b Use the emergency unlock tool to unlock the lock.
Make sure to push the pin all the way in during step 3.


© Allegion 2018
Printed in U.S.A.
P518-614 Rev. 03/18-a
Schlage Custom Privacy Function Kit FC21 User Manual – Optimized PDF
Schlage Custom Privacy Function Kit FC21 User Manual – Original PDF

















