ARPELLA BLM7036 Frameless LED Wall Mounted Backlit Vanity Mirror Instruction Manual
Instructions
Please read these instructions carefully before installation. Installation should be carried out by a qualified electrician.
Do NOT strike mirror glass with hard or pointed items. It is recommended that the product is cleaned with a soft, dry,non abrasive cloth. Do NOT use cleaning agents or abrasive materials on any type of finished surface. Do NOT allow moisture to come into contact with the electrical components.
Electrical Information of LED Mirror
| Item code | Product Size(inch) | Input Voltage | Electric Power of mirror(watt) | Lumens | Colour temperature (Kelvin) | Life expectancy of LED strip (Hour) |
| BLM2436 | 24“WX36”H | 110V | 29.4W | 3381 | 6000K | 50,000 |
| BLM3436 | 34”WX36”H | 110V | 35.4W | 4071 | 6000K | 50,000 |
| BLM4830 | 48”WX30”H | 110V | 40.2W | 4623 | 6000K | 50,000 |
| BLM6036 | 60”WX36”H | 110V | 51.12W | 5878.8 | 6000K | 50,000 |
| BLM7036 | 70”WX36”H | 110V | 57.6W | 6624 | 6000K | 50,000 |
Touch Switch Application
- ON/OFF LED Light
When the LED Light is OFF,use single finger to Short Touch the Switch Button, the LED Light will be turned ON.
When the LED Light is ON, Short Touch the Switch Button, the LED light will be OFF. - Dimmable function.
Simply press and hold the touch button to adjust lighting to your desired level. - The Switch is with memory function.
When the LED light is turned on again, the Brightness of the LED light will be at the same status as it was turned off.
Dimensions




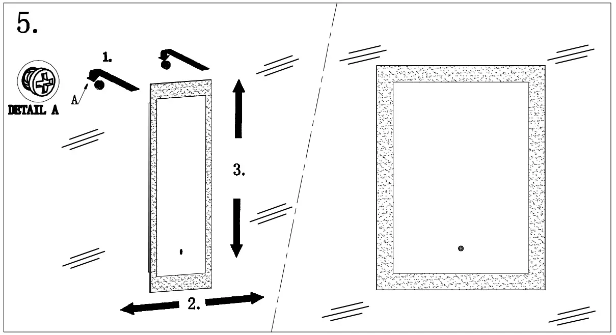
INSTALLATION INSTRUCTIONS
- Before your installation, make sure the location of the mirror is suitable, ensuring that the domestic main power supply is within reach of the electrical entry point of the mirror.

- Use a soft pencil to mark the position of the mirror on the wall, and it is very important to make sure it is level. Remove the mirror and mark the mounting points. Keep in mind that all marked mounting points to be matched up with the fixing points on the mirror accurately.

- Drilling holes in the marked positions by using a suitable tool, and then insert the wall plugs on the surface of the wall. After that, fasten the supplied screws into wall plugs (Fig.1/2/3 ).

- You must have a junction box in the wall.
Carefully connect the domestic main power supply to the terminal box according to the wiring diagram (Fig. 4) overleaf. Always remember that the domestic electrical main power supply to which the mirror is being connected is TURNED OFF during the installation.
Wiring from light fitting:
House Wire Black (Live/Hot) to Fixture Wire Black (L)
House Wire White (Neutral) to Fixture Wire White (N)
House Wire Green (Ground) to Fixture Wire Green (
)
The input voltage required is 110V.
- Hang the mirror on to the marked position ?turn on the domestic electrical main power supply for the mirror light.

























