SIRMAN Fresh Pasta Machine

Delivery and warranty
Foreword
WARNING!
The symbols used in this manual are intended to draw the reader’s attention to points and dangerous operations as regarding personnel and operators’ safety as well as the risks to damage the machine.
Do not operate the machine unless you are not certain to have understood properly the meaning of these indications.
WARNING!
For clarity, some illustrations in this Manual show the equipment or parts of it with the panels or casings removed. Do not use the machine in such conditions. The machine has to be used only when all guards are in place. This manual cannot be reproduced, even partially, without the consent of the manufacturer and its contents can not be used for purposes not permitted by the manufacturer. Any violation of the copyright mentioned above could lead to prosecution under the law.
Preserving and using the manual
The purpose of this manual is to give the users by means of texts and images the recommendations and essential criteria related to transport, handling, use, and maintenance of the machine. Read this manual carefully prior to using the machine. The Manual must be preserved in a known easily accessible place, available for consultation whenever required. If the Manual is lost, damaged, or becomes illegible, contact your reseller or directly manufacturer for a copy.
If the equipment concerned changes ownership, the Manual has to be handed over to the new owner. This manual reflects the state of the techniques at the moment the machine has been placed on the market and it doesn’t have to be considered obsolete just because not yet been updated according to the new expertise. The manufacturer reserves the right to update the production and related manuals without updating the production and the previous manuals, except for special cases. In case of doubts, please contact the nearest Customer Assistance Service of the manufacturer. The manufacturer aims to continuously improve its products.
For this reason, the manufacturer is keen to receive any report or proposal aimed at improving the machine and/or the manual. The equipment has been delivered to the user under warranty conditions at the moment of purchase. Please contact the manufacturer for further details.
Warranty
Under no circumstances the user is allowed to tamper with the machine. In case of fault refer to your supplier. Any attempt of the user or unauthorized personnel to disassemble, modify or more generally tamper with any part of the machine will cause the Declaration of Conformity drawn up in accordance with EEC Directives 2006/42 to lapse, it shall void the warranty and will relieve the Manufacturer from damages caused by such behavior. The Manufacturer shall be relieved of all liability in the following situations:
- incorrect installation;.
- improper use of the equipment by inadequately trained personnel;
- use contrary to regulations in force in the country where the equipment is used;
- omitted or poor maintenance;
- use of non-original spares or not specific to the model;
- total or partial non-compliance with these instructions- with spare parts that are not original or are not specific to the model.
Description of the machine
The machine in your possession is simple, compact, highly efficient, and powerful equipment.
- Since it must be used in food applications, the components were carefully chosen to provide maximum hygiene.
- The basin is made of aluminum anodized.
- The tools are made of stainless steel to ensure durability and maximum hygiene.
- Cast stainless steel spout and copper extruders.
- It provides two operation modes: mixing and extruding.
- Maximum mixing capacity 2.1 kg (1,5 kg flour 0.6 kg egg)
- Pre-arranged for dough-cutter installation.
- Ventilated single-phase motors offer the following advantages:
- consistency, high performance, and durability of the motor;
- increases the real operation time due to fewer interruptions;
The version represented in this manual has been built in compliance with EC Directive 2006/42 and further modifications. In case of an accident, no responsibility can be charged to the manufacturer if the machine has been modified, tampered with if it has been used with the safety guards removed or for purposes not permitted by the manufacturer.
Permitted use
The machine was designed and built for fresh pasta production.
It is to be used in professional environments; the machine operator has to be specialized in the field and have read and understood this manual. Do not use the machine unless safely fixed to a solid workbench.
Improper use is not permitted
The machine must be used exclusively for the purposes intended by the manufacturer; in particular:
- do not use the machine for food products other than those indicated by the manufacturer.
- do not use the machine unless it has been properly installed with all the protections intact and properly assembled to avoid the risk of severe injury.
- do not access the electrical components without having previously disconnected the machine from the mains: one risks electrocution.
- Follow the indicated flour/liquid quantities. Wrong quantities of ingredients can generate permanent damage to the machine.
- Do not wear clothing which do not follow the safety regulations.
- Check with your employer as regards the safety regulations and safety equipment to be provided with.
- Do not use the equipment if damaged.
- Before using the machine make sure that any dangerous condition has been appropriately cleared. In case of abnormal operation, stop the machine and warn the persons in charge of maintenance.
- Do not allow unauthorized persons to operate on the equipment.
- The emergency treatment in case of an accident caused by electrical shock im-plies to first remove the contact between the injured person from the conductor (since usually, the person faints). This is a dangerous operation. The victim in this case is a conductor: touching him/her could imply being electrocuted.
- It should therefore first remove contacts directly from the supply valve, other-wise move the victim using insulating materials (wood or PVC stick, cloth, leather, etc.). It is recommended to call for medical staff, the patient has to be transferred to a hospital.
Identification of the equipment
Providing an exact description of the “Version”, the “Serial Number” and the ” Year of manufacture” of the machine will allow rapid and effective answers from our customer service. It is recommended to indicate the machine version and serial number whenever you call for service.
Collect these data from the plate shown in Fig. 1.7.1. It is suggested to insert the machine identification data in the following table:
- A = machine version
- B = Voltage
- C = motor power
- D = motor frequency Hz E = Weight
- F = Amperage
- G = Year of manufacture H = Serial No.
- I = Manufacturer
- L = Barcode
WARNING!
Do not alter the data on the identification plate under any circumstances.
Warning plates
WARNING!
Do not intervene on electrical components when the machine is connected to the mains. One risks electrocution. Follow the indications on the plates. Failure to comply to the recommendations could result in personal injury. Make sure the plates are always in place and readable. Otherwise, apply or replace them.
Safety devices and protections
WARNING!
Before use ensure that all the safety devices are installed and working properly. Before each working shift ensure that all the safety devices are installed and that they are working properly. Otherwise, contact the person in charge of maintenance activity.
Cover sensor
It prevents the starting up of the machine in case the cover is up.
WARNING!
Do not tamper with the safety devices.
Operating station
The correct position that the operator must occupy to optimize the working with the machine is shown in fig. 1.9.1.
Technical features
Main components
To facilitate the understanding of the manual, hereafter there are listed below and shown in fig. 2.1.1. the main parts of the machine
- Feet
- Dough basin
- Dough extruders
- Feeder funnel
- Commands
- Paddle release
- Casing
- Interlocked cover
Technical features
| Motor | Supply | Hourly capacity | Extruders |
| watt/ | V/ | kg/ | ø |
| 370/1 | 230/5/0 | 5 | 59 |
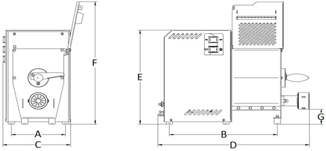
Dimensions and weight of the machine

| A | B | C | D | E | F | G | Net weight |
| mm | mm | mm | mm | mm | mm | mm | kg |
| 206 | 411 | 258 | 580 | 406 | 530 | 64 | 28 |
Noise level
The measured machine equivalent noise level does not exceed 70 dB.
Electrical diagrams
Single-phase electrical diagram
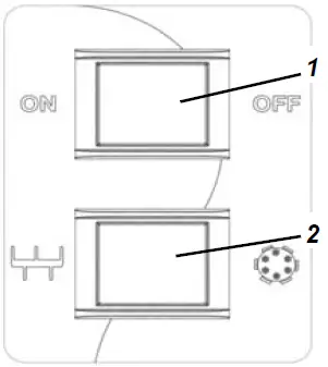
List of controls and indicator lights
List of controls and indicator lights
- Start switch
It starts the mixer. If the cover is opened during operation, turn the switch to “OFF” and then press “ON” again to restart the machine. - Extruding/mixing mode selector
It allows selecting the operation mode: mixing mode (the spiral moves the product inside the bowl) or extruding mode (the spiral pushes the product towards the die). To shift mode, stop the mixer, select the mode and start the machine.
CAUTION!
The machine is equipped with a forced ventilation system (fan) controlled by a bimetallic switch connected to the motor. When the motor reaches 60 °C, the fan starts autonomously and continues operating until the motor’s temperature drops down to 40 °C.
Inspection, shipping, delivery, and installation
Inspection
The equipment in your possession has been tested at our factory to verify that all moving parts work properly and it is properly adjusted. The tests are carried out with materials similar to those processed by the user.
Shipping and handling the machine
All materials shipped have been thoroughly checked before delivery to the shipping company. Unless otherwise agreed upon with the customer, the machine is wrapped with nylon and fixed with steel straps on the bench, covered by a box that is also fixed with steel straps to the pallet. On receiving the machine, check the integrity of the packaging. In case of damage to the packaging, the carrier shall sign the notice of receipt for instance which should sound like this: “I tentatively accept…” and the reason. On opening the packaging, in case of badly damaged components of the machine, file a complaint to the shipping company within three days from the date indicated on the documents.
Installation
WARNING!
The machine installation area has to be sturdy and the surface has to ensure safe support. When positioning the machine keep extensive space around it. This allows greater maneuverability during operation and ensures access for maintenance. Prepare suitable lighting around the machine to ensure proper visibility to the machine operator.
- Remove the cellophane wrapping off the machine and another packaging present on the inside.
Disposing of the packaging
The components such as cardboard, nylon, and wood products are comparable to municipal solid wastes. They can therefore be freely disposed of. Nylon is a pollutant material that produces toxic fumes when burned. Do not burn it; dispose of it off in accordance with the laws in force regarding the matter. If the machine is delivered in countries where special rules are implemented, the packaging must be disposed of according to such regulations.
Handling the machine
WARNING!
Handle the machine with care and attention, and avoid accidental falls that could damage it. To avoid muscle strain, when lifting the machine, use the force of the legs.
Electrical connections
WARNING!
Ensure the mains match the voltage given on the equipment’s ID plate. All interventions must be carried out exclusively by specialized and expressly authorized personnel. Carrie out the electrical connection to properly earthed mains.
Single phase machine 220 V / 50 Hz
In this version, the machine is supplied with a power cable having a 3 x 1.5 mm cross-section. The cable is connected to a three-poles single-phased plug. Connect the cable to single phase 220 Volt-50 Hz mains; interpose a differential circuit breaker of 16 amps. 
In installations with voltages other than those mentioned, please consult the manufacturer. Should it be necessary to lengthen the power cable, or use a cable having a cross-section that matches the one installed by the manufacturer.
Starting up and shutting-down
Checking the electrical connections
Connect the plug to the mains and press the start button (3 Fig. 3.1.1). The machine gets enabled in extruding mode; ensure the spiral direction of rotation is counter-clockwise. Otherwise, disconnect the machine from the mains and contact your supplier.
Note:
In the machines connected to a single phase line, manufactured for this specific power supply, the correct direction of rotation is determined directly by the manufacturer.
Checking the efficiency of safety guards and devices
Top lid
When the lid is lifted, the machine must stop. The machine must not start when the lid is open.
Checking the efficiency of the OFF switch
When the machine is plugged in and tools are in movement, press the OFF switch (1). The machine must stop.
Starting the machine
Connect the plug to the electric mains, select the operation mode (mixing/extruding) with the selector (2), and press the ON switch (1) Fig. 3.1.1, and the mixer will start.
Stopping the machine
To stop the mixer, press the OFF switch (1).
Description of the machine
Prescriptions
WARNING!
Only authorized personnel can operate the machine. Prior to the start-up, the operator must first ensure all the guards are in place and all the safety devices are present and effective. Otherwise, shut the machine down and contact the operator in charge of maintenance.
Ensure that the flour/egg ratio is always 1kg of flour / 400 g of the egg. Before starting the process, prepare the machine with the dough die, feeder screw, and blade all mounted.
Dough preparation
- Pour the flour mix in the mixing basin
- Close the top cover and insert the funnel on the feeder cap
- Select mixer mode by means of the selector button “2”.
- Start the machine in mixer mode by means of the button “1”.
- Start pouring the eggs already beaten in the feeder funnel
- After the eggs were poured, wait for the dough to be ready (about 15 min)
- Shut down the machine
Extrusion
- Start the machine in extrusion mode through button 1 and draw roughly 50 g of product to clean the extrusion channel.
- Switch the machine off and replace the dough die with the desired die inside the ring.
- Start the machine in extrusion mode through button 1.
- The feeder screw will put pressure on the pasta. As soon as the pasta reaches adequate pressure, it will start being extruded.
- Take the pasta leaving the die and cut it with a knife to the desired length.
- Switch the machine off when the tank is empty.
Using the dough cutter
- Attach the pasta cutter accessory “1” to the front pins of the pasta machine
- Insert the plug “2” into the power outlet
- Start the machine in extrusion mode
- Intervene on potentiometer “3” to adjust the speed of the pasta cutter to cut the pasta to the desired length.

Maintenance
Prescriptions
WARNING!
All maintenance and cleaning interventions must only be carried out with the machine shut down and disconnected from the mains. The area where maintenance is performed must always be clean and dry. Do not allow unauthorized personnel to operate on the machine. Any possible replacement of components, including the replacement tools, must be carried out with original spare parts by authorized workshops or directly by the manufacturer.
Lubrication
The machine does not require lubrication.
Cleaning the machine
WARNING!
Unplug the machine from the mains before cleaning. Do not wash the machine with a pressurized water jet. Use nontoxic detergents expressly intended for the cleaning of food components.
Removing the tools
At the end of each processing cycle, remove the utensils to optimally clean the machine.
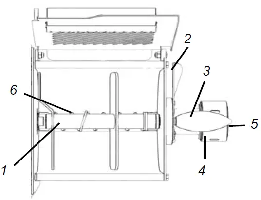
Removing the mixer blade
- Put the blade “1” in the position.
- Raise the lever “2” and remove the bar “3”.
- Remove blade “1” by sliding it upwards.
WARNING!
If the blade is not locked in position as shown in fig. 7.2.1 it cannot be removed.
CAUTION!
If the blade is not lying in the position shown in Fig. 7.2.1, it cannot be removed.
Removing the propeller
- loosen the ring 4
- remove the die 5
- remove the spiral 6

WARNING!
After each kneading, ensure the propelling pivots are thoroughly cleaned so the blade and Archimedean screw can be properly assembled.
Waste Electrical and Electronic Equipment WEEE
Pursuant to article 13 of the Legislative Decree n. 151, July 25th, 2005 “implementation of Directive 2002/95/EC, 2002/96/EC and 2003/108/EC, related to the restrictions on the use of hazardous substances in electrical and electronic equipment, as well as waste disposal”.
The crossed bin symbol on the device or its packaging indicates that, at the end of its life, the product must be collected separately from other waste. The separate collection at the end of this machinery life is organized and managed by the manufacturer. The user who wishes to dispose of this equipment must contact the manufacturer and follow the procedure adopted to allow separate collection at the end of life. The appropriate separate collection and subsequent decommissioning for recycling, treatment, and environmentally compatible disposal help prevent negative impacts on the environment and health and promote the reuse and/or recycling of materials the equipment is made of.
Illegal disposal of the product involves the application of administrative sanctions provided by law.
Troubleshooting
Troubleshooting
| Problem | Cause | Solutions |
|
The machine does not start up | The differential switch is positioned to “0”. | Bring the switch to the “I” position |
| The main switch is positioned to “0” | Bring the switch to the “I” position | |
| The start-up button is faulty | Contact the Technical Assistance | |
| Ensure all safety devices are enabled and working properly | Check the safety devices and protections | |
| The fun is not working | The bimetal switch has burned out | Contact the Technical Assistance |
| The fun got burnt out | ||
| The dough does not flow out | The extruder is dirty | Clean the extruder |
| The machine is running in mixing mode | Shut the machine down and push the extruding mode button |























