CIHDD700 70cm Induction Downdraft Cooker Hood
Instruction Manual
CIHDD700 70cm Induction Downdraft Cooker Hood
NOTICE
For cooker hood
This appliance can be used by children aged 8 years and above and persons with reduced physical, sensory or mental capabilities or lack of experience and knowledge if they have been given supervision or instruction concerning the use of the appliance in a safe way and understand the hazards involved. Children shall not play with the appliance. Cleaning and user maintenance shall not be made by children without supervision
If the supply cord is damaged, it must be replaced by the manufacturer, its service agent, or similarly qualified persons in order to avoid a hazard.
The instructions shall state the substance of the following:
- there shall be adequate ventilation in the room where the range hood is used at the same time as appliances burning gas or other fuels (not applicable to appliances that only discharge the air back into the room);
- the details concerning the method and frequency of cleaning;
- there is a fire risk if cleaning is not carried out in accordance with the instructions;
- CAUTION: Accessible parts may become hot when used with cooking appliances.
The installation instructions shall include the substance of the following: - the air must not be discharged into a flue that is used for exhausting fumes from appliances burning gas or other fuels (not applicable to appliances that only discharge the air back into the room);
- regulations concerning the discharge of air have to be fulfilled.
The installation instructions for range hoods with accessible metallic enclosures of class II construction shall include details that indicate the location and maximum permitted lengths for any fixing or mounting screw or another fixing device that penetrates into the range hood to attach an accessory such as a facia or duct fitting.
Where fixing or mounting screws, or other fixing devices are used, that penetrate into the range hood with an accessible metallic enclosure of class II construction, to attach an accessory, the instructions shall indicate the required location of these screws or fixing devices and include the substance of the following warning.
Warning: Failure to install the screws or fix the device in accordance with these instructions may result in electrical hazards
This appliance generates a magnetic field in the direct vicinity.
ATTENTION: People with PACEMAKERS must ensure that their pacemaker has been designed in conformity with the norms in force. It is recommended that the manufacturer or your doctor be consulted to verify any incompatibility.
This appliance generates a short-range magnetic field therefore people with other types of electrical medical equipment, such as hearing aids for the deaf, must ensure they confirm the norms regarding electromagnetic disturbances.
- This appliance has been designed for family use only. In case of doubts or questions, please contact the manufacturer.
- Keep the packing material away from children (plastic bags, parts in foamed plastic, etc.) they could be potentially dangerous.
- To prevent electrical shocks, contact the technical service center for any repairs.
- Make sure that installation and electrical connections are carried out by qualified personnel, following the manufacturer’s instructions and in conformity with local norms in force.
- The hob must be installed and grounded by qualified personnel. Do not repair or replace any part of the appliance unless specifically recommended in this manual. All other interventions must be carried out by qualified technicians.
- If the supply cord is damaged, it must be replaced by the manufacturer, its service agent, or similarly qualified persons in order to avoid a hazard.
- Our company won’t take any responsibility for any hurt and loss caused by improper installation, operation, or repair.
- Children shall not operate the appliance.
- This hob comes with a cooling fan with an air vent underneath the worktop itself. If there is a drawer under the worktop, do not put any paper or small light objects in it as they could be sucked up by the fan, damaging it or compromising its function.
- Do not use aluminum foil to protect parts of the hob.
- Do not leave the kitchen unattended when cooking foods where high contents of oil or fat are used, the oil could catch fire. If the oil catches fire never put it out with water. Immediately suffocate the fire with a lid and turn off the hob.
- Do not cook on the hob if the glass is broken. Water or cleaning products could filter through the breakage and cause electrical shocks. Immediately contact qualified personnel as soon as you notice a breakage.
- Keep the area around the hob free from combustible material (plastic, paper, etc.) or flammable liquids, these can catch fire, metal parts can heat up and cause burns.
- Children must not be alone in the kitchen when the hob is in use.
- After use, when the cooking element or entire hob is turned off, a residual heat indicator will come on, showing an H (hot) for each cooking area that was used: this indicates that the corresponding cooking area is still dangerous.
- After use, turn off the hob using the command device, and do not rely on the pan detector.
- Do not heat up food in hermetically closed containers before opening them: they can explode! This warning must also be observed for other types of cooking surfaces.
- Do not place metal utensils on the hob, they could heat up and cause serious burns.
- To prevent improper use by children or others and to protect against accidental start-up of the hob during cleaning, the appliance has a child lock.
- WARNING: If the surface is cracked, switch off the appliance to avoid the possibility of electric shock.
- The instructions for hobs shall state that a steam cleaner is not to be used.
- Metallic objects such as knives, forks, spoons, and lids should not be placed on the hob surface since they can get hot.
- The instructions for hobs shall state that the appliance is not intended to be operated by means of an external timer or separate remote-control system.
- WARNING: The appliance and its accessible parts become hot during use. Care should be taken to avoid touching heating elements.
- WARNING: Unattended cooking on a hob with fat or oil can be dangerous and may result in fire.
- WARNING: Danger of fire: do not store items on the cooking surfaces.
- Children less than 8 years of age shall be kept away unless continuously supervised.
- This appliance is not intended for use by persons (including children) with reduced physical, sensory or mental capabilities, or lack of experience and knowledge unless they have been given supervision or instruction concerning the use of the appliance by a person responsible for their safety. Children should be supervised to ensure that they do not play with the appliance.
PRODUCT STRUCTURE
For the product structure, refer to Pic below. 
HOW INDUCTION HEATING WORKS
There is an electronic circuit inside the induction hob that powers and commands a coil. This creates a magnetic field that activates when it comes into contact with suitable pots and pans(magnetic material).
The pan on the hob warms up instantly, while the hob remains cold. There is no loss of heat. The heat generated in the pan lets you cook quickly, saving time and energy. 
INSTALLATION
- Installation tips
The hob can be installed on a top with a flat surface and a thickness of between 30 and 40mm. The cupboard underneath the top should leave enough sufficient area to accommodate the inlet plenum, blower cavity, inlet pipe, outlet pipe, and so on, and this area should make sure good ventilation and heat dissipation is provided. Refer to Pic below.
Preparing the unit for a built-in appliance

- Make a square opening on the table surface with a size of 680*490mm, refer to Pic above for the specification.
- After drilling a hole in the table surface, carefully remove shavings or sawdust before inserting the appliance, as they could be sucked up by the appliance and compromise its function.
- Make sure the table surface is level and square and that no part interferes with the space required for installation. The kitchen units that are in direct contact with the appliance must be heat-proof(min. 80°).
- Installing the appliance
- Dismantle the package and take out the instruction manual.
- 6pcs ST4*8mm screws will be used to install the two cabinet supporting feet onto the blower cavity, from low to high, there are totally 4 groups of mounting holes on the supporting feet, and the installation height of the cabinet can be adjusted by the customer according to the interior space of the cupboard. The metal end of the cabinet is the inlet, while the plastic end is an outlet. In the direction of the outlet, open a hole of about φ160mm in the wall, corresponding to the 4 groups of mounting holes on the supporting feet. The distance between the center of the hole on the wall and the floor is 125mm,150mm,175mm, and 200mm from low to high. See Pic 1.
- According to the interior space of the cupboard, drill four φ8mm holes and put in four φ8mm wall plugs. See Pic 2.

- Use 4pcs ST4*30mm screws to fix the blower cavity on the 4 installation holes of the cupboard. See Pic 3.

- Install the V-flap onto the outlet of the blower cavity, please note the pin on the v-flap should be faced outwards, refer to pic 4, then lay the expansion pipe on the inlet and outlet, and tie it tight with a cable tie, lead the outlet pipe to the outlet hole on the wall afterward. See Pic 5.
- Put a towel or cloth on the table surface. Place the glass face down on the protected surface. See Pic 6.

- Apply the strip seal to the edge of the bottom of the hob, leaving about 3mm from the edge of the glass. Apply the seal all around the circumference. Cut any excess and bring the two ends of the seal together so they match. See Pic 7.
- Use 4 pcs ST4*8mm screws to install the four buckles onto the induction hob. See Pic 8.

- Four pcs ST4*8mm screws will be used to fix the inlet plenum assembly onto the appliance. See Pic 9.
- Put the induction cooker into the hole of the operation table surface, adjust the position and make it in the center of the hole. See Pic 10.

- Lay the inlet pipe to the outlet of the inlet plenum, then tie it tight with a cable tie. See Pic 11.
- Assemble the oil cup well according to the direction shown in the photo. See Pic 12.

- If you want to recirculate the hood put the carbon filter on the back side of the grease filter, insert two steel wire into the frame of the grease filter, one on each side, and make sure the steel wire fix the carbon filter onto the grease filter. See Pic 13. Please note that the carbon filter is optional and not included in the product.

- Fit up the filter. See Pic 14.
- Install the inlet cover and inlet mesh well. (There are two kinds of materials for the inlet mesh, stainless steel and spray black, you can choose either one of them.)See Pic 15.

- Connect the switch wire of the cooker hood well. See Pic 16.
- Combine the “1” “2” and “3” remarks on the plug and the socket, and connect the connecting wire of them according to the direction shown in the photo till heard the sound of “ka”, which means both connecting wires have already fix firmly. See Pic 17.

- Installation is finished. See Pic 18 & 19 below.

Electrical connection safety warning
- Disconnect the appliance before any intervention. Disregarding this could cause electric shock and danger of death.
- The appliance must be installed by qualified personnel with all electrical installation requisites in compliance with the local norms in force.
- Make sure that the voltage of your electric network is the same voltage as indicated on the serial number plate.
- The power supply cable must be long enough to allow the hob to be removed from the work surface and it must be positioned in such a way as to prevent damage or overheating caused by contact with parts or appliances underneath.
- Grounding of the appliance is compulsory, for this reason, all electrical wires and grounding must have a suitable section. Ensure that grounding is efficient.
- Multiple switches with a 3mm contact separation or more must be foreseen when installing the hob.
- No responsibility is accepted for damage to things or injury to persons if these result from the nonobservance of these requisites.
Electrical connection
- If the appliance has a provided power supply cable, it can be used directly. Otherwise, the proper power supply cable it can choose included: H05VV-F, H05RN-F, H05RR-F, or a 3-core cable with grounding. The diameter of the cable must be at least 4mm².
- Use a straight screwdriver to prize up the buckle in the two square holes of the terminal block cover, and open the terminal block. See Pic 1 below.
- Take up the exposed junction with a length of 50mm power supply cable end, to place the L wire(brown) in connection number “3” of the cable slot, and the N wire(blue) MUST be placed in connection number “4” of the cable slot, the “green-yellow” earth wire must be connected to the terminal marked
. Terminal block connection diagram see Pic 2 below. - Use a cable clamp to clamp the power supply cable, and screw tight the screws.
- Close and buckle the terminal block cover.
- Take up the other exposed junction with a length of 170mm power supply cable end, then safely connect into the preset all-pole disconnected power circuit breaker.

OPERATION

F: cooker hood control panel
G: right induction hob control panel
H: inlet area
Introduction of the control panel
A: front left burner:φ140mm, power 1500W
B: rear left burner:φ180mm, power 2500W
C: rear right burner:φ180mm, power 2500W
D: front right burner:φ140mm, power 1500W
E: left induction hob control panel
Induction hob
Induction hob control panel
Note: The left and right induction hob control panels are of the same function, and they can work separately. Here, you will see an overview of the control panel for the induction hob. 
- On/off button
- Child lock
- Plus button
- Minus button
- Digital display
- front burner selector knob 7. rear burner selector knob
- Timer
- On/off indicator light
- Child lock indicator light
Induction hob operation
- Self-check: Plug in and connect to the electrical supply, the induction hob, and the buzzer will sound shortly once, all indicator lights and the digital tube will light for 1s, then the On/off indicator light flashes, and the Child lock indicator light is a long list, the induction hob is on standby.
- Power on: When the appliance is on standby, long press the Child lock button, Child the lock indicator light will be off, press the On/off button at this time, and the appliance will enter into power on status, and the On/off indicator light is long lit, the digital tube will display “—-”, the 20s without any operation and the appliance will enter standby mode.
- Heating: When the appliance is powered on, put a pot with food or water on the corresponding burner, press the front burner or rear burner selector knob to choose the burner, then the appliance will enter the front burner or rear burner heating mode.
After choosing the burner, the appliance works at speed 5 by default, the corresponding digital tube displays “5” and flashes. The speed can be adjusted by pressing “+” or “-” at this time, press the “+” key once, and the speed will shift up one level, continuously press the add key till the appliance is at the highest speed; press the “-” key once, the speed will shift down one level, keep press the Dec key till the appliance at the lowest speed.
When the speed is chosen, the appliance will heat at that speed level, and digital the tube will be long-lit.There are 9 speed levels in total:1,2,3,4,5,6,7,8,9.The highest speed is 9 while the lowest speed is 1. If chosen 0 levels, the appliance will not work. - Timer: Timing can be carried out in any cooking area. Cooking time can be set as follows: Activate the desired cooking area and set the power. Using the timer function sensor to carry out the timer that corresponds with the chosen cooking area.
When the appliance is at work, press the front burner or rear burner selector knob to choose the burner, then press the “Timer” button, the digital tube will display the cooking time and it will flash, here you can press “+” or “-” button to set the cooking time. Every touching of the “+” button will make 1 minutes increase, long press the “+” button, the time will increase quickly. Every touching of the “-” button will make 1 minutes decrease, long pressing the “-” button, the time will decrease quickly. The acquiesce timing is “00” minutes, and can be set from 01-99 minutes by cycles. - Child lock: The Child lock indicator light long lit means the appliance is locked, and it needs a long pressing of the child lock button to unlock. The lock function can be activated when the power level is set or when the hob is off. If the hob is on, the child lock function blocks all the sensors except for the general On/off sensor. When the hob is off, the child lock function blocks all the sensors including the general On/off sensor. If the Child lock indicator light is off, it means the appliance is unlocked, the control panel can be operated, however, the appliance will lock again if pressing the Child lock button now. Under unlocked status, without any operations in 10s, the hob will enter into lock status automatically.
- Power off: When the appliance is at work if pressing the On/off button, the appliance will turn off immediately. In the 20s without any operation, the appliance will enter stand-by mode, and the fan of the appliance will delay radiating for 5 minutes automatically after powering off.
Pots and pans and how to use them
- The pots and pans that can be used on this hob must be made of ferromagnetic material. They can be made of enameled steel, cast iron, or special pans of stainless steel for induction. The diameter of the pan should be at least 11cm.
- To make sure a pan is suitable, try using a magnet to see if it sticks to the bottom of the pan. Never use normal thin steel or anything containing even just an amount of glass, terracotta, copper, or aluminum.
- The display of the cooking area will show if the pan is suitable, if the power indicator flashes the pan is not suitable or the diameter of the bottom is too small for the diameter of the cooking area.
- The pots and pans must be placed precisely in the middle of the cooking area.
- In some cooking areas, internal diameter is indicated, with a lighter outline, which advises the user to go to a smaller cooking area, if available, with a smaller diameter pan. This is to obtain optimum performance and efficiency. You can however use pans with smaller diameters than this limit.
- Prevent the pot from dry burning during the heating process.

Cooker hood
- Cooker hood control panel
Note: The left/right induction hob control panels and the cooker hood control panel can work separately. Here, you will see an overview of the control panel for the cooker hood.
- On/off button
- Digital display
- Minus button

- Plus button
- Timer
- Timer indicator light
- On/off indicator light
Cooker hood operation
- Plug the hood: After connecting to power, the cooker hood buzzer will ring shortly for a sound, all indicator lights and the digital tubes will light for 1s, then be off and the cooker hood is in standby mode.
- Power on/off: When the cooker hood is on standby, press the On/off button, the On/off indicator light will be on, the cooker hood will work at the first speed by default, and the digital tube will display “1”; Or, the cooker hood will work at the speed it works last time, and the digital tube will display corresponding speed level.
When the cooker hood is at work, press the On/off button, and the cooker hood will be turned off, indicator lights and the digital tube will be off as well, and the cooker hood enters standby mode. - “+” /”-” button: The cooker hood has three operating speeds, low, medium, and high. Press the “+” button in standby mode, the cooker hood will work at low speed, every touching of the “+” button will make a 1-speed increase, till the highest speed. Keep pressing the “-” button when the cooker hood is in use, the speed will decrease one level till no speed will turns off.
- Timer: When the cooker hood is in use, press the timer button, Timer indicator light will be lit, timing function will start up. The timer setting is 5mins by default and could be a repeat set. When the time is up, the cooker hood will be turned off automatically. When the timer is set, if adjusting the speeds, the cooker hood will go out of the timer function.
MAINTENANCE AND CLEANING
Daily maintenance
- Periodically check that dust does not deposit under the fan or in the discharge openings, which could obstruct ventilation for cooling the electronic system, reducing the efficiency of your hob.
- The hob could be damaged if hard and sharp-edged objects fall on it, it is recommended that such objects be kept away from the hob where they cannot fall on it.
- Do not put hot pans on the control area or on the edge of the hob, and do not use pans with a raised design or pattern on the base, they could scratch the hob.
- Never use pan support or boiler cradle to avoid damaging the glass hob.
- Never make the cleaning when the hob surface is at high temperature.
- A steam cleaner or high-pressure cleaner is not to be used.
- When the cooker hood is in use, never block the inlet, moreover, food residue, soup, etc. can not be inflowed into the inlet plenum.
Cleaning techniques
- Please shut off the power and pull out the plug before cleaning the appliance.
- Clean the appliance until it cools down completely.
- Cleaning the hob glass: Dry any splashes with a damp sponge or paper towel, rinse and dry. If any stains remain, use some vinegar, rinse and dry. Or apply a small amount of cream detergent for hobs, when dry, shine the surface with a soft cloth or paper.
- When chemical products heat up they can corrode and damage the glass, moreover, the fumes can be dangerous to your health.
- Do not use these products to clean the glass hob: Abrasive powders or detergents, spray products for ovens, whitening products, sponges with abrasive surfaces, steel wool balls, or synthetic ones. These products could seriously damage your hob.
- Clean the surface when it is completely cold except for the following: dried sugar, syrupy sugar, tomato sauce, and milk, these must be removed immediately with the scraper.
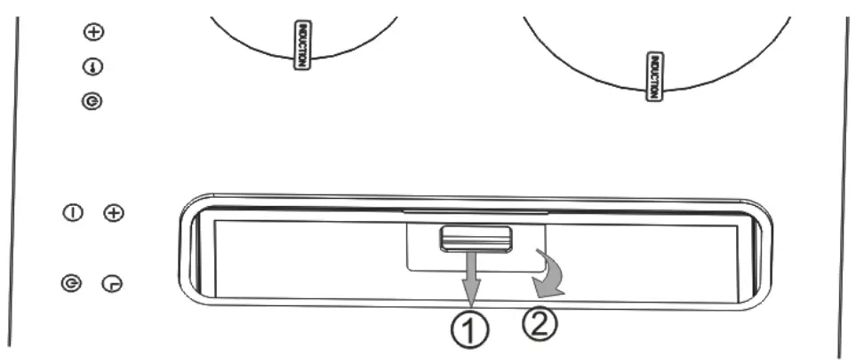
- The mesh filters of the cooker hood must be cleaned and changed regularly, and the cleaning method is as follows:
A. Open and take down the filters referring to steps ①&② below.
B. Put the filters into 40-50℃ water and soak them for about 2-3 minutes with
a grease-loosening detergent then brush them gently with a soft brush. Please do not apply too much pressure, avoid damaging it. - The filter is metal products, it is advisable not to use a rinse aid that will corrupt metals.
- The oil cup underneath the inlet plenum should be cleaned regularly to avoid oil spills.

TECHNICAL PARAMETER & CIRCUIT DIAGRAM
Technical parameter
| Product model | 136A2 70CM |
| Voltage/frequency | AC220-240V/50Hz |
| Power consumption | 8380W(induction hob 8KW & cooker hood 380W) |
| Cooker hood expansion pipe diameter | p 150mm |
| Cooker hood max airflow | 504m3/h |
| Cooker hood wind pressure | >327Pa |
| Noise | <69db |
| Working environmental temperature | <45 °C |
| Storage environmental temperature | 480x430x510 mm |
| Storage environmental relative humidity | <90% |
Circuit diagram

TROUBLESHOOTING
| Fault Code | Possible Cause | Description |
| EO | No pan or pot, or their size, material, etc. is not suitable, or not placed precisely in the middle of the cooking area. | If no suitable pan or pot is placed on after the 60s, the hob will turn off automatically; if a suitable pan or pot is placed within 60s, the hob will start to work. |
| El | The voltage is too low. | Lower than AC 160V. |
| E2 | The voltage is too high. | High than AC 270V. |
| E3 | IGBT overheat. | IGBT reaches 105±5°C for 3s(It can recover automatically when temperature decrease 50°C-70°C). |
| E4 | Hob surface sensor open- circuit | Power on and judge within 2 minutes. |
| Hob surface sensor short- circuit | Power on and judge within 10S. | |
| ES | IGBT sensor open-circuit | Power on and judge within 2 minutes. |
| IGBT sensor short-circuit | Power on and judge within 10S. | |
| E6 | Hob surface overheats. | Hob surface temperature is higher than the set value. |
| E7 | Hob surface senor becomes invalid. | |
| E9 | Communication failures. | Unplug or poor contact. |
| Eb | Line fault. | The Coil panel is not connected. |
| H | Hob surface is of high temperature. | After the hob is off, if the hob surface temperature is too high, it will display “H”, and the fan will delay working for 5 minutes. |
ENVIRONMENTAL PROTECTION:
This product is marked with the symbol on the selective sorting of waste electronic equipment. This means that this product must not be disposed of with household waste but must be supported by a system of selective collection in accordance with Directive 2002/96/EC. It will then be recycled or dismantled to minimize impacts on the environment, electrical and electronic products are potentially dangerous for the environment and human health due to the presence of hazardous substances.
For more information, please contact your local or regional authorities.
Note:
a. In order to reduce the environmental impact (e.g. energy use) of the cooking process, please be sure that your product is installed according to the user manual, keep the operation place ventilated, and keep the extraction duct as direct and short as possible as it can be.
b. For the product with the manual operation mode, we suggest switching the motor off within 10 minutes after finishing the cooking process.
c. Please be sure to dismantle related components according to the user manual when maintaining for non-destructive, protect the parts to make the re-installed work can be favoring and avoid damage.
DISPOSAL OF THE APPLIANCE
Old appliances should not simply be disposed of with normal household waste but should be delivered to a collection and recycling center for electric and electronic equipment. A symbol shown on the product, the instruction manual, or the packaging shows that it is suitable for recycling.
Materials used inside the appliance are recyclable and are lapelled with information concerning this By recycling materials or other parts from used devices you are making a significant contribution to the protection of our environment.
Information on appropriate disposal centers for used devices can be provided by your local authority.
ENERGY DATASHEET
| Symbol | Value | Unit | |
| Model identification | – | – | |
| Type of hob | – | Electric hob | – |
| Number of cooking zones and/or areas | – | Four cooking zones | – |
| Heating technology(induction cooking zones and cooking areas, radiant cooking zone, solid plates) | – | Induction cooking zones | – |
| For circular cooking zones or area: diameter of useful surface area per electric heated cooking zone, rounded to the nearest 5 mm | φ | Left front zone:14,0 Left rear zone:18,0 Right front zone:14,0 Right rear zone:18,0 | cm |
| For non-circular cooking zones or areas: length and width of useful surface area per electric heated cooking zone or area, rounded to the nearest 5 mm | L W | – | cm |
| Energy consumption per cooking zone or area calculated per kg | select,c cooking | Left front zone:189,0 Left rear zone:175,3 Right front zone:188,3 Right rear zone:188,7 | Wh/kg |
| Energy consumption per hob calculated per kg | electric hob | 185,3 Wh/k | Wh/kg |

Preparing the unit for a built-in appliance




























