
USER MANUAL
Thank you for purchasing this Samsung product. To receive more complete service, please register your product at www.samsung.com
Model ……….Serial No.
If you have any questions, please call us at 1-800-SAMSUNG (1-800-726-7864) for assistance.
Figures and illustrations are provided for reference only and may differ from the actual product appearance. Product design and specifications may change without notice.
Contact SAMSUNG WORLDWIDE
If you have any questions or comments relating to Samsung products, please contact the Samsung service center.
Before Reading This User Manual
This TV comes with this User Manual and an embedded e-Manual (
> Settings > e-Manual). On the website (www.samsung.com), you can download the manuals and see their contents on your PC or mobile device.
Warning! Important Safety Instructions
Please read the Safety Instructions before using your TV. Refer to the table below for an explanation of symbols that may be on your Samsung product.
CAUTION
RISK OF ELECTRIC SHOCK. DO NOT OPEN.
CAUTION: TO REDUCE THE RISK OF ELECTRIC SHOCK, DO NOT REMOVE THE COVER (OR BACK). THERE ARE NO USER-SERVICEABLE PARTS INSIDE. REFER ALL SERVICING TO QUALIFIED PERSONNEL.
| This symbol indicates that high voltage is present inside. It is dangerous to make any kind of contact with any internal part of this product. | |
![]() | This symbol indicates that this product has included important literature concerning operation and maintenance. |
![]() | Class II product: This symbol indicates that a safe connection to electrical earth (ground) is not required. If this symbol is not present on a product with a power cord, the product MUST have a reliable connection to the protective earth (ground). |
| AC voltage: Rated voltage marked with this symbol is AC voltage. | |
| DC voltage: Rated voltage marked with this symbol is DC voltage. | |
| Caution. Consult instructions for use: This symbol instructs the user to consult the user manual for further safety-related information. |
Power
- Do not overload wall outlets, extension cords, or adaptors beyond their voltage and capacity. It may cause fire or electric shock. Refer to the power specifications section of the manual and/or the power supply label on the product for voltage and amperage information.
- Power supply cords should be placed so that they are not likely to be walked on or pinched by items placed upon or against them. Pay particular attention to cords at the plug end, at wall outlets, and at the point where they exit from the appliance.
- Never insert anything metallic into the open parts of this apparatus. This may cause electric shock.
- To avoid electric shock, never touch the inside of this apparatus. Only a qualified technician should open this apparatus.
- Be sure to plug in the power cord until it is firmly seated. When unplugging the power cord from a wall outlet, always pull on the power cord’s plug. Never unplug it by pulling on the power cord. Do not touch the power cord with wet hands.
- If this apparatus does not operate normally – in particular, if there are any unusual sounds or smells coming from it – unplug it immediately and contact an authorized dealer or Samsung service center.
- To protect this apparatus from a lightning storm, or to leave it unattended and unused for a long time (especially when a kid, the elderly, or the disabled is left alone), be sure to unplug it from the wall outlet and disconnect the antenna or cable system. – Accumulated dust can cause an electric shock, an electric leakage, or a fire by causing the power cord to generate sparks and heat or by causing the insulation to deteriorate.
- Use only a properly grounded plug and wall outlet. – An improper ground may cause electric shock or equipment damage. (Class l Equipment only.)
- To turn off this apparatus completely, disconnect it from the wall outlet. To ensure you can unplug this apparatus quickly if necessary, make sure that the wall outlet and power plug are readily accessible.
Installation
- Do not place this apparatus near or over a radiator or heat register, or where it is exposed to direct sunlight.
- Do not place vessels (vases etc.) containing water on this apparatus, as this can result in a fire or electric shock.
- Do not expose this apparatus to rain or moisture.
- Be sure to contact an authorized Samsung service center for information if you intend to install your TV in a location with heavy dust, high or low temperatures, high humidity, chemical substances, or where it will operate 24 hours such as in an airport, a train station, etc. Failure to do so may lead to serious damage to your TV.
- Do not expose this apparatus to dripping or splashing.
Mounting the TV on a wall
If you mount this TV on a wall, follow the instructions exactly as set out by the manufacturer. If it is not correctly mounted, the TV may slide or fall and cause serious injury to a child or adult and serious damage to the TV.
- To order the Samsung wall mount kit, contact the Samsung service center.
- Samsung Electronics is not responsible for any damage to the product or injury to yourself or others if you choose to install the wall mount on your own.
- Samsung is not liable for product damage or personal injury when a non-VESA or non-specified wall mount is used or when the consumer fails to follow the product installation instructions.
- You can install your wall mount on a solid wall perpendicular to the floor. Before attaching the wall mount to surfaces other than plaster board, contact your nearest dealer for additional information. If you install the TV on a ceiling or slanted wall, it may fall and result in severe personal injury.
- When installing a wall mount kit, we recommend you fasten all four VESA screws.
- If you want to install a wall mount kit that attaches to the wall using two top screws only, be sure to use a Samsung wall mount kit that supports this type of installation. (You may not be able to purchase this type of wall mount kit, depending on the geographical region.)
- Do not mount the TV at more than a 15-degree tilt.
- Standard dimensions for wall mount kits are shown in the table in the Quick Setup Guide.
Do not install your wall mount kit while your TV is turned on. This may result in personal injury from electric shock. - Do not use screws that are longer than the standard dimension or do not comply with the VESA standard screw specifications. Screws that are too long may cause damage to the inside of the TV set.
- For wall mounts that do not comply with the VESA standard screw specifications, the length of the screws may differ depending on the wall mount specifications.
- Do not fasten the screws too firmly. This may damage the product or cause the product to fall, leading to personal injury. Samsung is not liable for these kinds of accidents.
- Always have two people mount the TV onto a wall.
Providing proper ventilation for your TV
When you install your TV and One Connect Box, maintain a distance of at least 4 inches (10 cm) between the One Connect Box with other objects (walls, cabinet sides, etc.) to ensure proper ventilation. Failing to maintain proper ventilation may result in a fire or a problem with the product caused by an increase in its internal temperature. - When you install your TV with a stand or a wall mount, we strongly recommend you use parts provided by Samsung Electronics only. Using parts provided by another manufacturer may cause difficulties with the product or result in injury caused by the product falling.
Safety Precaution
Caution: Pulling, pushing, or climbing on the TV may cause the TV to fall. In particular, ensure your children do not hang on or destabilize the TV. This action may cause the TV to tip over, causing serious injuries or death. Follow all safety precautions provided in the Safety Flyer included with your TV. For added stability and safety, you can purchase and install the anti-tip device, referring to “Preventing the TV from falling.”
WARNING: Never place a television set in an unstable location. The television set may fall, causing serious personal injury or death. Many injuries, particularly to children, can be avoided by taking simple precautions such as:
- Always use cabinets or stands or mounting methods recommended by Samsung.
- Always use furniture that can safely support the television set.
- Always ensure the television set is not overhanging the edge of the supporting furniture.
- Always educate children about the dangers of climbing on furniture to reach the television set or its controls.
- Always route cords and cables connected to your television so they cannot be tripped over, pulled, or grabbed.
- Never place a television set in an unstable location.
- Never place the television set on tall furniture (for example, cupboards or bookcases) without anchoring both the furniture and the television set to a suitable support.
- Never place the television set on cloth or other materials that may be located between the television set and supporting furniture.
- Never place items that might tempt children to climb, such as toys and remote controls, on the top of the television or furniture on which the television is placed. If the existing television set is going to be retained and relocated, the same considerations as above should be applied.
- When you have to relocate or lift the TV for replacement or cleaning, be sure not to pull out the stand.
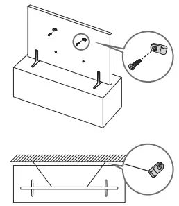
Preventing the TV from falling
- Using the appropriate screws, firmly fasten a set of brackets to the wall. Confirm that the screws are firmly attached to the wall.
– You may need additional material such as wall anchors depending on the type of wall. - Using the appropriately sized screws, firmly fasten a set of brackets to the TV.
– For the screw specifications, refer to the standard screw part in the table on the Quick Setup Guide. - Connect the brackets fixed to the TV and the brackets fixed to the wall with a durable, heavy-duty string, and then tie the string tightly.
– Install the TV near the wall so that it does not fall backward.
– Connect the string so that the brackets fixed to the wall are at the same height as or lower than the brackets fixed to the TV.
Precautions when installing the TV with a stand
When you install the TV with a stand, avoid placing the stand on the back part of the table surface. Failure to do so may cause the motion sensor at the bottom of the TV not to work properly.
Operation
- This apparatus uses batteries. In your community, there might be environmental regulations that require you to dispose of these batteries properly. Please contact your local authorities for disposal or recycling information.
- Store the accessories (remote control, batteries, or etc.) in a location safely out of the reach of children.
- Do not drop or strike the product. If the product is damaged, disconnect the power cord and contact a Samsung service center.
- Do not dispose of remote control or batteries in a fire.
- Do not short-circuit, disassemble, or overheat the batteries.
- CAUTION: There is a danger of an explosion if you replace the batteries used in the remote with the wrong type of battery. Replace only with the same or equivalent type.
WARNING – TO PREVENT THE SPREAD OF FIRE, KEEP CANDLES AND OTHER ITEMS WITH OPEN FLAMES AWAY FROM THIS PRODUCT AT ALL TIMES.
Caring for the TV
- To clean this apparatus, unplug the power cord from the wall outlet and wipe the product with a soft, dry cloth. Do not use any chemicals such as wax, benzene, alcohol, thinners, insecticide, air fresheners, lubricants, or detergents. These chemicals can damage the appearance of the TV or erase the printing on the product.
- The exterior and screen of the TV can get scratched during cleaning. Be sure to wipe the exterior and screen carefully using a soft cloth to prevent scratches.
- Do not spray water or any liquid directly onto the TV. Any liquid that goes into the product may cause a failure, fire, or electric shock.
Internet security
Samsung takes a number of steps to protect its Internet-compatible Smart TVs against unauthorized incursions and hacking. For example, certain sensitive communications between the TV and the Internet servers are encrypted. In addition, the TV’s operating system has adopted controls to prevent the installation of unauthorized
applications. Although we take steps to protect your Smart TV and personal information, no Internet-connected device or transmission is completely secure. We, therefore, encourage you to take additional steps to safeguard your TV, secure your Internet connection, and minimize the risk of unauthorized access. These steps are listed below:
- When Samsung releases software updates to improve the security of your TV, you should promptly install these updates. To automatically receive these updates, turn on Auto Update in the TV’s menu (
>Settings > Support > SoftwareUpdate > Auto Update). When an update is available, a popup message appears on the TV screen. Accept the software download and update by selecting Yes when prompted. Take steps to secure your wireless access point and network. Your access point’s manual should provide additional details about how to implement the following measures:
– Secure your wireless access point’s management settings with a unique password to prevent unauthorized changes to security-related settings.
– Implement standard encryption (e.g., WPA2 encryption) on your wireless access point to secure your wireless network signal.
– Secure access to your wireless network with a hard-to-guess password.
– Confirm your access point’s firewall setting is enabled (if so equipped).
– Make sure that all your Internet-connected devices are behind your network’s firewall.
– If your access point or modem has a standby mode button, use it to disconnect your home network from the Internet when it is not in use. - Use strong passwords for all your Internet accounts (Netflix, Facebook, etc.).
- If any unexpected messages appear on your TV screen requesting permission to link a device or enable a remote session, do NOT accept.
- Do not visit suspicious websites and do not install any suspicious programs. We recommend that users install only those authorized apps provided by Samsung through
Samsung Smart Hub.
Package Content
Make sure the following items are included with your TV. If any items are missing, contact your dealer.
- Samsung Smart Remote
- User Manual
- Warranty Card / Regulatory Guide
- Power Cord
- One Connect Box
- One Invisible Connection
- The items’ colors and shapes may vary depending on the models.
- Cables not included can be purchased separately.
- Check for any accessories hidden behind or in the packing materials when opening the box.
The screen can be damaged from direct pressure when handled incorrectly. As shown in the figure, make sure to grip the edges of the screen when you lift the TV.
Connecting the TV to the One Connect Box
For more information about how to connect via the One Connect Box, refer to Quick Setup Guide.
Do not use the One Connect Box in the upsidedown or upright position.- Take care not to subject the cable to any of the actions below. The One Invisible Connection contains a power circuit.

CLASS 1 LASER PRODUCT (One Invisible Connection)
- Caution – Invisible laser radiation when open. Do not stare into the beam.
– Do not bend the One Invisible Connection cable excessively. Do not cut the cable.
– Do not place heavy objects on the cable.
– Do not disassemble either of the cable connectors. - Caution – Use of controls, adjustments, or the performance of procedures other than those specified herein may result in hazardous radiation exposure.
Initial Setup
When you turn on your TV for the first time, it immediately starts the Initial Setup. Follow the instructions displayed on the screen and configure the TV’s basic settings to suit your viewing environment.
- When installing the 43LS03A model as a wall mount, it can be installed vertically and used.
– Some features may not support portrait mode or full screen.
– The initial setup is optimized for landscape mode.
Using the TV Controller
You can turn on the TV with the TV Controller button at the lower right rear corner of the TV and then use the Control menu. The Control menu appears when the TV Controller button is pressed while the TV is On. - The screen may dim if the protective film on the bottom of the TV is not detached. Please remove the protective film.

A Control menu
B TV Controller button / Remote control sensor / Motion
Sensor
- TV mode
– Press: Move
– Press & Hold: Select - Art mode
– Press: Switch to the TV mode. - In Art mode, the Remote control sensor at the bottom of the TV remains off.
Setting the sound sensor
You can turn on or off the sound sensor by using its switch at the lower right rear corner of the TV.
With the TV on, slide up the switch to turn the sound sensor on or down the switch to turn it off. See the pop-up window on the TV to check whether the sound sensor is turned on or off.
- During analysis using data from the sound sensor, the data is not saved.
Troubleshooting and Maintenance
Troubleshooting
For more information, see “Troubleshooting” or “FAQ” in the e-Manual.
Settings > e-Manual > Troubleshooting or FAQ If none of the troubleshooting tips apply, please visit “www.samsung.com” and click Support or contact the Samsung service center.
- This TFT LED panel is made up of sub pixels which require sophisticated technology to produce. There may be, however, a few bright or dark pixels on the screen. These pixels will have no impact on the performance of the product.
- To keep your TV in optimum condition, upgrade to the latest software. Use the Update Now or Auto Update functions on the TV’s menu (
> Settings > Support > Software Update > Update Now or Auto Update).
The TV won’t turn on. - Make sure that the AC power cord is securely plugged into the One Connect Box and the wall outlet.
- Make sure that the wall outlet is working and the remote control sensor at the bottom of the TV is lit and glowing a solid red.
- Try pressing the TV Controller button at the lower right rear corner of the TV to make sure that the problem is not with the remote control. If the TV turns on, refer to “The remote control does not work.”
The remote control does not work.
- Check if the remote control sensor at the bottom of the TV blinks when you press the remote’s Power button.
– When the remote’s battery is discharged, turn over the remote control to charge with indoor light, or use the USB charging port. - Try pointing the remote directly at the TV from 5 ft. to 6 ft. (1.5-1.8 m) away.
- If your TV came with a Samsung Smart Remote (Bluetooth Remote), make sure to pair the remote to the TV.
Eco Sensor and screen brightness
Eco Sensor adjusts the brightness of the TV automatically. This feature measures the light in your room and optimizes the brightness of the TV automatically to reduce power
consumption. If you want to turn this off, go to
>Settings >General > Power and Energy Saving > Brightness Optimization.
The eco sensor is located at the bottom of the TV. Do not block the sensor with any object. This can decrease picture brightness.
Specifications and other information
Specifications
Display Resolution
3840 x 2160
Sound (Output)
43″-50″: 20 W
55″-75″: 40 W
Operating Temperature
50 °F to 104 °F (10 °C to 40 °C)
Operating Humidity
10 % to 80 %, non-condensing
Storage Temperature
-4 °F to 113 °F (-20 °C to 45 °C)
Storage Humidity
5 % to 95 %, non-condensing
Notes
- This device is a Class B digital apparatus.
- For information about the power supply, and more information about power consumption, refer to the information on the label attached to the product.
– On most models, the label is attached to the back of the TV. (On some models, the label is inside the cover terminal.)
– On One Connect Box models, the label is attached to the bottom of the One Connect Box. - To connect a LAN cable, use a CAT 7 (*STP type) cable for connection. (100/10 Mbps)
* Shielded Twisted Pair - The images and specifications of the Quick Setup Guide may differ from the actual product.
Decreasing power consumption
When you shut the TV off, it enters Standby mode. In Standby mode, it continues to draw a small amount of power. To decrease power consumption, unplug the power cord when you don’t intend to use the TV for a long time.
Licenses

The terms HDMI and HDMI High-Definition Multimedia Interface, and the HDMI Logo are trademarks or registered trademarks of HDMI Licensing LLC in the United States and other countries.
BN68-12151A
Country: CANADA
Samsung Service Center
1-800-SAMSUNG (726-7864)
Web Site
www.samsung.com/ca/support
Address
Samsung Electronics Canada Inc.
2050 Derry Road West
Mississauga, Ontario L5N 0B9
Canada


WARNING – TO PREVENT THE SPREAD OF FIRE, KEEP CANDLES AND OTHER ITEMS WITH OPEN FLAMES AWAY FROM THIS PRODUCT AT ALL TIMES.
















