KLARSTEIN 10037971 Elbrus Fireplace Heater

Dear Customer,
Congratulations on purchasing this device. Please read the following instructions carefully and follow them to prevent possible damages. We assume no liability for damage caused by disregard of the instructions and improper use. Scan the QR code to get access to the latest user manual and more product information.
TECHNICAL DATA
| Item number | 10037971, 10037972 |
| Power supply | 220-240 V ~ 50 Hz |
| Power consumption | 2000 W |
PRODUCT DATA SHEET
| Model identifier(s): | 10037971, 10037972 | |||||
| Item | Symbol | Value | Unit | Item | Unit | |
| Heat output | Type of heat input, for electric storage local space heaters only | |||||
| Nominal heat output | Pnom | 2.0 | kW | manual heat charge control, with integrated thermostat | no | |
| Minimum heat output (indicative) | Pmin | 1.0 | kW | manual heat charge control with room and/or outdoor temperature feedback | no | |
| Maximum continuous heat output | Pmax,c | 2.0 | kW | electronic heat charge control with room and/or outdoor temperature feedback | yes | |
| Auxiliary electricity consumption | fan assisted heat output | N/A | ||||
| At nominal heat output | elmax | 2.05 | kW | Type of heat output/room temperature control | ||
| At minimum heat output | elmin | 1.05 | kW | single stage heat output and no room temperature control | no | |
| In standby mode | elSB | N/A | W | Two or more manual stages, no room temperature control | no | |
| with mechanic thermostat room temperature control | no | |||||
| with electronic room temperature control | yes | |||||
| electronic room temperature control plus day timer | yes | |||||
| electronic room temperature control plus week timer | yes | |||||
| Other control options | ||||||
| room temperature control, with presence detection | yes | |||||
| room temperature control, with open window detection | yes | |||||
| with distance control option | yes | |||||
| with adaptive start control | yes | |||||
| with working time limitation | no | |||||
| with black bulb sensor | no | |||||
| Contact details | Chal-Tec GmbH, Wallstraße 16, 10179, Berlin, Germany | |||||
SAFETY INSTRUCTIONS
- Before use, check the voltage information on the rating plate and only connect the device to sockets that correspond to the nominal voltage of the device.
- If the power cord is damaged, have it replaced by a trained professional.
- Do not place the fireplace directly under the mains socket.
- Keep a distance of one metre from combustible materials such as furniture, curtains or similar.
- Use the appliance out of the reach of children. Children may only operate the device under supervision.
- The appliance is intended for use in the home and similar environments only. It is not intended for commercial use.
- Do not use the device if it malfunctions or has been damaged in any way.
- Repairs may only be carried out by trained specialists.
- Incorrectly or independently performed repairs pose a risk of injury.
- Do not run the power cord under carpets or rugs.
- Make sure that the power cord does not come into contact with sharp edges or hot surfaces.
- To prevent overheating, do not cover the fireplace.
- Do not use the appliance with an external timer, a remote controlled socket or any other device that automatically turns the fireplace on and off.
Do not immerse the device in water or other liquids. - Do not use the appliance near bathtubs, showers or swimming pools.
- Do not use the device outdoors.
- Do not use the device with wet hands.
- Do not use the appliance on or near hot surfaces.
- Do not use the device with a damaged power cord.
- Before cleaning, unplug the appliance from the wall outlet and allow it to cool completely.
- Do not use abrasive cleaners for cleaning.
- Only use accessories that are expressly approved for this purpose by the manufacturer.
- Children over 8 years, as well as mentally, sensory and physically impaired persons, may only use the device if they have been informed in detail about the functions and safety precautions by a supervisor responsible for them beforehand and understand the associated risks.
- Make sure that children do not play with the appliance.
CAUTION
Risk of burns! Some parts of the appliance can become very hot. Be careful not to burn yourself or your children with it.
PACKAGE CONTENTS
| Quantity (pieces) | Description |
| 1 | Fireplace |
| 1 | Bag of loose pebbles |
| 2 | Dowel |
| 2 | Mounting brackets |
| 2 | 4 x 30 mm screws |
| 4 | 3 x 12 mm screws |
| 1 | Remote control |
DEVICE OVERVIEW
| 1 | Mantelpiece | 5 | Heat button |
| 2 | White pebbles | 6 | Flame button |
| 3 | LED screen | 7 | On / off button |
| 4 | Remote control | 8 | Power switch |
REMOTE CONTROL
- LCD screen
- On / off button
- Date setting
- Timer setting
- Up button
- + button
- Delete
- Timer on/off
- – button
- Automatic button
- Down button
- Flame button
- Window button
- Heat button I
- Heat button II
Instructions for use of the remote control
Before you can use the remote control, press and slide open the battery compartment (on the back of the remote control). Insert two AAA batteries and make sure that the + and – poles of the batteries match the markings in the battery compartment. Close the battery compartment. The remote control will not respond until the digital display lights up because it is in sleep mode. Before commissioning, press any button once to light up the digital display to activate the remote control. To ensure correct operation, do not press the remote control buttons more than once within two seconds. Wait until the receiver responds to the transmitter.
INSTALLATION
Installation requirements
- This unit is designed for wall mounting using the wall brackets/fixings provided. Do not allow any parts of the unit to enter the wall. This unit is suitable for installation in static caravans.
Site requirements
- The unit generates warm air currents. These air currents transport the warm air to the wall surfaces near the heater, and the heat rises on these surfaces.
- Installing the heater next to these types of wall cladding or operating the heater in locations where airborne contaminants (e.g. tobacco smoke) are present may cause slight discoloration of the wall cladding.
- If the unit is to be fixed to a drywall or timber frame structure, the stability and load-bearing capacity of the wall for fixing the unit must be checked. In these circumstances, it is important that the vapour barrier and/or the structural elements of the house frame are not damaged.
- If you are not sure whether the wall can support the unit and/or what type of wall fixing to use, you should seek advice from a professional and purchase the correct fixings. Alternatively, look for a more suitable wall location.
Instructions for installation and use
- Do not build part of the appliance into the wall and do not run the mains cable under carpets.
- Do not place the unit where curtains or drapes or other soft materials may cover the unit, e.g. under a coat rack.
- Do not choose a location behind an opening door where mechanical impact/damage can occur.
- Do not choose a location where the mains cable could become a trip hazard.
- Do not sit or stand on the unit and do not pull on it with force.
- Do not cover the unit and do not insert any objects into the unit openings.
- Do not use the device to dry laundry.
- Do not use the device outdoors.
DIMENSIONS
Observe the minimum distances between the unit and easily combustible materials. The minimum distances depend on the installation site, as shown below:
- The minimum distance to the front of the unit is 90 cm.
- There is no minimum distance to the top and sides of the unit. However, make sure that there are no curtains or the like near the unit.

Unpack the unit
Note: This unit is heavy. Always seek help for unpacking or installation. Read the entire instruction manual carefully before proceeding with unpacking or installing the unit.
- Installation must be carried out by two adults to avoid injury or damage. If the device is still too heavy, other people must be called in for support.
- When lifting, always make sure to keep your back as straight as possible and bend your knees. Avoid twisting the hips. It is better to reposition your feet.
- Avoid lifting with the upper half of the body. Bend the knees and not the hips. Do not lean forward or sideways while carrying the unit.
- Always hold the unit securely with the palms of your hands. Do not just use your fingertips.
- Try to keep the unit as close to your body as possible. This shifts the centre of gravity.
- Use work gloves for extra grip.
- Unpack the unit and carefully lift it out of the packaging. Place the unit on a flat surface with the front panel facing forward.
Note: Before installation, make sure that the entire scope of delivery is complete (see section “Package contents’).
Installation instructions
CAUTION
Risk of electric shock! Do not connect the unit to the power supply yet before installation, only plug it in when it is fully assembled and securely fastened.
- The manufacturer cannot be held liable for any damage or injury resulting from incorrect installation or improper handling.
- Remove any protective films on the outer surfaces, if present.
- Select a suitable installation site. Take into account the stability of the wall to which the unit is to be attached. As part of user safety, make sure that the load-bearing capacity of the wall and the holding capacity of the fixings are sufficient. The unit should only be installed after all wet plastering and/or drywall sanding and wall painting has been completed.
- The ventilation openings of the unit must not be blocked. The wall on which the unit is installed must be level. Install the unit only on a vertical surface. Avoid sloping surfaces. Installation on a wall other than a vertical wall may cause fire, damage or injury.
- If the unit is to be mounted on the inside of a conventional cavity wall or a solid wall, the dowels and fixing screws supplied can be used.
- Depending on the nature of the wall, it may be necessary to use additional fixings.
- In this case, the additional fixings and dowels should be of the same size and type as those supplied.
- If the unit is to be mounted on drywall or timber frame wall, try to mount it in a vertical position in one of the timber studs or load-bearing timber members of the wall using the mounting screws provided. If this is not possible, the wall should be reinforced with suitable building materials.
WARNING
Danger of injury and possible damage to property due to insufficient load-bearing capacity! The wall on which the unit is to be installed must be able to support the total load of the unit permanently. Additional measures should be taken to ensure sufficient stability to withstand the force of earthquakes, vibrations and other external impacts. Plasterboard alone is not considered a load-bearing material. It is not recommended to rely solely on plasterboard fixings to support the weight of the unit.
Installation (wall mounting)
Note: Before installation, make sure that the floor and wall are level.
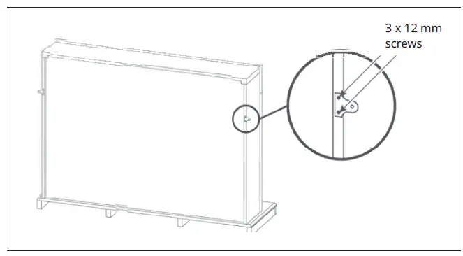
- Attach a mounting bracket to the back of each edge of the panelling (see illustration below) using the 3 x 12 mm screws provided. Pre-drill the holes with a 2 mm diameter drill bit to prevent the wood from splintering. Repeat this process for the other side of the unit so that you can attach one bracket on the left and one on the right side of the unit.
- Carefully lean the unit against the wall and mark the bracket holes on both sides.

- Drill an approx. 35 mm hole with a diameter of 6 mm into the wall at the two marked points.
- Insert the dowels into the holes.
- Route the mains cable so that it exits from the same side as the power socket. To avoid damage, make sure that the unit is not standing on the mains cable.
- Secure the unit with 4 x 30 mm screws (included).
OPERATION
Manual operation
- Plug the power plug into the wall socket.
- Turn the power switch to the “I” (On) position.
- Press the POWER button to switch on the unit.
- Press the HEAT button once to activate the low heat setting. To activate the high heating level, press the HEAT button again. If you press the heating button a third time, the heating function will be switched off.
- Pressing the POWER button again puts the unit into standby mode.
- Turn the power switch to the “O” (off) position to switch off the unit completely.
Operation with the remote control
- Turn the power switch to the “I” (On) position.
- Press the ON/OFF button on the remote control. The LCD screen will light up.
- Press the FLAME button on the remote control several times to select the flame brightness. You can choose between 3 brightness levels.
- Select the heating level by pressing the corresponding button: Press the HEAT I button to activate the low heating level. Press this button again to switch off the heating function. To activate the high heating level, press the HEAT II button. To switch off the heating function, press this button again.
NOTE: The set temperature must be higher than the room temperature for the heating function to work.
Automatic control function
- To increase the temperature, press the + button on the remote control.
- To decrease the temperature, press the – button on the remote control. A temperature between 15 °C and 30 °C can be set.
- To activate the automatic control function, press the AUTO button.
The unit then automatically activates/deactivates the following functions:
- If the room temperature is higher than the set temperature, the heating function will switch off.
- If no button is pressed within a few seconds, the remote control will display the current room temperature.
- When the automatic control function is activated, the HEAT I and HEAT II buttons will be automatically deactivated.
Set current date and time
The time and date can be set using the remote control.
- Press the DATE/TIME button on the remote control. The day of the week indicator will flash. Use the up and down buttons to set the desired day of the week. Press the DATE/TIME button to confirm the desired day of the week.
- As soon as the day of the week has been selected, the hour display will start flashing. Use the + or – buttons to set the current hour. Finally, press the DATE/TIME button to confirm.
- As soon as you have set the hour, the minute display will start flashing. Use the + or – buttons to set the current minute. Finally, press the DATE/TIME button to confirm.
Setting the timer
- Press the TIMER SET button on the remote control. The digits of the timer will flash.
- Use the + or – buttons to select the desired timer cycle.
- Press the TIMER SET button to confirm. A small black triangle will flash under the day of the week, indicating that the setting for that day of the week is being made.
- Press the CLEAR button to clear the timer.
Select day
- Use the up and down buttons to set the desired day of the week from “SUN” to “SAT”. The factory-set day is “SUN” (Sunday). Press the + button to confirm the set day. Press the TIMER SET button to confirm.
- Repeat step 1 to add other days to the selected timer cycle or press the – button to delete the selected day. Press the TIMER SET button to confirm.
Setting the switch-on time of the timer
The “ON” symbol will light up on the LCD screen to indicate that the timer switch-on time needs to be set.
- Press the + or – buttons to set the hour and press the TIMER SET button to confirm.
- Press the + or – buttons to set the minute and press the TIMER SET button to confirm. The “ON” symbol will go out and the “OFF” symbol will light up on the screen.
Setting the switch-off time of the timer
The “OFF” symbol will light up on the LCD screen, indicating that the timer off time needs to be set.
- Press the + or – buttons to set the hour and press the TIMER SET button to confirm.
- Press the + or – buttons to set the minute and press the TIMER SET button to confirm.
Setting the desired temperature
As soon as the on and off times of the timer have been set, the temperature display on the LCD screen will start flashing.
- Press the + or – buttons to set the desired temperature (between 15 °C and 30 °C). The factory preset temperature is 20 °C.
- Press the AUTO button and the TIMER ON/OFF button to activate the heating timer.
NOTE: Repeat the above steps if multiple timer cycles are to be set.
Open window detection
If this function is switched on, the unit detects when the room temperature drops due to open windows or doors. The heating indicator will flash as a reminder that windows and doors must be closed. If this does not happen, the appliance will automatically stop the heating process.
- To activate the function, press the WINDOW button.
- Press the WINDOW button again to deactivate the function.
Safety shut-off system
Do not block the ventilation openings of the unit. This unit has a safety shut-off system that resets itself. This is activated when the air inlets or outlets are blocked. If the ventilation openings are blocked, the unit will overheat. If the temperature exceeds 85 °C, the heating element will be automatically switched off until a safe temperature is reached again. If the safety shut-off system has been triggered, the heater cannot be used. If this is the case, you can reset the unit as follows:
- Switch off the device.
- Unplug the power cord from the wall socket and leave the device unplugged for at least 10 minutes.
- Make sure that the ventilation openings are not blocked.
- Plug the power plug back into the wall socket.
- Switch the device on again.
CLEANING AND MAINTENANCE
Cleaning
Note: Always switch off the appliance and remove the plug from the socket before cleaning. Wait until the appliance has cooled down completely before cleaning it. Dust the unit regularly. Beyond that, there are no special requirements regarding the cleaning of the unit. It should usually be sufficient to wipe the unit with a dry cloth. Do not use any harsh cleaning agents or abrasives for cleaning, as these can damage the surface of the device. Make sure that the ventilation grilles (next to the switches) are free from dust, pet hair and other airborne contaminants in the home. Clear the ventilation grilles regularly using a vacuum cleaner with a brush attachment.
Replacing the batteries of the remote control
Required batteries: 2 x AAA 1.5 V (not included)
- Remove the battery compartment cover and take the two used batteries out of the battery compartment of the remote control.
- Insert the two replacement batteries into the battery compartment the right way round, making sure that the batteries are firmly seated.
- Put the battery cover back on.
Note: Keep the batteries out of the reach of children.
Maintenance
- There are no user-serviceable parts inside the unit.
- Regularly check the security of the wall fixings and the mains cable and connections.
- If the power cord is damaged, it must be replaced by customer service or a qualified electrician.
TROUBLESHOOTING
| Problem | Potential cause |
| The unit does not turn on. | Make sure the power switch is in the “I” (On) position. |
| The pebbles glow, but the flame effect does not work. | Check that the drive motor is working. Contact customer service if this is not the case. |
| The heating does not work, although the appliance and the heating function (via the mains switch, the on/off button and the heating button) are switched on. | Switch off the device and pull the power plug out of the socket for 5 minutes. After 5 minutes, plug the mains plug in again and use the appliance as usual. |
| The fireplace makes loud noises. | When the flame effect is used, this causes a certain noise level. The sound is produced by a motor that generates the flame effect. This sound can be heard when there is no other background noise. |
| Operation of the heating motor is associated with a higher noise level. This is due to the required air flow when the heating function has been switched on. |
DISPOSAL CONSIDERATIONS
If there is a legal regulation for the disposal of electrical and electronic devices in your country, this symbol on the product or on the packaging indicates that this product must not be disposed of with household waste. Instead, it must be taken to a collection point for the recycling
of electrical and electronic equipment. By disposing of in accordance with the rules, you are protecting the environment and the health of your fellow human beings from negative consequences. For information about the recycling and disposal of this product, please contact your local authority or your household waste disposal service. This product contains batteries. If there is a legal regulation for the disposal of batteries in your country, the batteries must not be disposed of with household waste. Find out about local regulations for disposing of batteries. By disposing of them in accordance with the rules, you are protecting the environment and the health of your fellow human beings from negative consequences.
MANUFACTURER & IMPORTER (UK)
Manufacturer:
Chal-Tec GmbH, Wallstrasse 16, 10179 Berlin, Germany.
Importer for Great Britain:
Chal-Tec UK limited Unit 6 Riverside Business Centre Brighton Road Shoreham-by-Sea BN43 6RE United Kingdom























