HOME ACCENTS Holiday 22RT41620111 Icicle Shimmer LED Stacked Snowmen

Product Information
- SKU #: 1005 269 881
- Model #: 22RT41620111
- Product Name: 7 ft Icicle Shimmer LED Stacked Snowmen
- Manufacturer: Home Accents
- Contact Information: 1-855-HDHoliday (1-855-434-6543) HOMEACCENTSHOLIDAY.COM
Product Usage Instructions
Pre-Operation
Before using the product, inspect it carefully. If the product has any cuts, damage, frayed wire insulation on cords, cracks in the socket enclosures, loose connections, exposed copper wire or other obvious damage, discard or return to place of purchase with purchase receipt. When plugging or unplugging the product, grasp the plug and not the cord. Do not overload the lighting string, which is rated at 14.4 Watts (0.12 Amps). Do not connect to another lighting string, decorative outfit or other electrical products.
Assembly Instructions
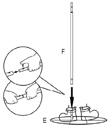
- Assembling the Support Pole to Base Stand: Insert the first Support Pole (F) [with the tapered end up] through the left foot of Leg & Base Stand of Lower Snowman (E) and secure to the connecting rod on the base stand with the built-in locking pin.
- Assembling the Lower Snowman: Attach the Hat of Lower Snowman (A) to one of the Halves of Lower Snowman’s Body (B) using four Plastic Ties (R). Attach the Nose of Lower Snowman (C) to the Halves of Lower Snowman’s Body (B) using two Plastic Ties (R). Attach the Arm of Lower Snowman (D) to the Halves of Lower Snowman’s Body (B) using two Plastic Ties (R). Insert the Leg & Base Stand of Lower Snowman (E) into the Halves of Lower Snowman’s Body (B) and secure with two Bolts & Wingnuts (S). Repeat these steps for the other half of the Lower Snowman.
- Assembling the Middle Snowman: Attach the Nose of Middle Snowman (H) to one of the Halves of Middle Snowman’s Body (G) using two Plastic Ties (R). Attach the Arm of Middle Snowman (I) to the Halves of Middle Snowman’s Body (G) using two Plastic Ties (R). Insert the Leg of Middle Snowman (J) into the Halves of Middle Snowman’s Body (G) and secure with two Bolts & Wingnuts (S). Repeat these steps for the other half of the Middle Snowman.
- Assembling the Upper Snowman: Attach the Nose of Upper Snowman (L) to one of the Halves of Top Snowman’s Body (K) using two Plastic Ties (R). Attach the Arm of Upper Snowman (M) to the Halves of Top Snowman’s Body (K) using two Plastic Ties (R). Insert the Leg of Upper Snowman (N) into the Halves of Top Snowman’s Body (K) and secure with two Bolts & Wingnuts (S). Repeat these steps for the other half of the Upper Snowman.
- Attaching Scarf and Hat to Top Snowman: Attach Scarf (O) to the Top Snowman using two Plastic Ties (R). Attach Hat of Lower Snowman (A) to the Top Snowman using two Plastic Ties (R).
- Stacking the Snowmen: Connect the Lower Snowman to the Middle Snowman by inserting the Support Pole (F) [with the tapered end down] into the Leg of Middle Snowman (J) and secure with a Bolt & Wingnut (S). Connect the Middle Snowman to the Top Snowman by inserting the Support Pole (F) [with the tapered end down] into the Leg of Upper Snowman (N) and secure with a Bolt & Wingnut (S).
- Attaching Ground Stakes and Anchoring String: Use four Ground Stakes (P) to anchor the Leg & Base Stand of Lower Snowman (E) to the ground. Use Anchoring String (Q) to tie the Support Pole (F) to a stable structure, such as a tree or pole.
- Inserting Spare Fuse and Bulbs: If the item does not light check for loose or broken bulbs and connections. Do not plug into other electrical items. If the item has multiple Light String Cords be sure to plug in all cords. Check for Broken or Burned Out Fuse In Plug. Replace any faulty fuses or bulbs with the Spare Fuse (T) and Spare Bulb (U) included in the package.
Care and Cleaning
When cleaning the product, carefully remove it from wherever it is placed to avoid any undue strain or stress on the product connections and wires. If the product is placed somewhere other than the ground, it should be well secured and flat. Disassemble the unit carefully, taking caution not to cut any electrical wires. Wipe the unit with a damp cloth and allow it to dry before storing it neatly in a cool, dry location protected from sunlight.
Troubleshooting
- Ensure that the floor or surface that the item sits on is flat and level.
- Be sure to plug the item correctly into a wall outlet or a UL Listed Power Cord.
- Ensure all parts are assembled properly per the Instruction Manual.
- If the item does not light, check for loose or broken bulbs and connections.
- Check for Broken or Burned Out Fuse In Plug.
Guarantee
The product is intended for residential seasonal use for 90 days per year. This product is covered by a 90 days limited guarantee due to defects in material and workmanship. Return the product with purchase receipts to the location of purchase for refund within 90 days of purchase.
Thank you!
We appreciate the trust and confidence you have placed in Home Accents through the purchase of this 7 ft Icicle Shimmer LED Stacked Snowmen. We strive to continually create quality products designed to enhance your home. Visit us online to see our full line of products available for your home improvement needs. Thank you for choosing Home Accents!
1-855-HDHoliday (1-855-434-6543) HOMEACCENTSHOLIDAY.COM.
Parts List
| Parts List | ||
| Locater | Name | Qty. |
| A | Hat of Lower Snowman | 1 |
| B | Halves of Lower Snowman’s Body | 2 |
| C | Nose of Lower Snowman | 1 |
| D | Arm of Lower Snowman | 2 |
| E | Leg & Base Stand of Lower Snowman | 1 |
| F | Support Pole | 2 |
| G | Halves of Middle Snowman’s Body | 2 |
| H | Nose of Middle Snowman | 1 |
| I | Arm of Middle Snowman | 2 |
| J | Leg of Middle Snowman | 2 |
| K | Halves of Top Snowman’s Body | 2 |
| L | Nose of Upper Snowman | 1 |
| M | Arm of Upper Snowman | 2 |
| N | Leg of Upper Snowman | 2 |
| O | Scarf | 3 |
Hardware List
| Hardware List | ||
| Locater | Name | Qty. |
| P | Ground Stake | 8 |
| Q | Anchoring String | 4 |
| R | Plastic Tie | 30 |
| S | Bolt & Wingnut | 4 |
| T | Spare Fuse | 6 |
| U | Spare Bulb | 6 |
USE AND CARE GUIDE
PLANNING ASSEMBLY
Carefully remove all the parts from the box and place them on the ground. Many parts are connected by the lighting string that runs throughout the item. Take special care not to pull, cut or damage the lighting string. Read the entire manual prior to assembly and identify all the parts included in the package against the parts list. It is recommended to assemble parts of the product while laying flat on the ground or on a table versus standing the item up to assemble the parts. If any parts are missing or damaged do not attempt assembly but contact our customer service center or return to place of purchase with purchase receipt. Assembly of this product may require more than one person. 1-855-HDHoliday (1-855-434-6543)
Pre-Operation
- CAUTION: Grasp the plug to insert or remove from the power source. Do not unplug by pulling on cord.
- CAUTION: The lighting string on this product is rated at 14.4 Watts (0.12 Amps). Do not overload. Do not connect to another lighting string, decorative outfit or other electrical products. Before you use or re-use this product inspect it carefully. Discard or return to place of purchase with purchase receipt if the product has cuts, damage, frayed wire insulation on cords, cracks in the socket enclosures, loose connections, exposed copper wire or other obvious damage.
Care and Cleaning
- Carefully remove the product from wherever it is placed. This helps to avoid any undue strain or stress on the product connections and wires. If the product is placed somewhere other than the ground it should be well secured and flat.
- Carefully disassemble the unit taking caution not to cut any electrical wires.
- Wipe the unit with a damp cloth and allow the unit to dry before storing.
- Store the product neatly in a cool, dry location protected from sunlight.
Trouble Shooting
- Ensure that the floor or surface that the item sits on is flat and level
- Be sure to plug the item correctly to a wall outlet or a UL Listed Power Cord
- Ensure all parts are assembled properly per the Instruction Manual
- If the item does not light check for loose or broken bulbs and connections
- Do not plug into other electrical items
- If the item has multiple Light String Cords be sure to plug in all cords
- Check for Broken or Burned Out Fuse In Plug
Guarantee
What is Covered
The product is intended for residential seasonal use for 90 days per year. This product is covered by a 90 days limited guarantee due to defects in material and workmanship. Return the product with purchase receipts to the location of purchase for refund within 90 days of purchase.
What is Not Covered
This warranty does not cover commercial use, normal wear and tear, products not used in accordance with directions provided on or with the product, burn out of bulbs or LEDS, batteries, products that have been subjected to unauthorized repair and/or modification and damage caused by shipping and improper handling, alterations, misuse, in store display models or accidents. Questions, problems, missing parts? Before returning to the store, call Home Accents Holiday Customer Service 8 a.m.-6 p.m., EST, Monday-Friday 1-855-HDHoliday (1-855-434-6543).
Diagram of Parts

ASSEMBLY
- Assembling the Support Pole to Base Stand
Insert the first Support Pole (F) [with the tapered end up] through the left foot of Leg & Base Stand of Lower Snowman (E) and secure to the connecting rod on the base stand with the built in locking pin.
- Assembling the Lower Snowman Body to the Base Stand
Place the front portion of Lower Snowman’s Body (B) on the center supporting pole. Insert the two connecting rods on the top of the feet on the base stand into the matching connecting holes on the bottom of Lower Snowman then fasten together at the connecting loops the with the Bolt & Wingnut (S) provided.
- Assembling the Lower Snowman Body
Insert two connecting rods from the back of the feet on the base stand into the matching holes at the bottom of the back portion of Lower Snowman Body. Align the back portion of Lower Snowman Body (B) and the front portion of Lower Snowman Body (B) with each other then insert the connecting rods on the Front Side into the connecting holes on the Back Side and fasten at the connecting loops with Plastic Ties (R).
Assembling the Nose to the Lower Snowman Body and Securing the Body parts
Insert the connecting rods on the Nose (C) into the matching connecting holes on the face of the Lower Showman (B). Fasten the bottom of back of Lower Snowman with the base together with the Bolt & Wingnut (S) provided.
- Assembling the Arms to Lower Snowman Body
Insert the connecting rods on the Arms (D) into the connecting holes on the sides of the Body (B) then secure at the connecting loops with the Plastic Ties (R). (Note: The Left Arm has the Light String attached to it).
- Assembling the Hat and 2nd Support Pole to Lower Snowman
Attach the second Support Pole (F) through the Hat (A) of Lower Snowman then stack it onto the First Support Pole already attached to the Lower Snowman. Secure the Support Poles with the built in locking pin.
- Assembling the Hat on Lower Snowman
Insert the connecting rods on the bottom of the Hat of Lower Snowman (A) into the connecting holes on the top of the Head of Lower Snowman (B).
- Assembling the Nose and Body of Middle Snowman
Insert the connecting rods on the Nose of Middle Snowman (H) into the connecting holes on the Head of Middle Snowman (G). Align the two Halves of Middle Snowman’s Body (G) with each other then insert the connecting rods on one half into the connecting holes on the other half and fasten together at the connecting loops with Plastic Ties (R).
- Assembling the Arms and Legs to Middle Snowman’s Body
Insert the connecting rods on each Arm (I) and Leg (J) into the connecting holes on the Middle Snowman’s Body (G) and fasten together at the connecting loops with Plastic Ties (R).
- Attaching the Middle Snowman to the Lower Snowman
Set the Middle Snowman thru the Second Supporting Pole. Insert the connecting rods on the bottom of Middle Snowman (G) body into the connecting holes on the Hat (A) and Left Hand (D) of Lower Snowman.
- Assembling the Back of the Upper Snowman and the Pole
Insert the short connecting pole inside the Back Portion of the Upper Snowman (K) to the top of the stacked Support Pole coming out the Head of Middle Snowman and secure with the built in locking pin.
- Assembling the Nose and Body of Upper Snowman
Insert the connecting rods on the Nose of Upper Snowman (L) into the connecting holes on the Head of Upper Snowman (K). Align the two Halves of Upper Snowman Body (K) with each other then insert the connecting rods on one half into the connecting holes on the other half and secure at the connecting loops with Plastic Ties (R).
- Assembling the Arms and Legs to Upper Snowman
Insert the connecting rods on each Arm (M) and Leg (N) into the connecting holes on Upper Snowman Body (K) and fasten together at the connecting loops with Plastic Ties (R).
- Assembling the Scarf and Connecting the Lights
Wrap the Scarves (O) around the neck of each Snowman. Connecting three lighting string (from each Snowman) end-to-end.
- Assembling the Anchoring Strings and Ground Stakes
Hook the plastic clipped end of each of Anchoring Strings (Q) onto the matching loop on the Body of the Upper Snowman per the diagram below. Attach the hooked end of the Ground Stakes (P) thru the free open looped end of each String (Q) then tightly secure the pointed end of each Ground Stake into the ground evenly spaced from the Stacked Snowmen. Place the remaining 4 Ground Stakes over the 4 corners of the Metal Frame on the Base Stand then firmly into the ground.



Assembling the Nose to the Lower Snowman Body and Securing the Body parts
























