
PLEASE SCAN THE QR CODE ON YOUR APPLIANCE IN ORDER TO HAVE MORE DETAILED INFORMATION

THANK YOU FOR BUYING A WHIRLPOOL PRODUCT.
In order to receive a more complete assistance, please register your appliance on: www.whirlpool.eu/register
Before using the appliance carefully read Safety Instructions guide.
CONTROL PANEL

| 1. ON-OFF / Reset button with indicator light 2. Program selection button 3. Salt refill indicator light | 4. Rinse Aid refill indicator light 5. Program indicator lights 6. START/Pause button with indicator light |
FIRST TIME USE
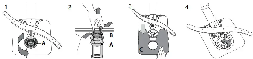
FILLING THE SALT RESERVOIR
The use of salt prevents the formation of LIMESCALE on the dishes and on the machine’s functional components.
- It is mandatory that the salt reservoir never be empty.
- It is important to set the water hardness.
The salt reservoir is located in the lower part of the dishwasher and must be filled when the SALT REFILL indicator light
in the control panel is lit.

- Remove the lower rack and unscrew the reservoir cap (anticlockwise).
- Position the funnel (see figure) and fill the salt reservoir right up to its edge (approximately 1 kg); it is not unusual for a little water to leak out.
- Only the first time you do this: fill the salt reservoir with water.
- Remove the funnel and wipe any salt residue away from the opening. Make sure the cap is screwed on tightly, so that no detergent can get into the container during the wash program (this could damage the water softener beyond repair).
Whenever you need to add salt, it is mandatory to complete the procedure before the beginning of the washing cycle to avoid corrosion.
FILLING THE RINSE AID DISPENSER
Rinse aid makes dish DRYING easier. The rinse aid dispenser A should be filled when the RINSE AID REFILL indicator light
in the control panel is lit.
NEVER pour the rinse aid directly into the appliance tub.
FILLING THE DETERGENT DISPENSER
To open the detergent dispenser use the opening device C. Introduce the detergent into the dry dispenser D only. Place the amount of detergent for pre-washing directly inside the tub.
Usage of detergent not designed for dishwashers may cause malfunction or damage to the appliance.
WATER SOFTENING SYSTEM
Water softener automatically reduces water hardness, consequently preventing scale buildup on heater, contributing also to better cleaning efficiency.
This system regenerates itself with salt, therefore it is required to refill salt container when empty.
Frequency of regeneration depends on water hardness level setting – regeneration takes place once per 5 Eco cycles with water hardness level set to 3. Regeneration process starts in final rinse and finishes in drying phase, be- fore cycle ends.
- Single regeneration consumes: ~3.5L of water;
- Takes up to 5 additional minutes for the cycle;
- Consumes below 0.005kWh of energy.
PROGRAMS TABLE
| Program | Programs description | Drying phase | Duration of wash program (h:minr | Water consumption (litres/cycle) | Energy consumption (kWh/cycle) | |
| 1. | Eco 50°- Eco program is suitable to clean normally soiled tableware, that for this use, it is the most efficient program in terms of its combined energy and water consumption, and that it is used to assess compliance with the EU Ecodesign legislation. | 3:20 | 12.0 | 1. | ||
| 2. | eIntensive 65° – Program recommended for heavily soiled crockery, espe- cially suitable for pans and saucepans (not to be used for delicate items). | 2:30 | 16,0 | 1.50 | ||
| 3. | Mixed 55° – Mixed soil. For normally soiled dishes with dried food residues. | 2:25 | 16.0 | 1. | ||
| 4 | Rapid 30′ 50° – Program to be used for half load of lightly-soiled dishes with no dried food residues. Does not have drying phase. | _ | 0:30 | 9.0 | 0.60 | |
| 5. | Half Load 50° – Ideal for washing a half load of lightly or normally soiled crockery. | 1:20 | 12.0 | 1.10 | ||
ECO program data is measured under laboratory conditions according to European Standard EN 60436:2020.
Note for Test Laboratories:
For information on comparative EN testing conditions, please send an email to the following address: [email protected] Pre-treatment of the dishes is not needed before any of the programs.
*) Values given for programmes other than the eco programme are indicative only. The actual time may vary depending on many factors such as temperature and pressure of the incoming water, room temperature, amount of detergent, quantity and type of load, load balancing, additional selected options and sensor calibration. The sensor calibration can increase program duration up to 20 min.
LOADING THE RACKS
CAPACITY: 13 standard place-settings
UPPER RACK

(loading example for the upper rack)
Load delicate and light dishes: glasses, cups, saucers, low salad bowls.
LOWER RACK

(loading example for the lower rack)
For pots, lids, plates, salad bowls, cutlery etc.. Large plates and lids should ideally be placed at the sides to avoid interferences with the spray arm.
FOLDABLE FLAPS WITH ADJUSTABLE POSITION

CUTLERY BASKET
The basket is equipped with top grilles for improved cutlery arrangement.
The cutlery basket should be positioned only at the front of the lower rack.

Knives and other utensils with sharp edges must be placed in the cutlery basket with the points facing downwards or they must be positioned horizontally in the tip-up compartments on the upper rack.
CLEANING AND MAINTENANCE
More information in the Daily Reference Guide on website.
CLEANING THE FILTER ASSEMBLY

In case you find foreign objects (such as broken glass, porcelain, bones, fruit seeds etc.) please remove them carefully.
NEVER REMOVE the wash-cycle pump protection (black detail) (Fig 4).
CLEANING THE SPRAY ARMS

To remove the upper spray arm, turn the plastic locking ring in a clockwise direction.

The lower spray arm may be removed by pulling it upwards.
TROUBLESHOOTING
Please scan the QR code on your product in order to have more detailed information.
In case your dishwasher doesn’t work properly, check if the problem can be solved by going through the following list. For other errors or issues please contact authorized After-sales Service which contact details can be found in the warranty booklet. Spare parts will be available for a period of either up to 7 or up to 10 years, according to the specific Regulation requirements.
| PROBLEMS | POSSIBLE CAUSES | SOLUTIONS |
| The dishwasher does not fill the water. All LEDs are blinking rapidly | No water in the water supply or the tap is dosed. The inlet hose is bent. The sieve in the water inlet hose is clogged; it is necessary to clean it | Make sure there is water in the water supply or the tap running. Make sure the inlet hose is not bent (see INSTALLATION) reprogram the dishwasher and reboot. After having carried out the verification and cleaning, turn off and turn on the dishwasher and restart a new program. |
| Dishwasher finishes the cycle prematurely. | Drain hose positioned too low or siphoning into home sewage system. Air in water supply. | Check if end of drain hose is placed at correct height (see INSTALLATION).Check for siphoning into home sewage system, install air admittance valve if necessary. Check water supply for leaks or other issues letting air inside. |
Policies, standard documentation, ordering of spare parts and additional product information can be found by:
- Using QR code on your product.
- Visiting our website docs.whirlpool.eu and parts-selfservice.whirlpool.com
- Alternatively, contact our After-sales Service (See phone number in the warranty booklet). When contacting our Aftersales Service, please state the codes provided on your product‘s identification plate.
The model information can be retrieved using the QR-Code reported in the energy label. The label also includes the model identifier that can be used to consult the portal of the registry at https://eprel.ec.europa.eu.

400011640646B
02/2023 dk – Xerox Fabriano


















