HAMPTON BAY HBDB130WLJ-GS 130 Gallon Deck Box
USE AND CARE GUIDE
THANK YOU
We appreciate the trust and confidence you have placed in Hampton Bay through the purchase of this deck box. We strive to continually create quality products designed to enhance your home. Visit us online to see our full line of products available for your home improvement needs to thank you for choosing Hampton Bay!
Safety Information
CAUTION
- Never use this product to store flammable explosives or hazardous materials.
- To avoid the risk of suffocation, never allow children to play inside the container.
- Supports 225 lb evenly distributed weight.
- This product is not a toy and is not intended for use by children.
Pre-Assembly
TOOLS REQUIRED
- Phillips Screwdriver

PACKAGE CONTENTS

Assembly
Attaching Side Panels to the Bottom Panel
- Place the bottom panel (D) on a level surface.
- Slide a side panel (E) onto the bottom panel (D) then repeat with the other side panel.

Attaching the Back Panel
- Slide the back panel (B) into position using the slots at the rear edge of the two side panels (E).
- Press the lock tabs (1) into the slots (2) in the bottom panel and lock in place.

Attaching the Front Panel
- Slide the front panel (A) into position using the slots at the front edge of the two side panels (E).
- Press the lock tabs (1) into the slots (2) in the bottom panel and lock them in place.

Attaching the Lid Panel
- Hold the lid panel (C) horizontally and align the lid tabs (1) with the back panel hinge pins (2).
- Push the lid panel (C) horizontally into the back panel hinge pins (2) and rotate the lid (C) closed to lock into place.

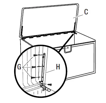
Attaching the Bracket/ Hinges
- Position the bracket/hinge (H) into the grooves at the top- inside corner of the back panel (B).
- Secure in place with three machine screws (J) and two self-tapping screws (G).
- Use two machine screws (J) to attach the bracket (H) to the side panel (E).
- Use two machine screws (J) to attach the bracket (H) to the back panel (B). Repeat for the other bracket (H).

Attaching the Bracket/ Hinges to the Lid Panel
- Attach the bracket/hinge (H) to the inside of the lid panel (C) with four self-tapping screwNS (G) on each bracket/hinge (H).

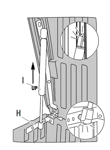
Attaching the Gas Shocks
- Attach the gas shocks (H) to the two-round nubs on the bracket/ hinges (H) by pushing both ends until you hear a ‘snap’ sound.

Care and Cleaning
- Use soap and water with a soft cloth to clean the product. DO NOT use bleach, ammonia, or caustic cleaners, as these will damage the finish.
- Locks, latches, and hinges should be lubricated regularly, and gas shocks wiped with a dry cloth to remove dust and dirt.
- Rinse with clean water and dry with a soft, absorbent cloth towel.
Warranty
WHAT IS COVERED
- This product is covered under a 2-year limited warranty against defects in materials and workmanship from the date of purchase
WHAT IS N0T COVERED
- This warranty does not cover damage due to neglect, abuse, or weather-related damage.
- Contact the Customer Service Team at 1-855-HD-HAMPTON or visit www.HAMPTONBAY.com.
HAMPTON BAY
- Questions, problems, missing parts? Before returning to the store, call Hampton Bay Customer Service.
- 8 a.m.- 7 p.m., EST Monday- Friday, 9 a.m.- 6 p.m., EST Saturday
- 1-855-HD-HAMPTON
- HAMPTONBAY.COM




























