Whirlpool WGD5605MC Gas Wrinkle Shield Dryer Chrome Shadow 
DRYER DOOR REVERSAL INSTRUCTIONS
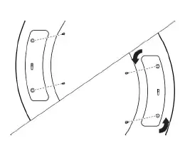
Round Doors with Electrical Wiring
Tools Needed Minimum 8″ (203 mm) long TORX®, T20, and T25° star drivers
# 2 Phillips screwdriver
WARNING
Electrical Shock Hazard
- Disconnect power before servicing.
- Replace all parts and panels before operating.
- Failure to do so can result in death or electrical shock.
Disconnect wiring from door
Using a Phillips screwdriver, remove middle screw in hinge.
Disconnect wiring. Tuck wiring into opening. 
Remove door from dryer
IMPORTANT: If the protective film has not yet been removed from the dryer, peel the film from the dryer door before proceeding.
Using a T25® screwdriver, remove the four screws securing the door hinge to the dryer and lift the door up and out to remove. Place the door on a soft towel or other non-scratch surface. 
Move the door strike
Using a T25® screwdriver, remove the two screws securing the door strike to the door frame of the dryer. Rotate the strike 180°and attach to the opposite side of dryer door frame with the two screws removed earlier, as shown.
Remove inner door from outer door
Position the door with the inside of the door facing up. Using a Phillips screwdriver, remove the 10 screws securing the inner door to the outer door. 
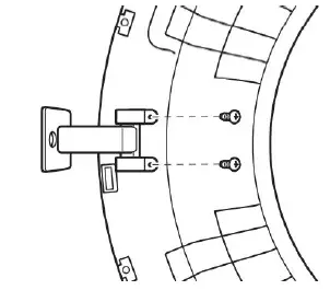
Remove hinge
Remove cover plate to reveal hinge assembly. Then, using a T20® screwdriver, remove the six screws holding the hinge assembly in place. 
Remove latch
Flip and rotate the inner door 180° so that the thin section is at the top and the thick section is at the bottom. Using a T25® screwdriver, remove the four screws securing the latch plate in place.
Reinstall latch on opposite side
Using a T25® screwdriver, reinstall the latch plate on the opposite side from which it was removed with the four screws removed earlier.
Reinstall hinge assembly on opposite side
Flip over the inner door to the left. Using a T20® screwdriver, reinstall the hinge assembly on the opposite side from which it was removed. 
Remove rotating assembly
Lift off inner door assembly. Using a Phillips screwdriver, remove the two screws securing the rotating assembly to the door. 
Reposition rotating assembly and tubing
Reposition rotating assembly and tubing 180° to opposite side of the door.
Rotate assembly bottom and fasten
IMPORTANT: Make sure to swing hinge down in front of rotating assembly (see Step 12).
Rotate bottom of assembly 180° towards you and secure assembly with the two screws removed earlier, using a Phillips screwdriver. Press tubing into indents and reinstall hinge assembly cover plate. 
Reinstall inner door assembly
Position the door with the inside of the door facing up. Using a Phillips screwdriver, reinstall the 10 screws removed earlier, securing the inner door to the outer door.
Reinstall door on dryer
Doors with electrical wiring: Pull the wire through the front panel opening before reinstalling the door. Insert the tabs on the hinge into the mounting slot and slide down to engage the top tab. Secure in place with the four T25® screws removed earlier.
Reconnect wiring (doors with electrical wiring)
Plug in wire. Using a Phillips screwdriver, secure the rotating assembly to the hinge with the screw removed earlier.
Troubleshooting
See your Owner’s Manual or visit our website and reference Frequently Asked Questions to possibly avoid the cost of a service call.



















