E-400 Elbow
Product Manual
E-400 Elbow
To see other language options, visit fillauer.com .
https://fillauer.com/products/e-400-elbow/
Intended Use
The E-400 Series elbows are used with any transhumeral or higher upper extremity prosthesis. These elbows are appropriately sized for larger adults and are the most durable of the Fillauer body-powered elbows. These elbow units feature multiple bodypowered locking positions and come in a variety of configurations for color, strength,and weight. All models feature adjustable-friction axial rotation through the proximal turntable and several models can be purchased with or without a forearm section (see prefabricated forearm table).
Performance Characteristics
| E-400 | E-400HD | E-400XHD | Power Bow | |
| Weight | 15 oz. (420 g) | 15 oz. (420 g) | 17 oz. (480 g) | 21 oz. (598 g) |
| Yoke | Aluminum | Aluminum | Aluminum | Stainless Steel |
| Locking Positions | 11 Single Sector | 8 Single Sector | 8 Single Sector | 8 Double Sector |
| Saddle | Single Thickness Stainless Steel | Double Thickness Stainless Steel | Double Thickness Stainless Steel | Double Thickness Stainless Steel |
| Primary Materials | Stainless Steel, Steel, Aluminum | Stainless Steel, Steel, Aluminum | Stainless Steel, Steel, Aluminum | Stainless Steel, Steel, Aluminum |
These devices are intended for single patient use only.
Storage and Handling
It is recommended that prosthetic elbows be stored in a cool, clean, dry environment away from harsh chemicals (chlorine, acids, acetone, etc.).
Warnings and Precautions
NOTICE: An upper-limb prosthetic device user’s ability to drive should be determined on a case-by-case basis by a specialist. Contact your local governing authorities regarding any driving restrictions or limitations.
WARNING: Body-powered devices should not rely on cable tension for grasp control if the user has been cleared to drive with the prosthesis.
Failure to maintain tension while controlling the steering wheel could cause serious injury or death.
NOTICE: To prevent malfunction of the elbow, the instructions below on trimming the lock cable and housing must be followed. Failure to do so will likely result in immediate or premature failure that will not be covered under warranty of the device.
CAUTION: Abnormal or improper environmental conditions will lead to malfunctioning and damage of the prosthesis and are not covered under the warranty of the device. This prosthetic component must not be subjected to dust/debris, liquids, abrasives, vibration, activities which would damage the biological limb, or prolonged extreme temperatures (< -5 °C or > 50 °C). Do not allow debris or liquids to remain in the prosthesis and its components during use. Rinse the device with fresh water and dry immediately after exposure.
Qualified Provider
Attachment, adjustment, alignment, and delivery of this device must be performed by or under the direct supervision of a qualified prosthetist. Unless stated in this manual, any such activities should not be attempted by the user and will potentially void the device warranty.
Specifications and Preparations Before Use (Risk Management for Installation and Calibration)
Alignment
Prosthetic elbows should be aligned to match the natural hanging angle of the contralateral elbow and provide the best possible work envelope for a patient’s specific goals. Standard alignment begins at 5 degrees of flexion and the adduction angle should match the hanging angle of the contralateral limb while also allowing midline tasks and reaching the mouth as necessary. The height of the elbow axis may match that of the other arm, but amputees often prefer a slightly shorter prosthetic side for control and weight.
Installation
- The elbow turntable may be laminated by removing the elbow and cork friction disk from the turntable. They are connected by the ⁹⁄¹⁶-inch slotted nut on the threaded stud visible in the center of the turntable.
- Place the turntable on the distal end of the humeral section mold (beeswax, foam, plaster or similar). A PVA bag should be used to separate the turntable from the humeral mold if foam or plaster are used. Wax the interior surface and the distal face of the turntable.
- Pack any voids between the turntable and mold with silicone fitting gel or similar to prevent it from filling with laminate.
- Mask the turntable distal to the tie-in groove on the knurled ring surface to keep all laminate clear of the distal end.
- Laminate with the appropriate materials for durability and finish as desired by the patient, being sure to tie each structural layer into the tie-in grove in the lamination ring. Carbon fiber tape is a good choice for reinforcing the connection to the lamination ring and is commonly used for distal to proximal strips tied in with circumferential wraps.
- When reattaching the elbow unit, be sure to install the cork disc between the turntable and elbow, and place both washers under the slotted nut before delivery.
- Tighten the nut to set the proper amount of friction with a ⁹⁄¹⁶ wrench.
Shortening the Cable and Housing
The elbow lock cable AND housing should, in most cases, be adjusted in length to allow smooth and consistent cycling of the lock. To shorten the cable housing, the cable
must be pulled out distally and the proximal housing ferrule removed. The housing is then cut from the proximal end. NEVER remove the lock cable housing from the elbow to trim it. The housing has been permanently installed on all elbows. If removed, it must be reattached correctly (threadlocker and mechanically altering the thread), or it will thread into the elbow and cause malfunction of the lock.
The lock cable can be replaced. However, it is recommended that only Fillauerfabricated lock cables (PN 50724) be used. Other cables and/or their attachment methods can and have caused damage to the lock mechanism which will not be covered under warranty.
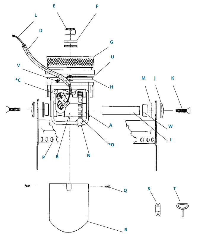
Elbow Assembly
| A | 50720 | Short Sleeve |
| B | 50721 | Long Sleeve |
| C | 57497 | Internal Assembly, E-400 and HD |
| D | 50725 | Cable Housing Assembly |
| E | 50667 | Lock Nut |
| F | 50668 | Belleville Washer |
| G | 50658, 50659 | Turntable, E-400, 400HD Turntable, E-400A |
| H | 50665 | Cork Washer |
| I | 50719 | Shaft |
| J | 50739 | Outside Washer |
| K | 50740 | Screw |
| L | 50724 | Cable Assembly |
| M | 50729 | Washer |
| N | 62235 62236 62237 | Heavy Duty Gear Sector, E-400 and 400A Gear Sector, E-400HD Extra Heavy Duty Gear Sector, E-400XD, Powerbow |
| O | 50748 60143 60664 | Yoke Assembly, E-400 and E-400HD Yoke Assembly, E-400 XHD Yoke Assembly, Power Bow |
| P | 50730 E-400 and 400A 50738 | Elbow Saddle Assembly, Elbow Saddle Assembly, E-400HD |
| Q | 50742 | Sheet Metal Screw |
| R | Elbow | Cap—See Table |
| S | 50427 | Anchor |
| T | 50747 | Hanger |
| U | 50680 | Bolt |
| V | 50678 | Screw |
| W | 50722 | Bearing |

| C. | 62243 | Internal Assembly, E-400 and E-400HD |
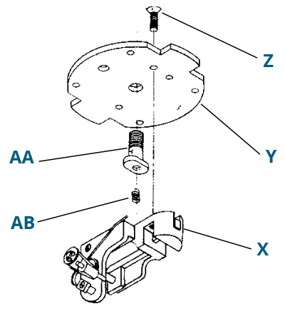
| X. | 62242 | Internal Cage Assembly, E-400 and E-400HD |
| Y. | 50677 | Base |
| Z. | 50679 | Screw |
| AA. | 50680 | Bolt |
| AB. | 50715 | Locking Bar Spring |

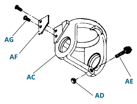
| O. | 50748 | Yoke Assembly |
| AC. | 50671 | Yoke |
| AD. | 50675 | Nut |
| AE. | 50674 | Bumper |
| AF. | 5075850773 | Yoke Cover, Right Yoke Cover, Left |
| AG. | 50761 | Screw |

| X. | 62242 | Internal Cage Assembly, E-400 and E-400HD |
| AH. | 62239 | Cage |
| AI. | 50684 | Cam Bearing |
| AJ. | 880108 | Screw |
| AK. | 50687 | Cam |
| AL. | 50689 | Spring |
| AM. | 50701 | Washer |
| AN. | 50160 | Retaining Clip |
| AO. | 50710 | Ratchet Assembly |
| AP. | 50714 | Locking Bar |
| AQ. | 50813 | Case Pin |
| AR. | 50713 | Cable Pin |
| AS. | 55561 | Lever Sub Assembly |

60148 Internal Cage Assembly, E-400XHD and Power Bow (SST Double Gear Sector)
| AO. | 50710 | Ratchet Assembly |
| AT. | 55561 | Lever Sub Assembly |
| AU. | 50711 | Spacer |
| AV. | 50712 | Screw |
| AW. | 50708 | Keeper |
| AX. | 50710 | Ratchet |

| AT. | 55561 | Lever Sub Assembly |
| AY. | 50630 | Pawl |
| AZ. | 50705 | Spring |
| BA. | 50706 | Pin |
| BB. | 50688 | Lever |

Elbow Cap
| Color | Outside Cable | Inside Cable | Friction Elbow |
| Tan | 50645 | 54437 | 54436 |
| Light Brown | 54435 | 54405 | 54433 |
| Medium Brown | 54432 | 54431 | 54430 |
| Dark Brown | 54429 | 54428 | 54427 |
| Jet Black | 54434 | 54406 | 54407 |
Compatibility
An Elbow Lift Assist (PN 50752 for left and 50609 for right) may be attached medially (standard) or laterally. For lateral placement, be sure to order the opposite side part number. A Nudge Control (PN 52521 for right and 52522 for left) may be used to lock and unlock the elbow when it is not possible through the harness. Lock Cables may be
replaced (PN 50724). Prefabricated Forearms (see table below) may be used with all E-400 series elbows. The Northwestern Lift Tab Jig (PN 51040) may be used with E-400 and E-200 Series elbows to properly locate the lift tab assemblies.
Prefabricated Forearms
| Tan | Light Brown | Dark Brown | Jet Black | |
| Large for 2 in. (50 mm) Wrist | 57939 | 57544 | 57547 | 57562 |
| Large for 2 in. (50 mm) Wrist with E-400 Elbow | 57542 | 57503 | 57506 | 57567 |
| Large for 2 ³⁄¹⁶ in. (55 mm) Wrist | 57509 | 57510 | 57511 | 57563 |
| Large for 2 ³⁄¹⁶ in. (55 mm) Wrist with E-400 Elbow | 57512 | 57513 | 57514 | 57568 |
Disposal / Waste Handling
The product must be disposed of in accordance with applicable local laws and regulations. If the product has been exposed to bacteria or other infectious agents, it must be disposed of in accordance with applicable laws and regulations for the handling of contaminated material.
All metal components may be removed and recycled at the appropriate recycling facility.
Warranty
This product has a 12-month warranty against manufacturer defects
User Instructions
The providing health care professional must review the following information directly with the user.
Warnings and Precautions for the User
NOTICE: The user should monitor their prosthesis daily and contact their health care professional if they experience changes in device performance or if it begins to make noise.
CAUTION: All maintenance should be performed by the qualified health care professional.
NOTICE: An upper-limb prosthetic device user’s ability to drive should be determined on a case-by-case basis by a specialist. Contact your local governing authorities regarding any driving restrictions or limitations.
WARNING: Body-powered devices should not rely on cable tension for grasp control if the user has been cleared to drive with the prosthesis.
Failure to maintain tension while controlling the steering wheel could cause serious injury or death.
CAUTION: Abnormal or improper environmental conditions will lead to malfunctioning and damage of the prosthesis and are not covered under the warranty of the device. This prosthetic component must not be subjected to dust/debris, liquids, abrasives, vibration, activities which would damage the biological limb, or prolonged extreme temperatures (< -5 °C or > 50 °C). Do not allow debris or liquids to remain in the prosthesis and its components during use. Rinse the device with fresh water and dry immediately after exposure.
Serious Incidents
In the unlikely event of a serious incident, seek immediate medical help and contact your prosthetist at your earliest possible convenience. Clinicians should contact their local Fillauer representative immediately in the event of any device failure.
Fillauer LLC
Americas, Oceania, Japan
2710 Amnicola Highway
Chattanooga, TN 37406
423.624.0946
[email protected]
Fillauer Europe
Europe, Africa, Asia
Kung Hans väg 2
192 68 Sollentuna, Sweden
+46 (0)8 505 332 00
[email protected]
© 2021 Fillauer LLC
M092/11-11-21/Rev.1
www.fillauer.com

















