MARQUANT 007862 Car Stereo

SAFETY INSTRUCTIONS
- The product must only be connected to a 12 V electrical system with a negative terminal connected to the chassis.
- To reduce the risk of damaging the product as a result of a short circuit during the installation, the negative cable must be disconnected from the battery in the vehicle before connecting the product.
- Check that the product is correctly connected as per the wiring diagram (color-coded wires). An incorrect connection can cause the product to malfunction and damage the electrical system in the vehicle.
- Check that the speakers are correctly connected:
- The wire marked (-) must be connected to the terminal marked (-).
- Never connect the right and left speaker wires to each other or to the vehicle body or chassis.
- Do not cover or block the ventilation openings on the product in any way. Blocked ventilation openings will result in overheating, damage to the product, and a fire risk.
- Do not dismantle the product or attempt to modify, or repair it- the risk of malfunction or damage to the product.
- No functions of the product that can have an adverse effect on traffic safety must be used or adjusted when driving – stop the vehicle first.
- Do not use the product if the ambient temperature is less than -10 or higher than +50 ° C.
- Carefully check that all the connections are correct, especially the power supply (high current) and memory (low current). Correct connections minimize the power consumption when switched off (closed-circuit current consumption) and safeguard the settings in the memory.
- Install the product in such a way that traffic safety and the safe use of the product is not put at risk.
- Do not expose the product or any part of it to moisture or water risk of electric spark and fire.
- Do not change the fuse holder in the power cord to a fuse with different size from the original one -the wrong size of a fuse can damage the product and is a fire risk.
- Contact the retailer if:
- Water or any other substance has got into the product.
- The product is emitting smoke.
- The product is emitting an abnormal smell.
- Adjust the volume to a safe and comfortable level.
Remote control and batteries
Failure to follow these instructions can cause the remote control to be damaged and stop working.
- Do not expose the remote control or its batteries to direct sunlight or other sources, of heat, such as radiators, ovens or other equipment that em its heat. Do not use or keep the remote control near naked flames.
- Do not expose the remote control or its batteries to rain, snow, or moisture, or put the remote control where it can be exposed to dripping water or any other liquid, for example under a vase of flowers or other vessel containing water.
- Do not use the remote control outdoors or near water.
- Recycle used batteries in accordance with local regulations.
- The incorrect use of batteries can cause leakage and corrosion.
Follow the instructions below to ensure that the remote control works properly.
- Insert the batteries with the correct polarity.
- Do not attempt to charge the batteries.
- Do not expose the batteries to heat.
- Do not short-circuit the batteries.
- Never attempt to open the batteries.
- Do not burn the batteries.
- Do not leave spent batteries in the remote control.
- Do not mix different types of batteries, or old and new batteries.
- Remove the batteries from the remote control if it is not going to be used for some time (batteries can leak).
- If electrolyte has leaked from the batteries the remote control must be cleaned by an authorized service center or other qualified personnel.
Symbols
- Read the instructions.
- Approved in accordance with the relevant EU directives.
- Recycle as electrical waste.
TECHNICAL DATA
- Rated voltage 12 V DC
- Output 4x40W
- Speaker impedance 4Ohm
- Frequency range (FM) 87.5 -108.0 MHz
- Signal/noise ratio 50 dB
- Stereo separation 25 dB at 1 kHz
- RCA low-level output Yes
- Bluetooth Yes
- ISO Yes
- AUX (3.5 mm) Yes
- SD outlet Yes
- MMC Yes
- USB port Yes
- Remote control Included
DESCRIPTION
FRONT PANEL
- Lock button
- On/Off and end calls
- Volume setting
- Menu button
- Display
- AUXIN
- Program type button (PTY)
- Alternative frequencies (AF) and traffic announcements (TA)
- Function selector and phone (answer call)
- Frequency band button
- Stepping button for frequency setting and track selection
- USB port
- Display button (DISP)
- Station preset/automatic station search
- Numbered function keys
- Remote control receiver FIG. 1

INSTALLATION
- Function test the car stereo before permanent installation by connecting and testing all the functions.
- Only use the supplied parts for the installation. The use of other parts can result in malfunction.
- Install the car stereo so as not to interfere with the driver and so it cannot injure the passenger when braking hard or in a collision.
- Do not install the car stereo where it can be exposed to heat, direct sunlight or hot air, dust, dirt or strong vibrations.
- Remove the front panel before installing.
DIN FASTENER
The main unit on the car stereo can be installed on the conventional front DIN fastener or on the back DIN fastener with threaded holes in the sides of the main unit chassis.
Installation on front DIN fastener
- A. Dashboard
- B. Holder FIG. 2

Put the holder on the dashboard and use the fasteners that suit the thickness of the dashboard. Bend in the fastener to fix the holding sleeve in the dashboard.
Removal
- Take off the front frame (A) by gripping its slots and pulling out. (When refitting the frame the side with the slot should face down.)
- Insert the supplied removing tools in the slots (B) on both sides of the main unit until they click in place. Pull the tools out to remove the main unit from the dashboard. FIG. 3

Installation on back DIN fastener
Installation with the screw holes in the sides of the main unit. Follow the instructions below to fit the main unit on the supplied brackets. FIG. 4 
Align the brackets so that their holes are opposite the screw holes in the main unit, insert screws at two points on each side, and tighten.
- Screw
- Supplied bracket.
- Dashboard
- Hook (to be removed)
NOTE:
The box-shaped holder and the outer decorative frame are not used for this type of installation.
REMOVABLE FRONT PANEL
- A. Lock button FIG. 5

Removing front panel
- Disconnect the power supply.
- Press the lock button on the front panel.
- Remove the front panel.
Attaching front panel
- Fit the right end of the panel in the main unit.
- Press the left end of the panel until it clicks in place in the main unit. FIG. 6

IMPORTANT:
- Do not attempt to fit the left end of the panel first – this can damage the panel.
- The front panel is sensitive to knocks and blows. After taking off the panel put it safely away in a bag and avoid dropping or knocking it.
- When pressing the lock button the panel can easily come loose and drop down as a result of the movement or vibration of the vehicle.
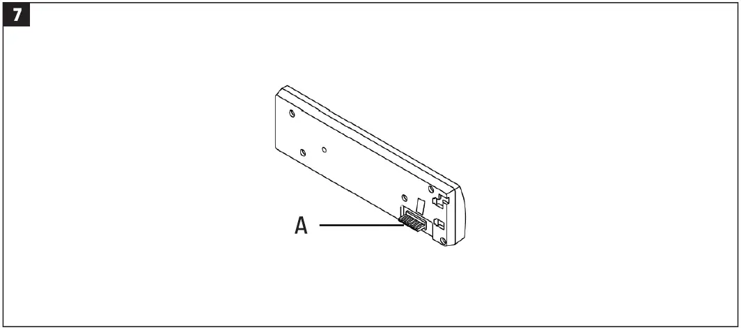
- On the back of the front panel, there is a plug for all the electrical connections between the panel and the main unit. The plug is sensitive and very important. Do not touch it with your nails, or any other objects like pens or screwdrivers.
NOTE:
The plug on the front panel {A) should when necessary be cleaned with a cotton cloth moistened with isopropanol. Wipe the rest of the panel with a dry, soft cloth. FIG. 7 
ELECTRICAL CONNECTION
IMPORTANT:
- Insulate all loose wire ends with insulating tape.
- The warranty will be invalidated if the product is connected or used incorrectly.
- Carefully check the wiring in the vehicle and then conned the right wires to the supplied ISO connectors.
- The car stereo must only be connected to a 12 V electrical system (the vehicle battery has 6 cells) with a negative terminal connected to the chassis. A polarity converter is needed if the vehicle has a positive terminal connected to the chassis.
- Disconnect the power supply by removing the fuse from the fuse box in the vehicle, before starting the electrical connection.
- Connect the power supply wire to one of the auxiliary terminals in the fuse box.
- Connect the black earth wire to a metal part on the vehicle body or chassis. Make sure that the earth wire is in good contact with the body/chassis.
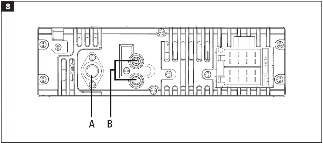
- Connect the other wires as shown in the diagram.
- A. Antenna connection
- B. RCA output FIG. 8

- A. Reversing camera ( +) [yellow]
- B. Automatic antenna(+) [blue]
- C. Earth [black]
- D. B+ [red]
- E. Back speaker, right side
- 1. violet
- 2. violet/black
- F. Back speaker, right side
- 3. violet
- 4. violet/black
- G. Front speaker left side
- 5. white
- 6. white/black
- H. Back speaker left side
- 7. green
- 8. green/black FIG. 9

USE
FUNCTIONS
The following descriptions refer to diagram 1.
Starting and switching off
Press the On/Off button on the front panel to start the stereo. Press again to switch off.
Menu
Press the menu button repeatedly to browse through the menu options. When the required menu item is shown, select the suboption with the volume dial as follows.
Radio data system (RDS)
Alternative frequencies on/off (AF on/off), traffic announcement on/off (TA on/off), program type display (PTY off/MUSIC/ SPEECH).
Local/remote (LOC/DX)
Local reception or remote reception (DX) can be selected with this function. Local reception can function better in some areas where the signal is very strong.
FM mono/stereo
Select reception in mono or stereo from FM stations. The reception from weak or remote stations can be better in mono mode.
Frequency area USA/Europe
Press the menu button in radio mode until the option AREA USA or AREA EUR is shown. Turn the volume dial to switch between the frequency area used in the USA and the one used in Europe. Wait for 3-4 seconds without touching the dial until the frequency is reset, or press any button to return to normal use. Every time the frequency area for a new geographic area is set the frequency area and frequency setting function switches automatically to the settings that suit the selected geographic area.
Audio function and volume adjustment
Press the dial to select the audio function you want to set: VOLUME (VOL) > BASS (BAS) > TREBLE (TRE) > BALANCE (BAL)> FADER (FAD). When the required function is shown, set the required level within 3 seconds by turning the dial.
Frequency mode (equalizer, EQ)
Press the volume dial to show the available equalizer settings: EQ OFF=> ROCK=> CLASSIC=> POP=> FLAT When the EQ function is switched off the frequency mode is determined by the bass and treble settings.
Adjusting from remote control
Press the AUDIO button until the option is shown, then select the up and down arrow button.
Loudness button
Use this function to increase the amplification of the bass frequencies.
Setting the main unit
Press the volume dial and turn until LOUD is shown.
Adjusting from remote control
Press the AUDIO button until the option is shown, then select the up and down arrow button until LOUD is shown.
Phone button/answer call
Press this button to answer an incoming call. If the button is held in during a call the call is forwarded.
Decline/end call
Press the button to decline an incoming call or end a call.
Function selector
Press this button repeatedly to browse through the program sources:
- Radio (tuner)
- External audio input (AUX IN).
- USB memory (only available if USB memory is inserted)
- SD/MMC memory (only available if SD or MMC card is inserted)
- Bluetooth (only available after pairing with mobile phone).
CALL PRIORITISATION
When a USB memory or SD/MMC card is inserted the unit switches automatically to program source USB or SD/MMC, regardless of which program source was set when the USB memory or SD/MMC card was inserted. When the USB memory or SD/MMC card is taken out the unit switches automatically to radio mode.
AUX input on the front
Connect the external unit to the AUX input (3.5 mm audio plug) on the front panel. Press the function select button (MOD) to select AUX IN mode. Press the MOD button again to exit AUDIO IN mode and return to the previous mode.
- A. AUXIN
- B. Earth
- C. Right channel
- D. Left channel FIG. 10

Display button (DISP)
Press the button for 3 seconds to show the media player status.
- Tap the DISP button to show the time.
- Press the DISP button to set the clock.
Automatic station search and saving (AS)
Press the AS button to start the automatic station search. This function automatically searches for the set frequency band and saves the strongest stations (up to 6) in the 6 station shortcuts. Press the AS button again to stop and switch off this function.
Stepping button for frequency setting and track selection
Press the button I◄◄ ►►I · to search for radio stations manually or to switch track.
Frequency band button
Press the button to switch between the frequency bands FM1, FM2, and FM3.
- During playback from USB memory or SD/ MMC card the ID3 metadata is shown for the track being played.
Reset button (RESET)
The reset button is on the back of the front panel. FIG. 11
Press the button with a pen or other similar item if:
- the product is newly installed and all the electrical connections are completed
- a function button is not working properly
- an error code is shown in the display.
NOTE:
If the product is not working properly after resetting with the button, carefully clean the plug on the back of the front panel with a cotton cloth dipped in isopropanol.
Display (LCD)
The frequency, time, and activated functions are shown on the display.
NOTE:
The display is of the LCD type (liquid crystals). At low temperatures, this type of display has a longer response time. This is not a fault and the display returns to normal when the temperature is normalized.
Station memory/shortcut buttons (M1-M6)
Up to 6 radio stations can be saved in the station memory and be selected with the shortcut buttons M1-M6.
Saving radio station
- Select frequency band (if the right band has not already been selected).
- Set the required station with the stepping button for frequency setting and track selection.
- Press the shortcut button under which the set station is to be saved for at least 2 seconds. The shortcut number of the set station is shown on the display and a short audio prompt is given to acknowledge it.
Shortcut to the saved radio station
- Select frequency band ( if the right band has not already been selected).
- Tap the required shortcut button to set the station.
USING MP3/SD/USB Play/pause and the first track
Tap the M1 button to pause the playback of the MP3 file. To resume playback, press the button again.
Searching on intro
Press the M2 button to automatically play the first 10 seconds of each track in the program source. To return to normal playback of the required track, press the button again.
Repetition
Press the button M3 to activate the repetition function in the sequence:
- Repeat ALL ➔ Repeat ONE TRACK ➔ Repeat FILE.
Random playback
Press the M4 button to activate the playback of the tracks in random order. To stop random playback, press the button again.
Display of metadata for MP3 file (SD/MMC card and USB memory)
The tracking number on the file and elapsed playing time are shown in the display when playing files. If the program source is ID3 compatible the following metadata is shown, in addition to the elapsed time and track number, if the DISP button is pressed:
- track title
- heading
- artist name
- album name
- file name/genre.
Navigation and selection of files and tracks
There are four ways of navigating through and selecting files and tracks.
With the up and down stepping button
Press the up or down arrow button to jump one step forward or back from the track being played.
10 tracks forward/back
Press the button to change the file up (M6)/F+ or down (MS)/F for more than 1 second to jump 10 tracks forward or back.
Changing files up/down
Tap the button to change file up (M6)/F+ or down (MS)/F- to jump one file level up or down.
Navigating with station search funding
If the station search button AS is pressed once in MP3 mode the search message TRK-SCH is shown on the display. It is then possible to browse to the required track number directly by turning the volume dial. When the required track number is shown, press the volume dial to confirm the selection.
USB PORT
Starting use mode
- Insert the USB device carefully, but firmly. The device should go all the way into port (A). The text USB-LOAD is shown in the display to indicate that the USB device is connected correctly and that downloading has started. FIG. 12

- It does not matter which program source is set (Tuner, SD/MMC, AUX, etc.) – as soon as a USB memory is inserted the unit switches automatically to the program source USB. FIG. 13

- The playback functions for files in a USB memory are the same as for normal MP3 files.
WARNING!
If the USB device is large and/or heavy this can cause permanent and serious damage to the main unit and obstruct access to the buttons on the front panel. USB units should therefore be connected via an extension cord (sold separately).
Stopping use playback
- When the USB memory is taken out the unit switches automatically to radio mode. The SRC button can be used to switch to another program source.
- The SRC button can be used to switch to USB mode when the USB device is connected, or to switch between all other available program sources. FIG. 14

Technical data for USB funding
- Supports up to 32 GB USB flash memory
- Supports up to 9999 tracks/titles
- Supports USB 1.1
- Supports USB 2.0 (with the same transfer speed as version 1.1)
- Support for file manager FAT12, FAT16, FAT32
- The maximum power consumption for a connected USB device is 500 mA
IMPORTANT:
Be careful when connecting and disconnecting USB devices – risk of damaging use port and device.
Compatibility
The main unit may be incompatible with some USB devices, especially those that require drive routines to be installed. Always check that the selected USB device is actually compatible with this main unit.
NOTE:
The main unit is not compatible with external hard disks.
SD/MMC
Starting SD/MMC mode
- The SD/MMC card slot is on the top of the front panel. FIG. 15

- Insert the SD/MMC card in the slot, the right way round, until it clicks in place.
- The text SD-MMC is shown on the display to indicate that the SD or MMC card has been correctly inserted. When the SD or MMC card is inserted the MP3 file is automatically read in and the playback starts.
- It does not matter which program source is set (Tuner, SD/MMC, AUX, etc.) – as soon as the SD or MMC is inserted the unit switches automatically to program source SD/MMC.
- The playback functions for SD and MMC files are the same as for normal MP3 files.
Stopping playback from SD and MMC cards
- Press the edge of the inserted SD or MMC card to release the card from the slot. When the card is taken out the unit switches automatically to the previously set program source.
- The SRC button can be used to switch to SD/MMC mode when an SD or MMC card is inserted or to switch between all other available program sources.
Technical data for SD/MMC funding
- Supports up to 32 GB SD/MMC card
- Supports up to 9999 tracks/titles
- Support for file manager FAT72, FAT76, FAT32
- A. Front
- B. Back FIG. 16

IMPORTANT:
Check that the micro SD/MMC card is the right way round before inserting it in the card slot. Never put the SD or MMC card in the wrong way round, this will damage the slot and the card.
BLUETOOTH
Communication
- Activate the Bluetooth function in your mobile phone and select “MARQUANT019”.
- The text BT ON is shown in the display after correctly pairing it with your phone.
How to use
Receive call
Incoming calls are shown with the caller’s number on the display. Press the green button to answer the call. Press the red button to end the call.
Play Music
To play music saved on the mobile phone, switch to Bluetooth mode on the front panel and go to Bluetooth Music mode. The unit plays the music saved in the phone. Note that not all mobile phones support Bluetooth and Bluetooth Music.
































