American Standard 607B322 IoT DetectLnk Flush Valve Piston-Type for Toilet Owner’s Manual
Symbols


American Standard is devoted to making life, in the heart of your home, better every day…
…so, thank you for inviting us in! With the very best in kitchen and bathroom products, we are here to help make your life happier, healthier and simpler. Our commitment to quality, innovation and performance has made us part of your everyday routine for nearly 150 years, and we look forward to being a part of your life for many years to come.
Learn more at www.AmericanStandard.com
REGISTER YOUR WARRANTY
Try the easy-scan QR code to quickly enter your information or find your product’s detailed warranty here:
www.AmericanStandard.com/warranty
Registering allows you to keep your product information safe, and us the ability to contact you in the event of a product recall or any news about your purchase.
And if ever you have a question or need help…?
Call us at 1-855-815-0004
IoT DetectLnk™ Flush Valve,
Piston-Type for Toilet & Urinal 607B322 / 607B501 / 607B505
Image shown may vary from product purchased
INSIDE THE BOX

POWER KITS SOLD SEPARATELY
PWRX Power Kit PK00.WRK
Hard-Wired AC Power Kit PIOT.HAC PK00.BBU
Hard-Wired AC & Multi-AC Power Kit PIOT.MAC / PIOT.HAC PK00.BBU
RECOMMENDED TOOLS
Installation steps will indicate which tools should be used with asscociated letter
- Teflon Tape

- Flat Blade Screwdriver

- Adjustable Wrench

- Hacksaw

- Rubber Wrench

- Tape Measure

- Tubing Cutter

- File

- 2.5 & 1.5 mm Hex Wrench

- Solder & Torch

NOTE TO INSTALLER: Please give this manual to the customer after installation.
To learn more about American Standard Selectronic® Products visit our website at: www.americanstandard-us.com or e-mail us at: [email protected]
For Parts, Service, Warranty or other Assistance, please call (844) CRT-TEAM / (844) 278-8326 (In Toronto Area only: 1-905-306-1093)
INSTALLATION INSTRUCTIONS
ROUGHING-IN DIMENSIONS
GENERAL DESCRIPTION: SELECTRONIC® PROXIMITY TOILET FLUSH VALVE
Concealed Flushometer for 1-1/2″ Top Spud Fixtures
CAUTION: Use only American Standard supplied transformers and cable sets. Using non-AS supplied cables, or cutting, splicing or modifying any components will void the warranty.

*Note: The Critical Line (-C-L-) on Vacuum Breaker must typically be 6″ (152 mm) min. above fixture. Consult Codes for details.
PRIOR TO INSTALLATION
Note: Prior to installing the Selectronic ™Flush Valve the following items must be installed.
- Toilet
- Drain line
- Water supply line
IMPORTANT:
- All plumbing and electrical wiring should be installed in accordance with applicable codes and regulations.
- The use of water hammer arrestors is strongly recommended for commercial applications. All piping behind the walls should be properly secured and fastened.
- Water supply lines must be sized to provide an adequate volume of water for each fixture.
- Flush all water lines prior to operation (See Step 3). Dirt and debris can cause flush valve to run continuously.
- With the exception of Stop Valve Inlet, DO NOT use pipe sealant or plumbing grease on any valve component or coupling!
- Protect the chrome or special finish on the Flushometer. DO NOT USE toothed tools on finished surfaces to install or service these valves. Also see “Care and Cleaning” section of this manual.
- This product contains mechanical and/or electrical components that are subject to normal wear. These components should be checked on a regular basis and replaced as needed to maintain the valve’s performance
FLUSH VALVE INSTALLATION
INSTALL WALL BOX

- Frame out a 389 mm x 265 mm (15-5/4″ X 10-3/8″) rough opening in wall for the WALL BOX (1) at the dimension shown.
- Fasten one end of the SAFETY CHAIN (2) and CLIP (4) to the WALL BOX (1) with NUT & SCREW (3) provided.
- Install the WALL BOX (1) into rough opening in the wall Level and secure the WALL BOX (1) to the wall opening with screws.
Important: Front face of WALL BOX (1) should be flush with finished wall. - Cut a 2” hole for outlet pipe at dimension shown.*
INSTALL SWEAT ADAPTER

Turn off hot and cold water supplies before beginning.
Note: Stop Valve inlet is 1” NPT. For optional sweat connection, install Sweat Adapter (1) (Supplied) for 1″ copper pipe supply line.
- Clean the end of the supply pipe. Push the threaded SWEAT ADAPTER (1) until it is seated against the internal stop. Sweat the ADAPTER (1) to the pipe.
- Install the STOP VALVE (2) to the water supply line with the outlet positioned as required (Behind the Wall).
- Support piping as required.
FLUSH OUT SUPPLY LINES

- Open STOP VALVE (1).
- Turn on water supply line to flush line of any debris or sediment.
- Close STOP VALVE (1) and turn off water supply line.
INSTALL VACUUM BREAKER AND FLUSH CONNECTIONS
Note: Toilet or urinal graphics may vary depending on model.
- Place the SPUD FLANGE (1) over the spud on the Fixture.
- Place FRICTION WASHER (3) and SEAL WASHER (4) inside SPUD COUPLING NUT (2) and thread onto Spud. Do not tighten fully

- Remove the ELBOW COUPLING NUTS (6, 6a) from the CHROME ELBOW (5). Make sure you have a TAPERED RUBBER WASHER (7), PLASTIC SUPPORT (8) and SQUARE SEAL WASHER (9).
- Install the SQUARE SEAL WASHER (9) onto the PLASTIC SUPPORT (8) if not already installed. Insert the PLASTIC SUPPORT (8) into the VERTICAL OUTLET PIPE (10). Slide the ELBOW COUPLING NUT (6) onto the VERTICAL OUTLET PIPE (10). Connect the ELBOW COUPLING NUT (6) to the CHROME ELBOW (5) and tighten fully.

- Insert the VERTICAL OUTLET PIPE (10) with assembled CHROME ELBOW (5) into the SPUD COUPLING NUT (2) and push it down. Do not tighten fully.
Note: Cutting the VERTICAL OUTLET PIPE (10) may be necessary for the CHROME ELBOW (5) center line to line up with opening in the wall. - Measure and cut the HORIZONTAL OUTLET PIPE (11) to length required.
Important: Make sure that there is a minimum of 1-1/4″ for engagement with elbow when making your measurement. - Remove the ELBOW COUPLING NUT (14) from BRASS ELBOW (12) and slide it onto the HORIZONTAL OUTLET PIPE (11). Install the SQUARE SEAL WASHER (13) onto the PLASTIC SUPPORT (15) if not already installed. Insert the PLASTIC SUPPORT (15) into the HORIZONTAL OUTLET PIPE (11). Connect the ELBOW COUPLING NUT (14) to the BRASS ELBOW (12) and tighten fully.

- From behind the wall, insert the assembled BRASS ELBOW and HORIZONTAL OUTLET PIPE (12, 11) through the hole in the wall. Install WALL ESCUTCHEON (16) onto the HORIZONTAL OUTLET PIPE (11). Slide the ELBOW COUPLING NUT (6a) and TAPERED RUBBER WASHER (7) onto the HORIZONTAL OUTLET PIPE (11). Push the HORIZONTAL OUTLET PIPE (11) into the CHROME ELBOW (5). Tighten ELBOW COUPLING NUT (6a) but not fully.
- For back spud installations: Follow steps #1 and #2 to install the spud coupling kit. Push the HORIZONTAL OUTLET PIPE (11) into the spud connection on the back of the fixture. Do not tighten fully. If spud coupling kit is not required, install HORIZONTAL OUTLET PIPE (11) into back spud on fixture and hand tighten.
- All installations: If required, cut scored VACUUM BREAKER PIPE (17), leave a minimum of 1-1/4″ (32mm) of pipe to ensure engagement with compression coupling. Assemble the ELBOW COUPLING NUT (14a) and TAPERED RUBBER WASHER (19) onto the VACUUM BREAKER PIPE (17). Install VACUUM BREAKER PIPE (17) into BRASS ELBOW (12) and hand tighten COUPLING NUT (14a).

Note: If cutting VACUUM BREAKER PIPE (17) to size, note that Critical Line (C/L) on Vacuum Breaker must typically be 6″ (152mm) above fixture. Consult Code for details.
INSTALL FLUSH VALVE
Insert the side ADJUSTABLE TAILPIECE (1) on the FLUSH VALVE (2) into the STOP VALVE (3). Lubricate the TAILPIECE O-RING (4) with water if necessary. Thread the COUPLING NUT (5) onto the STOP VALVE (3) and tighten lightly.
Important: Do not use lubricants (other than water) or any type of thread sealing paste or tape.
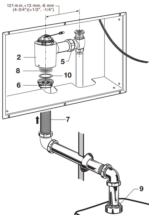
CONNECT FLUSH VALVE TO VACUUM BREAKER TUBE

- Align the FLUSH VALVE BODY (2) directly above the VACUUM BREAKER TUBE (7) and VACUUM BREAKER COUPLING NUT (6). Make sure that GASKET (10) is installed.
Note: There is a +13mm, -6mm (+1/2″-1/4″) tolerance for the 121mm (4-3/4) dimension. - Pull the VACUUM BREAKER TUBE (7) up to meet the threaded FLUSH VALVE (2) and hand tighten the COUPLING NUT (6). Align all components of the flush valve assembly.
- Lightly tighten the TAILPIECE COUPLING NUT (5) connection first, then the VACUUM BREAKER COUPLING NUT (6) and finally the SPUD COUPLING NUT (9). Once alligned correctly, use a wrench to tighten all couplings to make water tight connections.
- Secure piping behind wall as required.
- The sensor wire from the toilet or urinal will need to be routed to the concealed wall box.
PWRX POWER KIT (PK00.WRK)


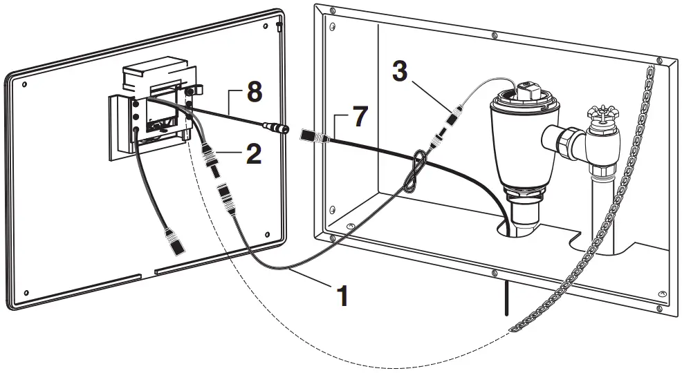
- Connect one end of the 27″ EXTENSION CABLE (1) to a SENSOR CABLE (2). Connect the other end of the 27″ EXTENSION CABLE (1) to the SOLENOID CABLE (3).
- Connect BATTERY (6) to available SENSOR CABLE (5) and install the CONNECTOR LOCKING DEVICE (10) on battery – sensor connection. Place BATTERY (6) to electrical box.
- (Only applicable with ASA IoT Ceramics) Connect TOILET OR URINAL BOWL SENSOR CABLE (7) to the SENSOR CABLE (8) in the concealed box.
HARD-WIRED VERSION (PK00.HAC POWER KIT)

- Connect one end of the first 27″ EXTENSION CABLE (1) to SENSOR CABLE (5). Connect the other end of the 27″ EXTENSION CABLE (1) to the SOLENOID CABLE (3).
- Connect the second 27″ EXTENSION CABLE (4) to the BACK-UP BATTERY KIT (10), and the other end of the 27″ EXTENSION CABLE (4) to available SENSOR CABLE (6).
- Connect the BACK-UP BATTERY (10) to the HARD-WIRED AC TRANSFORMER (12).
- Connect black and white power line connections to HARD-WIRED AC TRANSFORMER (12) and mount onto ELECTRICAL BOX (11).
- (Only applicable with ASA IoT Ceramics) Connect SENSOR CABLE (7) to CONTROL BOX CABLE (8).
MULTI-AC VERSION (DAISY CHAIN); (PK01.MAC POWER KIT

Important: Disconnect AC Power Supply from wall outlet before making daisy-chain connections.
Note: For Unit #1 installation instructions, refer to AC version section (page 8). For subsequent Units…
- Take the first 27″ EXTENSION CABLE (1) and connect one end to the solenoid cable and connect the other end to a sensor cable.
- Take the second 27″ EXTENSION CABLE (2) and connect one end to the available sensor cable, the other end to the BATTERY BACK-UP KIT (5).
- Connect the other end of the BATTERY BACK-UP KIT (5) to one of the two terminals at the one end of Y-ADAPTER (3).
- Take the 10′ EXTENSION (4) and connect one end to the single terminal of Y-ADAPTER (3), and the other end to available terminal of the previous unit’s Y-ADAPTER (3a).
- Repeat process for each subsequent unit.
- Place Y-ADAPTERS (3) into respective electrical box.
- Plug in AC power supply into wall outlet once all daisy-chain unit connections have been made.
CAUTION: Use only American Standard supplied transformers and cable sets. Using non-AS supplied cables, or cutting, splicing or modifying any components will void the warranty.
MAINTENANCE
INSTALL NEW BATTERY

- Remove the COVER PLATE (2) by removing the four SCREWS (1).
- Disconnect the OLD BATTERY (3) and replace with new battery.
- Install COVER PLATE (1).
REPLACE BACK-UP BATTERY KIT FOR AC VERSION

- Remove old back-up battery by disconnecting the two wires.
- Install new kit by connecting it to the two wires.
ADJUST STOP VALVE

IMPORTANT: To avoid overflowing, the STOP VALVE (3) must never be opened to the point where the flow from the valve exceeds the flow capacity of the fixture. Valve is designed to provide stated flush volume with a 25 GPM flow rate.
- After installation is complete, remove COVER PLATE (1). Peel off the PROTECTIVE FILM (2) from the sensor. Standing to one side, block the sensor with your hand for 10 seconds. Remove your hand and listen for audible “click” from within the valve.
- Turn on STOP VALVE (3) 1/4 turn to 1/2 turn (CCW) and test for leaks.
Note: Unit may flush for approximately 5 to 10 seconds when water is first turned on. If flow persists, turn water off and repeat step #1 above. - Actuate the FLUSH VALVE:
A) Press Button or cover sensor with Hand for - Seconds.
NOTE: Stand outside of sensor detection area.
B) Remove hand from detection area; unit will flush in approximately 3 seconds. - Adjust STOP VALVE (3) after each flush until the stated flush volume is achieved, no splashing occurs and the fixture is properly cleansed.
- Attach the COVER PLATE (1) to the WALL BOX (4) with the four MOUNTING SCREWS (5). Use a 2.5mm Hex Wrench supplied to secure COVER PLATE (1).
SET DETECTION RANGE (IF REQUIRED)

- Once the device is paired, you may edit the settings by navigating to Device Management screen and finding the DEVICE CARD (1). You must be in Bluetooth range to the device.
- Press on the DEVICE CARD (1) and scroll down to find the CONNECT (2) button.
- Once the app connects to the device, a “Settings” button will be available.
- Enter the Settings screen and adjust IR sensor distance as needed and press “Apply”
- Actuate the flush valve. Cover sensor with a piece or cardboard or similar item for 10 seconds. Unit will flush for approximately 3 seconds..
Flush durations should not be modified unless specified in the by manufacturer.
CARE INSTRUCTIONS
DO: CLEAN WITH CLEAR WATER. DRY WITH A SOFT COTTON FLANNEL CLOTH.
DO NOT: DO NOT CLEAN THE PRODUCT WITH SOAPS, ACID, POLISH, ABRASIVES, HARSH CLEANERS, OR A CLOTH WITH A COARSE SURFACE.
TROUBLESHOOTING: TOILET/URINAL FLUSH VALVE
| Valve will not operate. | Stop valve is closed. | Open stop valve. |
| Supply valve is closed. | Open supply valve. | |
| Battery/The electric wire(s) is not connected. | Connect the wires. | |
| Sensor lens is dirty. | Clean lens. | |
| Reflective surface in front of sensor. | Remove the reflective surface from in front of the sensor. | |
| Detection range not adjusted properly. | Adjust the detection range. | |
| The infrared sensor or the actuator is out of order. | Contact distributor for replacement. | |
| Battery is critical. | Press the button for 3-5 seconds. If LED does not blink blue, the battery is critically low and needs to be replaced. | |
| Flush Valve Electronic is faulty. | Replace Flush Valve Electronic. | |
| No power provided by battery/ power supply. | Replace battery/power supply. | |
| Flush valve does not activate after user leaves. | Sensor does not recognize a user. | Using the DetectLnkTM app, enter the device settings and adjust IR Distance. |
| Battery/Power Supply is disrupted. | Verify connection to sensor. | |
| Check available voltage where Battery/ Power supply is connected with sesnor with DC voltmeter. 5.8 to 6.5 VDC is required. | ||
| Unit is constantly flushing. | Solenoid may be stuck open. | Press the button for at least 3-5 sec.If the LED starts blinking blue, but the water does not stop, the Solenoid needs to be replaced.If the LED does not blink blue and water does not stop, the Battery needs to be replaced. |
| Insufficient volume of water to adequately fixture. | Stop valve is not open enough. | Open stop valve for desired volume of water. |
| Insufficient flow rate or pressure at supply line. | Consult fixture guide for minimum gallons per minute flow and running pressure for satisfactory performance. | |
| Water pressure is lower than recommended. | Fully open the angle stop, then using the DetectLnkTM app, enter the device settings and increase the flush durations. Test at every 0.125 sec. increment. | |
| Valve is flushing too long or not shutting off. | Trip mechanism not seating properly due to foreign material between trip mechanism and seat. | Disassemble parts and rinse thoroughly. |
| By-pass orifice is plugged or partially plugged. | Examine by-pass orifice and clean if necessary, being certain not to enlarge orifice opening. | |
| Line pressure is not adequate to force trip mechanism to seal. | Pressure is inadequate or has dropped below minimum operating range.Steps should be taken to increase the line pressure. | |
| Water splashes out of fixture. | Supply flow rate is higher than is necessary. | Adjust downward on control stop. |
| Lime accumulation on vortex or spreader holes of fixture. | Remove the lime build up. | |
| Flush is not considered quiet | Control stop is not adjusted for quiet operation. | Adjust the control stop for quiet operation keeping in mind the fixture evacuation requirements. |
| Fixture is contributing to noise. | Check noise created by fixture by placing a cover over the bowl opening to separate valve noise from bowl noise. If it is determined the fixture is too noisy, consult with fixture manufacturer. | |
| Piping system is source of noise. | High pressure in the system can sometimes be controlled by the stop valve. Other sources of noise may be the absence of air chamber and shock arrestors, loose pipes, improper size pipes, etc. In these cases the building engineer should be consulted. | |
| Flush valve “ghost” flushes or activates randomly with no user present. | Sensor lens is dirty | Clean lens |
| Sensor is detecting stall door. | Using the DetectLnkTM app, enter the device settings and adjust IR Distance. | |
| Unit only flushes with the button and not automatically. | User Detection minimum timing may be too long. | Using the DetectLnkTM app, enter the device settings and verify Detect Interval setting. This is the time a user needs to be in range, before the automatic flush starts. Recommended time = 5 sec. |
| Device is not communicating | Device lost power. | Double check power connections and supply. If using AC version, check backup battery & replace. |
| Multi AC power cable was not connected. | Ensure that cable is securely connected. | |
| Sensor not advertising. | Press Button for 3 second, then Blue LED stats blinking, connect through DetectLnkTM app |
Have a question or need help on install?
For questions or help on installation call us at 855-815-0004.
APPENDIX A
Supplier’s Declaration of Conformity 47 CFR § 2.1077 Compliance Information
Unique Identifier: IoT Detectlnk TPS/UPS and 607B322 / 607B501 / 607B505
Responsible Party : AS America, Inc. d/b/a LIXIL Americas
Address :
AS America, Inc. d/b/a LIXIL Americas
865 Centennial Ave.
Piscataway, New Jersey 08854
www.americanstandard.com | www.dxv.com | www.grohe.com/us | lixil.com
FCC Compliance Statement : According to FCC Part 15
This equipment has been tested and found to comply with the limits for a Class B digital device, pursuant to part 15 of the FCC Rules. These limits are designed to provide reasonable protection against harmful interference in a residential installation. This equipment generates, uses and can radiate radio frequency energy and, if not installed and used in accordance with the instructions, may cause harmful interference to radio communications. However, there is no guarantee that interference will not occur in a particular
installation. If this equipment does cause harmful interference to radio or television reception, which can be determined by turning the equipment off and on, the user is encouraged to try to correct the interference by one or more of the following measures:
- Reorient or relocate the receiving antenna.
- Increase the separation between the equipment and receiver.
- Connect the equipment into an outlet on a circuit different from that to which the receiver is connected.
- Consult the dealer or an experienced radio/TV technician for help.
- The equipment complies with the safety requirements for RF exposure for mobile (>20 cm) use conditions in accordance with FCC rule part 2.1091.
This device contains licence-exempt transmitter(s)/receiver(s) that comply with Innovation, Science and Economic Development Canada’s licence-exempt RSS(s). Operation is subject to the following two conditions:
- This device may not cause interference.
- This device must accept any interference, including interference that may cause undesired operation of the device.
- The equipment complies with the safety requirements for RF exposure in accordance with RSS-102 Issue 5 section 2.5.2 for mobile (>20 cm) use conditions.
TELL US WHAT YOU THINK!
Please leave us a product review or story at AmericanStandard.com/reviews
Find installation videos at
youtube.com/americanstandard
Register your warranty and sign up for an idea-filled newsletter at
AmericanStandard-us.com/support/warranty
PLEASE COMPLETE AMERICAN STANDARD WARRANTY REGISTRATION PROCESS AND SAVE THIS WARRANTY INFORMATION IMPORTANT: Registration of the sink must be completed for this warranty to become effective. Your registration will make it easier to contact you in the event of a product recall.* INSTRUCTIONS: Register your sink at www.americanstandard.com. Please save your proof of purchase (sale receipt). If you need assistance or do not have access to our website, please contact American Standard
Customer Care at: (800) 442-1902. An American Standard representative will assist in completing the warranty registration.
*In California, your warranty rights remain intact even if you do not complete the registration process.
SHARE YOUR NEW PRODUCT!
Tag us @american_standard on Instagram and show us how your new product looks.
WANT MORE INFO?
For questions or help call us at 855-815-0004, or visit AmericanStandard.com
UNITED STATES
American Standard Brands 865 Centennial Ave.
Piscataway, New Jersey 08854
Attention: Director of Customer Care
For residents of the United States, warrantyinformation may also be obtained by calling the following toll free number: (855) 815-0004
www.AmericanStandard.com
CANADA
LIXIL Canada, Inc. 5900 Avebury Rd.
Mississauga, Ontario
Canada L5R 3M3
Toll Free: (800) 387-0369
AmericanStandard.ca/support/warranty
MEXICO
American Standard B&K Mexico S. de R.L. de C.V.
Via Morelos #330
Col. Santa Clara
Ecatepec 55540 Edo. Mexico
Toll Free: 800-839-1200
AmericanStandard.com.mx/garantia





























