
Thank you for purchasing your new AIWA ‘ POWER BUDS’ Bluetooth Ear Buds.
We recommend that you spend some time reading this instruction
manual in order that you fully understand all the operational features it
offers. Read all the safety instructions carefully before use and keep this
instruction manual for future reference.
SAFETY PRECAUTIONS
- Read all the instructions carefully before using the unit and keep them for future reference.
- Check that the voltage marked on the rating label matches your mains voltage.
- Avoid extreme degrees of temperature, either hot or cold place the unit well away from heat sources such as radiators or gas/electric fires.
- Avoid exposure to direct sunlight and other sources of heat.
- To reduce the risk of fire, electric shock or product damage, do not expose this unit to rain.
- Always disconnect the unit from the mains supply before connecting/disconnecting other devices or moving the unit.
- Unplug the unit from the mains socket during a lightning storm.
Contents

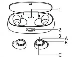
PRODUCT OVERVIEW

1. Charging Case Status Indicator Lights
2. Charging Case Opening Button
3. Multiple Function Button (MFB ) to control:
A. Volume +/ Next track
B. Mic
C. Volume -/Previous track
OPERATION (For pair & single use )

1.Power on :
Auto power on: Take out the ear buds from charging
case, they will automatically switch on, ‘Green’ and
‘Red’ lights flashing 3 Times and along with voice
confirming: “Power on”
Power on manually:
‘ ’3 seconds, ‘Green’ and
‘Red’ lights flash 3 times along with voice confirming:
“Power on”
2.Ear buds pairing : After turning on the ear buds, they
will pairing automatically and have voice confirming :
“Left channel” “Right channel”. When the ear buds is
pairing, ‘Green’ and ‘Red’ light will flashing.

3.Connect to mobile phones : ‘Green’ and ‘Red’ flashing
to solid ‘Red’ light along with voice confirming
“Connected”.

4.Music play / pause: Short press ‘ ’ to play /pause
music.
5.Next / Previous track: When in play mode, ‘click’
‘Volume +/-’ button, to change music to the next /
previous track.

6.Volume +/-:In ‘call’ or ‘play’ mode, long press
‘Volume +/-’, to increase / decrease volume.

7.To receive call:Click ‘
’ to receive a call.
8.Hang up:Click ‘
’ to hang up a call.
9.Re-Dialing last call :When connected and in
stand-by mode, double click ‘
’ .
10.To reject call:Double Click ‘
’ to reject call
upon incoming.
11.Cancel Dialing:Whilst dialing number, ‘short’
press ‘ ’.
12.When operating Siri /Google assistant:When in
‘stand-by’ or ‘playing’ mode, long press “ ” for
about 1.5 seconds, hearing a single tone and
hands-off, earbuds activate Siri (iPhone) /Google
assistant(Android), simply make your command.
13.To Auto Re-connect :After ear buds paired and
connected to the mobile phones, ear buds power off
and power on again,Bluetooth connect automatically
(under mobile phone Bluetooth turning on status).
14.Low battery Warning :When battery is less than
20%, the indicator will flash red every 5 seconds, and
will have voice warning of “Low Battery” every 5 mins.
15.Low battery and Power off :When battery is too
low to power, the ear buds then will power off
automatically, ‘Red’ light will flash along with “Power
Off” voice confirmation.
16.To switch off by manually: Long press ‘
’ for
about 5 seconds, ‘Red’ light flash 3 times along with
“Power off” voice confirmation.
HOW TO CHARGE EAR BUDS
- Put L and R ear buds respective slots in the charging
case, they will recharge automatically. - When the ear buds are charging, indicator will flash
‘Red’ color, - When fully charged the indicator will turn off.
- When ear buds are charging, the charging case
indicator will show the battery charging status as
below:
100% Battery ’●●●●’
75% Battery ’●●●’
50% Battery ’●●’
25% Battery ’●’
This symbol on the product or in the instructions means that your electrical and electronic equipment should be disposed at the end of its life separately from your household waste. There are separate collection systems for recycling in the EU. For more information, please contact the local authority or your retailer where you purchased the product.
Notes for battery disposal
The batteries used with this product contain chemicals that are harmful to the environment. To preserve our environment, dispose of used batteries according to your local laws or regulations. Do not dispose of batteries with normal household waste. For more information, please contact the local authority or your retailer where you purchased the product.
Read More About This Manual & Download PDF:
Aiwa True Wireless Stereo Earbuds AH-TW32 User Manual – Optimized PDF
Aiwa True Wireless Stereo Earbuds AH-TW32 User Manual – Original PDF



















