CITRIC PAC-IF01MNT-E A-M Converter
Instruction Manual
INSTALLATION MANUAL FOR A-M CONVERTERPAC-IF01MNT-E
For models in which this component is used, see the separate sheet. SAFETY PRECAUTIONS
SAFETY PRECAUTIONS
- Before starting the installation, read the “Safety Precautions” described below.
- The following precautions must be observed as they describe serious safety matters.
- The safety precautions are described with the degree of danger.
WARNING When you handle it wrong, it can lead to death or serious injury.
CAUTION When you handle it wrong, it can lead to injury or damage to buildings and furniture. - After installation, make test operation and confirm that it works properly, and explain the safety precautions, operation method, and maintenance to your customers.
Tell your customers to keep this installation ion manual together with the operation manual with them, and when they give or sell this machine to other person put this installation manual and operation manual with it.
WARNING
The installation must be done by dealer or qualified person.
- If the customers do the installation by themselves and it is not perfectly installed it can cause a water leak, electric shock, or fire.
The installation must be done in accordance with this manual. - If the installation is not perfectly done, it can cause a water leak, electric shocks, or fire.
Never try any modification. - For repair, ask your dealer. If the machine is not modified or repaired completely, it can cause water leaks, electric shock, or fire. Never move or reinstall the machine by the customers.
- If the installation is not perfectly done, it can cause water leaks, electric shocks, or fire. Ask your dealer or qualified person.
The wiring must be securely done by using the proper cable. The wires should be connected to the terminals not to have the external force of the cable. - Faulty connections can cause heat or fire. The terminal cover (panel) of the unit must be installed securely.
- Faulty installation can cause fire or electric shock by dust or water. The electric installation must be done by a qualified person in accordance with this installation manual. Use the separate circuit only for this machine and use rated voltage and circuit breaker.
- If the electric circuit power is not sufficient or the wiring is not properly done, it can cause electric shock or fire.
Before electric wiring
CAUTION
Install a circuit breaker depending upon the location.
- Without a circuit breaker, it can cause electric shock. Use standard wires which meet current capacity.
- Otherwise, it can cause short-circuit, heat, or fire. Wires must not have tension.
- It can cause snipping, heat, or fire.
Put ground wire. - Never ground to gas pipe, water pipe, lightning conductor, or telephone ground wire. The faulty ground can cause short-circuit.
Use proper fuses - If you use larger size fuses or needle wire, it can cause failure or fire.
Before test operation
CAUTION
Turn the power on 12 hours or more before operation.
- If you start an operation as soon as the power is on, it can cause failure. Never turn the power off during the season. Never operate the machine without the panel or guard off.
- It can cause serious injury being caught by a rotating part or burn or electric shock by high voltage part. Never operate the machine without air filter off.
- It can cause failure by dust.
Never operate the switches with your hand wet. - It can cause electric shock. Never touch refrigerant pipes while the machine running.
- The refrigerant pipes become high and low temperature while the machine running. If you touch the pipes by hand, it can cause chilblain or burn. Never turn the power off as soon as the machine stops.
- Wait for 5 minutes or more. It can cause water leaks or failure.
CAUTION
Attention to M-NET connection
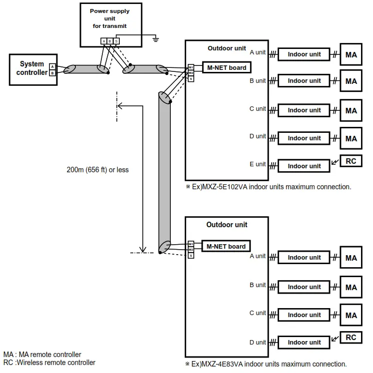
Pay attention to the next points for the wiring of shielded wires.
The shielded wires of M-NET transmission should be connected with the ground wire at any only one place of the unit to be connected.
- It can cause transmission errors due to noise. Centralized control remote controller reads “0403” “6607” error

- Refer to the appendix List of Models to check the applicable models.
- In case the outdoor unit is grounded, connect the ground wire supplied as an accessory to the S terminal (secondary) of the M-NET terminal block and the M-NET Ground terminal inside of the electric box with using the screws supplied.

- If the shield and earth are grounded ithe n two or more locations, the electrical circuit is generated through them, and a potential difference is created because of the impedance difference between or among the ground locations. This may cause noise in the shield. The ground at only one point, then no circuit is created and no noise gets in.
Parts List
(*1) Refer to the appendix List of Models to check the applicable models.
No. | Description | Figure | City | Applicable models | |
| A | B | ||||
| 1 | M-NET Board | ![]() | 1 | 0 | 0 |
| 2 | Fixture | ![]() | 2 | ||
| 3 | Screw (M3x10) | ![]() | 2 | 0 | |
| 4 | Terminal block (M-NET) | ![]() | 1 | 0 | |
| 5 | Terminal screw (M4x25) | ![]() | 1 | 0 | |
| 6 | Label | ![]() | 1 | 0 | |
| 7 | Lead wire-A (4 wires) | ![]() | 1 | 0 | 0 |
| 8 | Lead wire-B (2 wires) | ![]() | 1 | 0 | |
| 9 | Ground wire and screw (M4x8) | ![]() | leach | 0 | 0 |
| 10 | Fastener | 2 | 0 | ||
Wiring method for M-NET
Caution for wiring
- Never supply voltage 208V-230VAC to the terminals for M-NET transmission. If the voltage is supplied, it can break the electronic parts on the M-NET board.
- Use the shielded cable (CVVS, CPEVS, MVVS) of 1.25mm² (AWG 16) with 2 wires (polarity is not a concern) for the transmission cable. Never use transmit wires of different systems with a cable that contains multi wires. The communication of transmitting signals will not work properly and it can cause the wrong operation. w1
- The power consumption coefficient of the M-NET board is “1”.
*1 “Power consumption coefficient” is a coefficient to calculate the relative power consumption of the devices that receive power through the M-NET transmission cable.

Switch setting
Before installation
Set the M-NET address on the M-NET board in advance before installing on the electrical box.

- M-NET head address setting
The setting should be done by rotary switches SW11 and SW12 on the M-NET board. (Factory settings are all Zero) Make sure to set the M-NET address within the range of 01 to 50. When installing two or more outdoor units, do not use the same number more than once for the M-NET address. - Indoor unit connection switch setting
Set each indoor unit to ON or OFF with SW1.
M-NET address setting Starting with the M-NET head address set with SW11 and SW12 (Ex 01), the M-NET address is automatically allocated in numerical order to each indoor unit that is connected (Ex 02, 03, 04, 05, 06).

An example of an M-NET address setting

Note
M-NET address should be set within the range of 01 to 50.
For instance, when the head address set with SW11 and SW12 is [47] and you are to connect 5 indoor units A, B, C, D, E, the addresses for each indoor unit are A[47], B[48], C[49], D[50] and E[51]. Since the number for E exceeds 50, this setting is not available.
(3) SW1-8 setting
| SW1-8 Selection | Function | Function details | Initial setting | Effective timing |
is the switch position | Turn the switch ON when MA remote controller or wireless remote controller is connected to an indoor. | <FUNCTION> | ON | Always |
is the switch position | Turn the switch OFF when MA remote controller or wireless remote controller is NOT connected to the indoor unit.![]() |
Group setting prohibited
A group setting for more than one outdoor unit is not available. (Each outdoor unit is one group.)
[Good example]

Installation procedure Applicable model: Group A

[*1] Pass ⑦Lead wire-A and ⑧Lead wire-B through the upper clips (left side) on the control P.C. board holder.
[*2] Pass ⑧Lead wire-B through the notch in the top of the terminal block metal plate.
- Remove the three screws and remove the control P.C. board holder.
- Attach ⑦ Lead wire-A to CN5 (Color: White) on the ①M-NET Board and ⑧Lead wire-B to CN2M (Color: White) on the ①M-NET Board.
- Install the ①M-NET Board to which the wires were attached in the previous step to the back of the control P.C. board holder with the ②Fixture and ③Screw (M3 x 10). wet the addresses on the ①M-NET Board before installing it into the electrical parts box. be sure that the M-NET board is installed in the correct orientation (so that the CN2M is upwards and CN5 is downwards).
- Use the three screws removed previously to install the control P.C. board holder in the previous position.
- Use the ⑤Terminal screw (M4 x 25) to fix the ④Terminal block in the position shown in the figure. The ④Terminal block has a boss for positioning. Align the boss with the positioning hole on the metal plate.
- Attach ⑥Label to the position shown in the figure.
- Refer to the wiring diagram, and connect the ⑦Lead wire-A that you previously connected to CN5 on the ①M-NET board to CN741 (Color: Red) on the control P.C. board.
- Refer to the wiring diagram, and connect the ⑧Lead wire-B that you previously connected to CN2M on the ①M-NET board to the M1 and M2 terminals on the ④Terminal block. There is no polarity difference.
(Note 1) If required, connect the shield of the M-NET transmission wire to the main unit using the ⑨Ground wire and screw (M4 x8). (See the Caution on page 2)
(Note 2) Take great care that no lead wire is caught on anything when installing panels.
Installation procedure Applicable model: Group B

【 *1 】Pass ⑦Lead wire-A and ⑧Lead wire-B through the upper clips (right side) on the control P.C. board holder.
【 *2 】Pass ⑧Lead wire-B through the right clips (upper side) on the control P.C. board holder.
- Remove the two screws and remove the control P.C. board holder.
- Attach ⑦Lead wire-A to CN5 (Color: White) on the ①M-NET Board and ⑧Lead wire-B to CN2M (Color: White) on the ①M-NET Board.
- Install the ①M-NET Board to which the wires were attached in the previous step to the back of the control P.C. board holder. wet the addresses on the ①M-NET Board before installing into the electrical parts box. wBe sure that the M-NET board is installed in the correct orientation (so that the CN2M is upwards and CN5 is downwards).
- Use the two screws removed previously to install the control P.C. board holder in the previous position.
- Use the ⑤Terminal screw (M4 x 25) to fix the ④Terminal block in the position shown in the figure. The ④Terminal block has a boss for positioning. Align the boss with the positioning hole on the metal plate.
- Attach ⑥Label to the position shown in the figure.
- Refer to the wiring diagram, and connect the ⑦Lead wire-A that you previously connected to CN5 on the ①M-NET board to CN741 (Color: Red) on the control P.C. board.
- Refer to the wiring diagram, and connect the ⑧Lead wire-B that you previously connected to CN2M on the ①M-NET board 】 to the M1 and M2 terminals on the ④Terminal block. There is no polarity difference
- Bundle the front and back of the coil sections of ⑧Lead wire-B using the ⑩Fasteners as shown in the figure.
(Note 1) If required, connect the shield of the M-NET transmission wire to the main unit using the ⑨Ground wire and screw (M4 x8). (See the Caution on page 2)
(Note 2) Take great care that no lead wire is caught on anything when installing panels.
MITSUBISHI ELECTRIC CORPORATION
HEAD OFFICE: MITSUBISHI DENKI BLDG.. 2-2-3, MARUNOUCHI,
CHIYODA-KU, TOKYO 100-8310, JAPAN










is the switch position
Turn the switch ON when MA remote controller or wireless remote controller is connected to an indoor.
is the switch position

















