EMERSON 860 Spring-Loaded Pressure Vacuum Relief Valve 
WARNING
- Failure to follow these instructions or to properly install and maintain this equipment could result in an explosion, fire and/or chemical contamination causing property damage and personal injury or death.
- Enardo spring-loaded pressure/vacuum relief valve must be installed, operated and maintained in accordance with federal, state and local codes, rules and regulations, and Emerson Process
- Management Regulator Technologies Tulsa, LLC (Emerson) instructions.
- Failure to correct trouble could result in a hazardous condition. Call a qualified service person to service the unit. Installation, operation and maintenance procedures performed by unqualified person may result in improper adjustment and unsafe operation. Either condition may result in equipment damage or personal injury. Only a qualified person shall install or service the spring-loaded pressure/vacuum relief valve.


Introduction
Scope of the Manual
This Instruction Manual provides instructions
for installation, maintenance and parts ordering information for the 860 and 960 Series spring-loaded pressure/vacuum relief valve (SL-PVRV).
Specifications
The Specifications section on this page provides specifications for the 860 and 960 Series spring-loaded pressure/vacuum relief valve. Specification is stamped on the nameplate attached to the relief valve. Refer to Product Identification and Marking section for the nameplate details.
Available Construction
See Figure 3
Inlet Connection Sizes
2 through 6 in. / 50 through 150 mm
Pressure Ranges(1)(2)
- 0.5 to 15.0 psi
- 0.5 to 32.0 oz./sq. in.
- 1.0 to 55.0 in. w.c.
- 2.0 to 138 mbar
Vacuum Pressure Ranges(1)(2)
- 0.5 to 15.0 psi
- 0.5 to 32.0 oz./sq. in.
- 1.0 to 55.0 in. w.c.
- 2.0 to 138 mbar
Construction Materials
- Housing: Aluminum, Stainless steel or
Carbon steel - Seat / Pallet: Polyphenylene Sulfide (PPS) or
316 Stainless steel
(standard above 5 psi) - Pallet Seal: Buna-N, FEP Teflon® or Viton® Hardware: Zinc plated carbon steel or
Stainless steel - Weights: Zinc plated carbon steel, Stainless steel
or Lead - Gaskets: Buna-N, Teflon® or Viton®
Certification
- EN IEC 60079-0:2018
- EN IEC 60079-11:2012
- EN ISO 80079-36:2016
- EN ISO 80079-37:2016
- The pressure limits in this Instruction Manual and any applicable standard or code limitation should not be exceeded.
- Pressure or vacuum setting has an increment of 0.5 psi, 0.5 oz./sq. in., 0.5 in. w.c. or 2.2 mbar.


Product Description
The 860 and 960 Series spring-loaded pressure/vacuum relief valves are designed to handle higher pressure settings than standard dead weight-
loaded valves.The 860 Series is used for pipe-away aplications while 960 Series is used for vent-to-atmosphere applications. Enardo spring-loaded line are designed for pressures up to 15 psig for tanks with higher maximum allowable working pressures.
With proper installation, usage and preventative maintenance, the 860 and 960 Series can supply many years of pressure/vacuum relief with continuous sealing abilities that exceed the most stringent industry standards (1 SCFH at 90% set point per valve). Spring-loaded pressure/vacuum relief valves have the option of weight-loaded pallets in either the vacuum or pressure portion of the valve. The following is the list of the available spring-loaded pressure/vacuum relief valve models. See Figure 4.
- Model 860: Pressure/Vacuum Relief Valve -Pipe-Away
- Model 861: Top Mount Pressure or Side Mount Vacuum Relief Valve – Pipe-Away
- Model 960: Pressure/Vacuum Relief Valve -Vent-to-Atmosphere
- Model 961: Pressure Relief Valve – Vent-to-Atmosphere
- Model 962: Top Mount Vacuum Relief Valve -End of Line
- Model 963: Side Mount Vacuum Relief Valve

Product Identification and Marking
Hazardous Locations
Enardo spring-loaded pressure/vacuum relief valves are available with outer housings of carbon steel, stainless steel or aluminum, as indicated in Figure 5.
Nameplate
A nameplate is attached to the valve and contains the following information:
- Model Number – Ex. 860- 3X4-4211
- Conn. Flange Size and Rating – Ex. 3 in.
- Serial Number
- Tag Number (Optional)
- Notified Body Number – Ex. 2460
- Cat. No. (Category Number) –
Ex. –
Category 1 – Stainless steel, Carbon steel or Coated Aluminum vents
Category 2 – Uncoated Aluminum vents - Date – Date of Manufacture
- Certificate – Ex. PRESAFE 17 ATEX 10273X
- Pressure
- Setting – Ex. Z4.0
- Flow Rate SCFH (Air) – Ex. 55000
- Vacuum
- Setting – Ex. Z0.5
- Flow Rate SCFH (Air) – Ex. 25000
Principle of Operation
The Enardo spring-loaded pressure/vacuum reliefThe Enardo spring-loaded pressure/vacuum relief valve maintains a tight seal, until system pressure orvalve maintains a tight seal, until system pressure or vacuum exceeds the set pressure of the valve. Setvacuum exceeds the set pressure of the valve. Set pressure is established by the force of a spring or a setpressure is established by the force of a spring or a set of multiple springs acting on the valve pallet. When theof multiple springs acting on the valve pallet. When the system pressure is above the set pressure, the palletsystem pressure is above the set pressure, the pallet starts to lift, breaking the seal between the seat andstarts to lift, breaking the seal between the seat and pallet. pallet. This allows vapors to pass through the valveThis allows vapors to pass through the valve orifice and relieve pressure buildup. orifice and relieve pressure buildup. The valve resealsThe valve reseals upon relief and remains sealed.upon relief and remains sealed.
Relieving vapors near the set pressure in a continuous manner may cause the pallet to flutter or oscillate inside the valve chamber. This is common to products of this model. Operating the valve with flutter or oscillation may cause premature valve damage or wear over time. The flutter zone typically begins at the set point and ends at the flow rate associated with 10% overpressure. The Enardo Valve Sizing Program displays the flutter zone. Contact your local Sales Office with any questions or additional assistance.
Installation
CAUTION
Ensure the tank is at atmospheric pressure before opening. A pressure build-up inside the tank can cause a spray to be emitted from the valve if opened under pressure.
Springs are energy storage devices and are dangerous if handled improperly. Never loosen any nuts or cap screws until all spring preload has been relieved. Always use appropriate safety equipment including safety glasses or shields any time you are working with a spring-loaded valve.
Installing Pressure/Vacuum Relief Valves with Only Spring-Loaded Pallets
- Attach the valve to the appropriate mating flange using a proper gasket. To ensure proper function, install the valves to a level horizontal surface so the pallet will move vertically. For Models 860, 960 and 962, the valve shipped from factory has certain studs installed.
- Orient valve in desired direction. Models 860 and 861 require the pipe-away connection flange to be properly oriented before the base is bolted down.

- After the valve has been properly aligned, install nuts and bolts. Tighten the bolts down in a cross-hatched pattern. Ensure the valve is securely fastened.
Installing Pressure/Vacuum Relief Valves with Weight-loaded Pallets
Note
The following steps 1 to 7 apply only to valves that have a weight-loaded vacuum or pressure pallet. These steps do not apply to pallets that are spring-loaded on both the pressure and vacuum sides.
- If the valve has a weight-loaded vacuum, loosen fasteners on top of the valve and remove the lid, hood or guide.

- Remove valve pallets from the unit.

- Separate the protective cardboard coverings from the pallets. Be careful not to damage the pallet seal surface.

- Reinsert uncovered valve pallets back into the unit. Make sure the lower stem on the pallet is centered into the valve seat. If the pallet appears to be off center to the valve chamber, or if there is difficulty positioning the lid or guide, carefully inspect the pallet to ensure it is inserted properly.

- To adjust valve settings higher than minimum, use the weights included with the shipment to increase the pressure setting. Weights are packed separately within the unit shipping package and are labeled “PRESSURE” and/or “VACUUM”. If weights are shipped with the unit, they should be installed onto the pallets in the valve chamber in which they are labeled. Gently slide the weights onto the pallet stem and down on top of the valve pallet.

- Replace any lid, hood or guide that was previously removed, and fasten securely. When tightening down lids, make sure the O-ring in the lid has full contact with the sealing surface.

- Attach the valve to the appropriate mating flange using proper gasket. To ensure proper function, install the valve to a level horizontal surface so the pallet will move vertically. Units that are tilted during usage may suffer premature damage or wear.
For more details on using weights to adjust the pallet setting, refer to the Weight Information section.
Note Before using your new Enardo pressure/vacuum relief valve, make sure that your valve is properly set for the appropriate pressure and vacuum settings. Early or delayed relief could be dangerous and/or expensive depending on the application.
Spring–loaded valves are set at the factory. Additional adjustment should not be required and is not recommended.

Maintenance
WARNING
Ensure the tank is at atmospheric pressure before opening or removing a valve. Pressure build-up inside the tank can cause a spray to be emitted from the valve if opened under pressure. Springs are energy storage devices and are dangerous if handled improperly. Never loosen any nuts or screws until all spring preload has been relieved. Instructions for removing spring preload are provided in this section. Always use appropriate safety equipment including safety glasses or shields any time you are working with a spring-loaded valve.
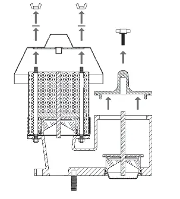
Determine if the pressure/vacuum relief valve assembly is an 860 Series pipe-away in-line configuration or a 960 Series vent-to atmosphere configuration.
860 Series Pipe-Away
See Figure 8 for reference.
- Remove the cylindrical cap(s) from the lid(s) by removing the small screws.
- Turn the spring plunger clockwise to remove all spring preload. Note the number of turns the plunger has been turned to facilitate reassembly.
- Remove the hex bolts holding the lid to the body and lift off the lid.
CAUTION If the lid shows signs of any remaining spring preload, do not continue with the disassembly until this condition is corrected. If the cap screws seem to be under a load or if the lid starts to rise as the cap screws are loosened, the spring is still under load.
- The valve contains a single spring or a multiple nested spring arrangement. Inspect the springs and other internal parts for signs of deterioration and/or corrosion. Replace any worn or damaged parts.
- Remove any valve pallets and weights from the unit if so equipped. Keep in mind that these will be reinstalled, so keep track of the chamber from which they were removed.
- Inspect the pallets for any damage and/or buildup that may affect its sealing characteristics or
its ability to move properly inside the valve. If necessary, gently clean the pallet and seal with a suitable solvent and nonabrasive cloth. - Clean the removed parts with a suitable solvent.
- Inspect the valve seats installed in the unit. The sealing surfaces should be smooth and free of nicks or buildup. Check the guides for anything that may keep the valve pallet from moving properly inside the valve. If necessary, gently clean the seats with a suitable solvent and nonabrasive cloth.
- If lid is available on the valve, clean any buildup that may exist in or around the guide hole located in the center of the part.
- If the valve is fitted with a screen of some type, clear away any blockage that may impede proper flow.
- Reassemble the valve in reverse order from disassembly.
- Make sure the lower stem on the pallet is centered into the valve seat. If the pallet appears to be off center to the valve chamber, or if there is difficulty positioning the lid or guide, the pallet may be inserted improperly.
- Adjust the spring preload by returning the spring plunger to its factory set location as noted earlier or install on a pressure test stand and adjust to the desired setting.
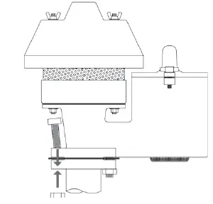
960 Series Vent to Atmosphere
See Figures 8 and 9 for reference.
- For 4 and 6 in. valves, remove the cylindrical cap(s) from the lid(s) by removing the small screws.
- Remove the hood by removing the wing nuts or screws holding it in place. Hood can be removed without releasing spring preload, but do not remove the hex nuts until the spring preload has been removed.
- Follow steps 2 to 13 from the 860 Series Pipe-Away Maintenance section on page 7.
Weight Information
Note Spring-loaded valves can have a weight-loaded component.
The Enardo pressure/vacuum relief valve can achieve various pressure and vacuum settings in units of ounces per square inch (oz./sq. in.) or inches of water column (in. w.c.) when weights are used. Standard Enardo weight-loaded valve pallets installed without weights or springs reach minimum settings
of 1/2 oz./sq. in. or 1 in. w.c. The pallets’ setting is stamped into the seal support located on the bottom side of the pallet. The pallet’s setting of 1/2 oz./sq. in. or 1 in. w.c. is etched into the support.
When a valve requires a setting higher than the 1/2 oz./sq. in. or 1 in. w.c. basic pallet setting, use weights to increase the pallet’s set pressure. Enardo weights also come in units of ounces per square inch (oz./sq. in.) or inches of water column (in. w.c.). The individual setting of each weight is either etched or imprinted into the weight. Emerson offers several different sizes of pressure/vacuum relief valves. To ensure that the right weight is placed on the right pallet, keep in mind that the weights and pallets that go together will have the same outside diameter. Standard Enardo weights allow the user to stack in increments of 1/2 oz./sq. in. or 1/2 in. w.c.
Your Enardo pressure/vacuum relief valve shipment includes prepackaged weight kits used to achieve the proper settings for the valve you ordered. The package labeled “PRESSURE” goes on the pallet in the pressure chamber. The package labeled “VACUUM” goes on the pallet in the vacuum chamber. All of the weights in these packages should be installed. If one or neither of these packages is included with your order, then they are not needed. If the pressure and vacuum weights are mixed together, sort and reorganize the weights.
When installing weights for the Enardo pressure/vacuum relief valve, check the required settings for the valve located on the tag attached to the unit. Then add weights to the pallet to achieve the required setting. For example, if the relief valve’s setting is 6 oz./sq. in., add weights with the total setting of 5-1/2 oz./sq. in. to the valve; the pallet alone achieves 1/2 oz. setting. Therefore, the weights to be added must total the remaining balance of the required setting, which in this example is 5-1/2 oz. Hence, the valve pressure setting is the sum of the settings of the pallet and the weights.
Valve Repair
On occasion, valve housings or internal components can be damaged due to accidents, improper usage or wear. With Enardo’s modular design and unique replaceable seat, many repairs to damaged valves can be made on site instead on a remote repair site. This feature causes minimal downtime if there is an equipment breakdown or malfunction.
A damaged valve may require replacement of the entire pressure or vacuum assembly, or it may require a single component, such as a valve seat or pallet. All Enardo seats and pallets are tested for their sealing capabilities before they are shipped from the plant. Enardo assemblies and components can be quickly and easily installed. Once installed, the valve is ready for continued dependable operation.
Contact your local Sales Office with any questions or additional assistance you may need for repairing your valve.
WEb: [email protected]
Enardo.com
Facebook: Facebook.com/EmersonAutomationSolutions
LinkedIn: LinkedIn.com/company/emerson-automation-solutions
Twitter: Twitter.com/emr_automation
Emerson Automation Solutions
Americas
McKinney, Texas 75070 USA
T +1 800 558 5853
+1 972 548 3574
Tulsa, OK 74146 USA
T +1 918 662 6161
D103813X012 © 2015, 2022 Emerson Process Management Regulator Technologies, Inc.
All rights reserved. 02/22. The Emerson logo is a trademark and service mark of Emerson Electric Co. All other marks are the property of their prospective owners. Enardo™ is amark owned by Regulator Technologies Tulsa, LLC, a business of Emerson Automation Solutions.
The contents of this publication are presented for informational purposes only, and while every effort has been made to ensure their accuracy, they are not to be construed as warranties or guarantees, express or implied, regarding the products or services described herein or their use or applicability. We reserve the right to modify or improve the designs or specifications of such products at any time without notice.
Emerson Process Management Regulator Technologies Tulsa, LLC does not assume responsibility for the selection, use or maintenance of any product. Responsibility for proper selection, use and maintenance of any Emerson Process Management Regulator Technologies Tulsa, LLC product remains solely with the purchaser





























