FOCALPOINT LED Wall Inset Electric Fire Instruction Manual
PRELIMINARY NOTES
IMPORTANT – THESE INSTRUCTIONS SHOULD BE READ CAREFULLY AND RETAINED FOR FUTURE REFERENCE.
The appliance is designed for indoor use, and can be simply floor mounted in the majority of floor positions anticipated. It can be located in any household room, with the exception of bathrooms. Read all of the instructions before commencing installation. Retain for future reference and pass on as necessary to subsequent owners of the appliance.
- DO NOT use this appliance immediately below a fixed socket outlet.
- DO NOT use this appliance in an open flue.
- When using this electrical appliance, basic precautions should be followed to reduce the risk of fire, electric shock and injury to person, including the following:
- This heater must be used on an AC supply only and the voltage marked on heater’s rating label must correspond to the supply voltage.
- DO NOT switch the appliance on until it is properly installed as described in this manual.
- This appliance can be used by children aged from 8 years and above and persons with reduced physical, sensory or mental capabilities or lack of experience and knowledge if they have been given supervision or instruction concerning use of the appliance in a safe way and understand the hazards involved. Children shall not play with the appliance. Cleaning and user maintenance shall not be made by children without supervision.
- Children of less than 3 years should be kept away unless continuously supervised.
- Children aged from 3 years and less than 8 years shall only switch on/off the appliance provided that it has been placed or installed in its intended normal operating position and they have been given supervision or instruction concerning use of the appliance in a safe way and understand the hazards involved. Children aged from 3 years and less than 8 years shall not plug in, regulate and clean the appliance or perform user maintenance.
- CAUTION: Some parts of this product can become very hot and cause burns.
- Particular attention has to be given where children and vulnerable people are present.
- If the supply cord is damaged, it must be replaced by the manufacturer, its service agent or similarly qualified persons in order to avoid a hazard.
- The heater must not be located immediately below a socket-outlet.
- DO NOT use this heater in the immediate surroundings of a bath, a shower or a swimming pool, or other area where water/moisture could present a hazard.
- WARNING: In order to avoid overheating, do not cover the heater.
- DO NOT use this heater with a separate remote-control system or any other device that switches the heater on automatically, since a fire risk exists if the heater is covered or positioned incorrectly.
- CAUTION: In order to avoid a hazard due to inadvertent resetting of the thermal cutout, this appliance must not be supplied through an external switching device, such as a mer, or connected to a circuit that is regularly switched on and off by the utility.
- Keep furniture, curtains and other fabric material away from the appliance.
- DO NOT leave the appliance unattended during use.
- From time to time, check the cord for damage. Never use the appliance if the cord or any part of the appliance shows signs of damage.
- DO NOT run the mains cable under carpets, rugs etc.
- DO NOT cover or obstruct the heater in any way. Overheating will result if it is accidentally covered.
- Never immerse the product in water or any other liquids.
- DO NOT use the appliance outdoors.
- Before cleaning the appliance, ensure it is unplugged from the power and that it is completely cool.
- DO NOT clean the appliance with abrasive chemicals.
- Never use accessories that are not recommended or supplied by the manufacturer. It could cause danger to the user or damage to the appliance.
- DO NOT insert or allow foreign objects to enter the inlet or outlet vents as this may result in electric shock, fire or damage to the appliance.
- DO NOT install the fire using an extension cord.
- Unplug from the mains supply if the appliance is not to be used for long periods.
- This product is only suitable for well insulated spaces or occasional use.
INSTALLATION REQUIREMENTS
The appliance is supplied with a pre-wired three pin plug (13 Amp fuse rated) and 1.7 metres of electrical cable. It is therefore necessary for a suitable electrical socket to be located within this distance and be easily accessible. The appliance is suitable for installation into all proprietary surrounds with an opening of 440-445mm by 600-605mm. The appliance can be fully recessed into the opening depth of 205mm or greater. It may be installed directly into any proprietary surround which can house this size of rebate, without the need to recess the appliance into a wall opening or fabricate a false chimney breast.
The firebox can be installed onto a suitable combustible surface/ shelf covering the entire base area of the box.
This appliance should be positioned on a firm level surface/ shelf and in a clean ‘dust free’ environment. If the fire is to be sited in a fire surround then the suitability of the surround for use with electrical heaters should be established with the fire surround manufacturer.
If fitted into an open draught fireplace, it is recommended to blank off the chimney to reduce the risk of draught through the fire, which may cause the safety cut out system in the fan heater to operate. It should be noted that the appliance creates warm convected air currents. These currents move heat from the room surroundings to, and up the wall surfaces adjacent to the heater. Installing the heater next to these types of wall coverings or operating the heater where impurities in the air, (such as tobacco smoke) exist, may slightly discolour wall finishing. If the appliance is to be mounted on a dry lined or timber framed construction then the integrity and ability of the wall to carry the weight of the appliance must be confirmed. It is important in these circumstances that any vapour barrier and/or structural members of the house frame are not damaged. If you are unsure of the ability of the wall to carry the weight and/or which type of wall fixing to use, you should take professional advice and obtain the correct fixings. Alternatively, find a more suitable wall location.
DO NOT
- site in a position where curtains or drapes could cover the appliance. – use the heater to dry clothes.
- site in a position where other soft materials could cover e.g. below a coat rack.
- site/use in an outdoor location(s).
- site behind an opening door where mechanical impact/damage could occur. – run the supply cable under carpets.
- site where the supply cable would become a trip hazard. – mount on a wall.
- sit, stand or forcefully pull on the appliance. – obstruct, cover or force items into the openings.
APPLIANCE DATA
Weight (kg): 11 kg
Voltage (Volts): 220-240V a.c. 50Hz
Rated Power : 2000W
Supply Plug: BS 1363, 13A Fused
Supply Cord: 1.7 Metres
Location: Indoor Use
LED Display: 12 Watts
| All Models | EF461L-E | |||||
| Item | Symbol | Value | Unit | Item | Unit | – |
| Heat output | Types of heat input, for electric storage local space heaters only | – | ||||
| Nominal heat output | Pnom | 2.0 | KW | Manual heat charge control with integrated thermostat | N/A | – |
| Minimum heat output (indicative) | Pmin | 1.0 | KW | Manual heat charge control with room and/or outdoor temperature feedback | N/A | – |
| Maximum continuous heat output | Pmax, c | 2.0 | KW | Electronic heat charge control with room and/or outdoor temperature feedback | N/A | – |
| Auxiliary electricity consumption | Fan assisted heat output | N/A | – | |||
| At nominal heat output | elmax | 0.000 | KW | Type of heat output/room temperature control | – | |
| At minimum heat output | elmin | 0.000 | KW | Single stage heat output and no room temperature control | No | – |
| In standby mode | elSB | 0.000 | W | Two or more manual stages no tem- perature control | No | – |
– | With mechanical thermostat room temperature control | No | – | |||
– | With electronic room temperature control | No | – | |||
– | Electronic room temperature con- trol plus day timer | No | – | |||
– | Electronic room temperature con- trol plus week timer | Yes | – | |||
Other control options | – | |||||
– | Room temperature control with presence detection | No | – | |||
– | Room temperature control with open window detection | Yes | – | |||
– | With distance control option | No | – | |||
– | With adaptive start control | No | – | |||
– | With working time limitation | No | – | |||
– | With black bulb sensor | No | – | |||
| Contact details | Focal Point Fires, Avon Trading Park, Christchurch Dorset, BH23 2BT | |||||
UNPACKING THE APPLIANCE
Read all the instructions before continuing to unpack or install this appliance. Carefully remove the appliance from its packaging and lay on the floor with it’s back surface downward.
Note: DO NOT stand the appliance on its frame as this may cause distortion. Check that the remaining packaging contents correlate with the component checklist below. Please dispose of all packaging with care at your local recycling centre.
COMPONENT CHECKLIST
QUANTITY | DESCRIPTION |
1 | Heater main body |
1 | Remote control |
1 | Decorative frame |
1 | Instruction booklet |
1 | Fixing kit; 4x screws 4x wall plugs |
8 | Magnets (dependant on model) |
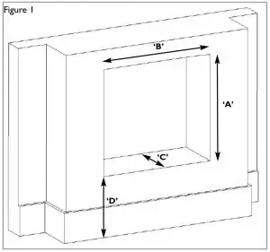
SITE REQUIREMENTS

- A’. Opening height: 440mm – 445mm max.
- ‘B’. Opening width: 600mm min – 605mm max.
- ‘C’. Mounting depth: minimum 205mm.
- ‘D’. The distance from the floor: 0mm can be hearth mounted.
| Maximum depth of shelf | Minimum distance from bottom of the appliance surface to underside of shelf |
100mm | 745mm |
150mm | 845mm |
203mm | 895mm |
The appliance should be installed on a combustable surface/ shelf and not resting on the edge of the opening, as this could block the air intake required, which would result in the heater cutting out. If no shelf is in place, leave a 8mm gap under the appliance to allow air to flow in to the cavity, and let the heater operate correctly.
A combustible shelf may be fixed to the wall above the fire, providing that it complies with the dimensions given below.
A non-combustible shelf may be fitted to within 10mm of the top edge of the fireframe. Combustible materials, such as wood, may be fitted to within 100mm of either side of the fireplace opening, providing the forward projection does not exceed 100mm. Any combustible side walls must be at least 500mm to the side of the radiant heat source. As with all heating appliances, any decorations, soft furnishings, and wall coverings (i.e. flock, blown vinyl and embossed paper) positioned too close to the appliance may discolour or scorch.
INSTALLING THE APPLIANCE
Focal Point Fires plc. assumes absolutely no responsibility for injuries and damages that may occur due to improper installation or handling. Remove any protective film coatings from the finished/decorative surfaces of the appliance, if any. After having selected the final mounting position of the appliance taking into account the integrity of the wall the firebox of the appliance may be secured to the wall. To ensure customer safety, be sure to design the installation so that the strength of both the wall and any wall fixings used are sufficient. The appliance should not be installed until all wet plastering and/or dry wall sanding and wall painting has been completed. Do not block the ventilation holes of the appliance. The wall onto which the appliance is installed must be flat. Install only on a vertical surface. Avoid sloped surfaces. Installation onto anything other than a vertical wall may result in fire, damage or injury.
If the appliance is to be mounted on the inner leaf of a conventional cavity brick wall, or a solid wall, then the wall plugs and fixing screws provided may be used. Depending on the condition of the wall it may be necessary to use additional fixings. In this situation, any additional fixings and wallplugs should be of the same size and type as the ones provided.
WARNING :
The wall where the appliance is to be installed must be capable of longterm support of the total load of the appliance. Measures should also be taken to ensure sufficient strength to withstand the force of earthquakes, vibration and other external forces. Plasterboard alone is not considered to be a structural material. It is not recommended to rely on plasterboard fixings alone to support the weight of the appliance.
If the appliance is to be mounted on a dry lined wall or a timber framed construction wall then efforts should be made to fix in at least two positions vertically, into one of the wooden studs, or supporting wooden members of the wall using two of the fixing screws provided. If this is not achievable then the wall should be strengthened using appropriate building materials
If there is no alternative than to rely on some plasterboard fixings then special cavity screw fixings or hollow wall anchors will be required which are not supplied with this product. These should be constructed from metal and not plastic and of the design indicated (Figure 2). For further guidance for wall fixing in timber framed buildings refer to any relevant local codes of practice.
Fixing the appliance
Do not connect the appliance until the instructions are read carefully and the heater properly and securely installation.
Caution: Do not lift the heater using the front frame. Remove the front frame by lifting it up and away from the heater engine. Offer the appliance into the opening to ensure a good fit, once in the final position mark the positions on the wall through the 4x fixing holes. Drill the wall as appropriate for the type of wall as previously described in this section, and insert the chosen type of wall fixings.
- DO NOT REMOVE THE FEET FROM THE BOTTOM OF THE APPLIANCE!
- IF FITTING WITH OUT A LEVEL SURFACE/ SHELF ENSURE A 8MM GAP IS PRESENT UNDER THE BOTTOM EDGE OF THE APPLIANCE.
Insert the wall fixing screw through the fixing hole in the bracket on the firebox, then screw into the wall plug.
Then repeat on the opposite side and the 2x lower fixing brackets
FITTING THE DECORATIVE FRAME
The appliance may be supplied with a decorative frame in a variety of finishes.
IMPORTANT : Due to the possibility of sharp edges, care should be taken when handling the frame components. The use of protective gloves is recommended.
If not pre-fitted, and the appliance is supplied with a one piece decorative frame that is to be attached to the front of the firebox. The firefront shown in these instructions may be different to the one supplied with the appliance.
If the frame has a bracket at the top as per Figure 5. Carefully hook the bracket on the rear of the frame on to the very top of the black firebox. Do not hang the frame on the “U” shaped stainless steel heat deflector.
THE FRAME MUST NOT COVER ANY OF THE HEATER OUTLET!
Next, carefully pull the bottom of the frame out towards you and insert 4x magnets along the bottom edge of the appliance under the glass 75mm in from the left and right hand edge as shown in Figure 6. Then lower the frame back towards the firebox where the magnets will make a connection.

To remove the frame, pull the bottom of the frame away from the fire to break the magnetic connection, remove the magnets, then gently lower the frame back towards the firebox. Lift the frame up and away from the wall to remove the frame from the engine.
Alternative fixing method
Attach the front frame by carefully positioning it onto the heater engine, aligning the slots on the brackets at either side of the heater engine. Check that the fan outlet, mounted at the top of the appliance, is not covered or obstructed in any way. Ensure the power to the fire is switched ON.
OPERATING THE APPLIANCE
Switching ON/OFF
Use the ON/OFF switch to power on the heater (set it to standby mode). In standby mode, the heater can be operated either manually, by the switches located at the front and right hand side of heater or by the supplied remote control.
Manual Operation
NOTE: The heater only starts working if the set temperature is higher than the ambient room temperature.

![]() | ![]() | Heater powered OFF |
| Heater powered ON, set to standby mode | ||
![]() |
| Press to switch flame effect ON/ OFF Press and hold to toggle between 5 different flame settings |
| 1000W | Press to activate the low setting (1000W) | |
| 2000W | Press to activate the high setting (2000W) |
Remote Operation
NOTE: The heater should be powered on using the ON/OFF switch before it can be operated using remote control.

- The remote control requires 2xAAA size batteries (Not included).
- Open the battery compartment by sliding the cover down and insert the batteries noting the polarity indicated in the battery compartment.
- Keep batteries out of reach of children.
- Remote control operations are identical to the functions on the control panel.
- The remote control must be point directly at the sensor on control pad.

Display

Settings
Setting weekday and time
- Press the DAY/TIME key. When the day is flashing press the ▲ or ▼ key to select the day.
- Press the DAY/TIME key again, then press the + or – key to set the hour.
- Press the DAY/TIME key again, then press the + or – key to set the minute.
- Press the OK key to confirm the setting.
Setting temperature
NOTE: This setting is only applicable for the temperature in standard heating mode, not for the temperature in the timer mode. The default set temperature is 25°C.
NOTE: The heater only starts working when the set temperature is higher than the room temperature. Press the + or – key to set the temperature, which ranges from 15 to 30°C. After the temperature setting has been completed, the display flashes about 5 seconds, then shows the room temperature.
Setting timer
- There are up to 9 different timer settings can be programmed.
- Each timer setting has its day, power-on time and power-off time.
- The maximum duration of each timer setting is 23 hours 50 minutes.
- If the power-off time of the timer setting falls on the following day, it is unnecessary to set the day-just set the power-off time.
- Press the TIMER SET key, the timer number starts blinking (P1-P9).
- Press the + or – key to select a timer number.
- Press the TIMER SET key, the cursor on the left side of the day blinks.Press
- the ▲ or ▼ key to move the cursor to the corresponding day. Press the + key to add a corresponding day, or press the – key to delete a day.
- Press the TIMER SET key to set the on time. The hour digit starts blinking.
- Press the + or – key to set the hour.
- Press the TIMER SET key. The minute digit starts blinking.
- Press the + or – key to set the minute.
- Press the TIMER SET key to set the off time. The hour digit starts blinking.Press the + or – key to set the hour.
- Press the TIMER SET key. The minute digit starts blinking.Press the + or –key to set the minute.
- Press the TIMER SET key. The temperature digit starts blinking.Press the + or – key to set the temperature.
- Press the TIMER SET key to continue with the timer setting or press the OK key to confirm the setting.
Viewing the timer setting
- Press the TIMER SET key.
- Press the + or – key to check the power-on time of the set timers one by one.
- To check the power-off time, press the ▲ key.
- Press the + or – key to check the power-off time of the set timers one by one.
- To delete selected setting, press the C key.
Activation timer
Press the TIMER ON/OFF key to activate the timer function.
NOTE: When the timer is active, the heating level must be manually selected. If the heater function is not selected; only the flame effect goes on at the set power-on time.
Open window detection
Press the
key to activate open window detection function. The
icon appears on the display.
The
icon on the display starts blinking and the heater stops heating if room temperature drops quickly. Press the key again to cancel open window detection.
NOTE: Open window detection does not work if you have not turned heating on.
SAFETY CUT-OUT SYSTEM
This appliance has a safety cut-out system fitted which will activate if the air inlets or heater outlets are obstructed. For safety reasons the fire WILL NOT switch on again automatically.
The following procedure must be carried out before the fire can be operated again:
- Unplug the power supply cable at the outlet socket and place all switches to off at the appliance.
- Leave the fire OFF for a period of not less than 15 minutes, ensuring any obstructions are removed.
- Plug in the power supply cable at the outlet socket, and then switch on at the appliance. If the appliance fails to operate correctly, repeat the above procedure. If an attempt to switch on is made before the safety cut-out has reset, the heaters may cut-out for a further period of time. If the sequence has been followed correctly and the heaters still fail to function, check thepower supply cable plug is plugged in at the outlet socket. If this is not the cause, call an electrician.
CLEANING AND MAINTENANCE
ALWAYS DISCONNECT THE APPLIANCE AT THE SUPPLY OUTLET SOCKET BEFORE UNDERTAKING ANY CLEANING.
Except for periodic cleaning of dust, there are no specific requirements for care, other than regular cleaning of the general appliance. A wipe with a dry cloth is normally sufficient. DO NOT use abrasive cleaners as they can damage the finish. Make sure the heater outlet grille (located next to the switches) are kept clear of dust, pet hair and other airborne household matter. These should be vacuum cleaned periodically using a brush attachment.
The LED light strip is designed and tested to last 20,000 hours however, should a problem occur with the LED light strip this can be replaced.
The LED light strip can be purchased from Focal Point Fires (please see contact details on front cover). The light strip will be supplied with fitting instructions.
Battery Replacement
Battery Requirements: 2x AAA 1.5V (batteries not included)
- Remove the battery bracket and the used batteries from the back of the remote control
- Insert the 2x replacement batteries the correct way into the battery holder, making sure the batteries are firmly seated.
- Then insert the battery bracket back into position.
SERVICING
There are no internal user serviceable parts.
Check regularly for security of wall fixings as appropriate. Also check security of supply cable and connections. If the supply cable becomes damaged, it must be replaced by a service agent or competent person, such as a qualified electrician.
This appliance is supplied with a BS1363 3 pin plug fitted with a 13 Amp fuse. Should the fuse require replacing, it must be replaced with a fuse rated at 13 Amp and approved to BS1362. In the event of the mains plug being removed/ replaced for any reason, please note :
IMPORTANT: The wires in the mains lead are coloured in accordance with the following code:
Blue – Neutral
Brown – Live
Green/ Yellow – Earth

As the colours of the wires in the mains lead of this appliance may not correspond with the colour markings identifying the terminals in your plug, proceed as follows. The blue wire must be connected to the terminal marked with an N or coloured black. The brown wire must be connected to the terminal marked with an L or coloured red. The green/yellow wire must be connected to the earth terminal which is marked with an E or with the earth symbol.
WARNING: Never connect live or neutral wires to the earth terminal of the plug.
NOTE: If a moulded plug is fitted and has to be removed take great care in disposing of the plug and severed cable, it must be destroyed to prevent engaging into a socket. Refer to Section 2.0, Appliance Data for fuse specification. Excluding fuses, use only genuine manufacturers spare parts available from your supplier.
GUARANTEE – TERMS AND CONDITIONS
Registration is not required.
The 3 year guarantee only covers products purchased on or after 1st February 2009. The 3 year guarantee commences from the date of purchase, provided that the following 3 terms and conditions are adhered to:
- For any claim to be made within the 3 years from date of purchase you will be required to provide and supply us with your proof of purchase.
- Your gas fire must have been commissioned by a Gas Safe registered installer, evidence of which you must provide together with the Gas Safe registration number.
- Your appliance must have been serviced annually, irrespective of use, by a Gas Safe registered installer, evidence of which must be provided, such as the receipt.
Please note all consumable items such as any ceramics including coals, pebbles, matrix, front strips, panels and bulbs are not covered by the 3 year guarantee.
We reserve the right to reject any claim or make a charge for any visit where the cause of the defect is due to non-compliance with the installation and/or servicing instructions or misuse of the appliance. If a repair is chargeable during the warranty period, we will inform you and where possible, provide a quote or price guide before starting work. We cannot always give a firm cost until we commence the repair as it is not always possible to identify which components have been damaged. Repaired or replaced products are covered only for the remainder of the original guarantee period and the guarantee period will not be extended even if we repair or replace any product or part. If we replace any component or product, the component or product removed will become our property. We will not accept or reimburse the cost(s) of any third party who undertakes any work carried out on the product or fits parts, unless we have approved such work in advance of it being carried out.
The Manufacturer’s guarantee does not apply to:
- Damaged caused by faulty installation, theft, tampering, neglect, misuse, normal wear and tear, accident, fire, flood, explosion, lightning, storms, frostor other bad weather conditions.
- Damage caused by the non-observance of the Manufacturer’s Installation Instructions.
- Any unauthorised adjustments made to the product by a third party
- Servicing and its associated costs.
- Self-maintenance tasks such as cleaning.
Making a claim is easy.
If you wish to make a claim under our 3 year guarantee, and all of the terms and conditions for your product have been met then please submit the following information for the attention of the 3G Service Department to [email protected]. Alternatively, you can fax to 01202 499326 or post to Focal Point Fires, 3G Service Department, Reid Street, Christchurch, Dorset, BH23 2BT. Please note that this does not affect your statutory rights.
Details required:
- Name, full address (including post code) and contact telephone numbers.
- Receipt of purchase or credit card statement.
- Original installer’s Gas Safe* registration number (gas fires only).
- Annual service receipt for every 12 months (gas fires only)
This product complies with conformity requirements of the applicable European Regulations or Directives.
This product complies with conformity requirements of the applicable UK Regulations.
Waste electrical products should not be disposed of with household waste. Please recycle where facilities exist. Check with your local authority or retailer for recycling advice.
As our policy is one of continuous improvement and development, we therefore hope that you will understand we must retain the right to amend details and/or specifications without prior notice.



















