
LIGHTING THE WAY FOR SIXTY YEARS
ASSEMBLY INSTRUCTION MODEL#EMO-5406-BF
EMO-5406-BF Emory Eight Light Chandelier
![]()
All electrical components must be installed by a licensed electrician in accordance with the National Electric Code and the appropriate local electrical codes.![]()
You will need 8- Candelabra Base Bulb 40 Watts Recommended 60 Watts Max. USE LED BULBS FOR EXTENDED USE This fixture is Damp rated
How to install
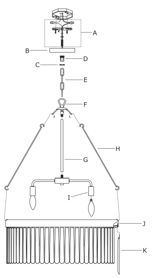
- Slip the center rod along wire and thread onto the nipple located on the top of the light cluster.
- Slip the loop assembly along wire and thread into the center rod.
- Connect one end of the hanging rod into the hole of the banding ring. Connect the other and of it onto the loop assembly.
- Hang glass drop to the banding ring.
- Install the bulbs(not included) into the socket.
WARNING: This product can expose you to Lead which is known to the state of California to cause cancer and/or birth defects or reproductive harm. For more information go to www.P65Warnings.ca.gov
Part Number
Part Numbers
A. (1)-Mounting hardware
B. (1)-Canopy W5’’xH3/4’’ #XRF5406BFCAN5IN
C. (1)-Collar ring
D. (1)-Collar loop #XRF5406BFLOOP
E. (1)-Chain -L120’’, 3.8mm thick #XRF5406BFCHA3.8MM
F. (1)-Loop assembly
G. (1)-Center rod W1/2’’xL12-1/4’’ #XRF5406BFROD12.25IN
H. (3)-Hanging rod W1’’xL16-1/8’’ #XRF5406BFHROD16.125IN
I. (8)-Socket
J. (1)-Banding ring #XRF5406BFRING
K. (68)-Glass drop W1’’xL7-7/8’’




















