Honeywell Home Line Voltage Electric Baseboard Heat Thermostat Owner’s Manual
RLV210A1002/E1
Application
This thermostat is designed to control an electric heating system such as a baseboard heater, a convector or a fan-forced heater.
The thermostat CANNOT be used with:
- a resistive load under 1.25 A
- a resistive load over 12.5 A (120V/208V/2
- a system driven by a contactor or a relay (inductive load)
- a central heating system
Supplied Parts
- One (1) thermostat
- Two (2) screws
- Two (2) solderless connectors for copper wires
CAUTION Fire Hazard.
Special CO/ALR solderless connectors must be used if the thermostat will be
connected to aluminum wires.

ATTENTION: MERCURY RECYCLING NOTICE
This product does not contain mercury. However, this product may replace a product that contains mercury. Mercury and products containing mercury should not be discarded in household trash.
For more information on how and where to properly recycle a thermostat containing mercury in the United States, please refer to the Thermostat Recycling Corporation at www.thermostat-recycle.org.
For mercury thermostat recycling in Canada, please refer to Switch the Stat at
www.switchthestat.ca
Specifications
Temperature Setting Range: 5°C to 27°C (41°F to 80°F)
Operating Temperature: 0°C to 50°C (32°F to 120°F) non-condensing
Storage Temperature: -20°C to 50°C (-4°F to 120°F)
Supply: 120 VAC, 50Hz/60Hz; 208 VAC, 50Hz/60Hz; 240 VAC, 50Hz/60Hz
Minimum Load: 1.25 A (150 W); 1.25 A (300 W)
Maximum Load: 12.5 A (1500 W); 12.5 A (3000 W)
Installation
WARNING Electrical Shock Hazard.
This thermostat is a line voltage control (120–240 Volts). Do not install it if you are not completely familiar with house wiring. If handled improperly, there is risk of electric shock hazard, which may cause serious injury or death.
- Connect the thermostat as shown on page 3.
- Remove the thermostat faceplate cover by prying it from the top or bottom
with your fingers. - Install the thermostat onto the electrical box using supplied screws.
- Place the faceplate cover back.
- Apply power to the heating system.
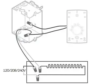
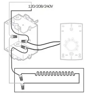
TWO-WIRE INSTALLATION
FOUR-WIRE INSTALLATION
Fig. 1 Thermostat wiring diagram
FACEPLATE COVER ON
Fig. 2 Faceplate cover on
FACEPLATE COVER OFF
Fig. 3 Faceplate cover off
1-year limited warranty
Resideo warrants this product to be free from defects in workmanship or materials, under normal use and service, for a period of one (1) year from the date of first purchase by the original purchaser. If at any time during the warranty period the product is determined to be defective due to workmanship or materials, Resideo shall repair or replace it (at Resideo’s option).
If the product is defective, (i) return it, with a bill of sale or other dated proof of purchase, to the place from which you purchased it; or (ii) call Resideo Customer Care at 1-800-468-1502. Customer Care will make the determination whether the
product should be returned to the following address: Resideo Return Goods, 1985 Douglas Dr. N., Golden Valley, MN 55422, or whether a replacement product can be sent to you.
This warranty does not cover removal or reinstallation costs. This warranty shall not apply if it is shown by Resideo that the defect was caused by damage which occurred while the product was in the possession of a consumer.
Resideo’s sole responsibility shall be to repair or replace the product within the terms stated above. RESIDEO SHALL NOT BE LIABLE FOR ANY LOSS OR DAMAGE OF ANY KIND, INCLUDING ANY INCIDENTAL OR CONSEQUENTIAL DAMAGES RESULTING, DIRECTLY OR INDIRECTLY, FROM ANY BREACH OF ANY WARRANTY, EXPRESS OR IMPLIED, OR ANY OTHER FAILURE OF THIS PRODUCT.
Some states do not allow the exclusion or limitation of incidental or consequential damages, so this limitation may not apply to you.
THIS WARRANTY IS THE ONLY EXPRESS WARRANTY RESIDEO MAKES ON THIS PRODUCT. THE DURATION OF ANY IMPLIED WARRANTIES, INCLUDING THE WARRANTIES OF MERCHANTABILITY AND FITNESS FOR A PARTICULAR PURPOSE, IS HEREBY LIMITED TO THE ONE YEAR DURATION OF THIS WARRANTY. Some states do not allow limitations on how long an implied warranty lasts, so the above limitation may not apply to you.
This warranty gives you specific legal rights, and you may have other rights which vary from state to state. If you have any questions concerning this warranty, please write Resideo Customer Care, 1985 Douglas Dr, Golden Valley, MN 55422 or call 1-800-468-1502.
The product is certified by CSA under the following standards:
- CAN/CSA-C22.2 No. 24 Temperature-Indicating and Regulating Equipment.
- UL 873 Temperature-Indicating and Regulating Equipment.
- CSA C828-06, section 4.3 Performance requirements for thermostats used with individual room electric space heating devices.
Resideo Technologies Inc.
1985 Douglas Drive North, Golden Valley, MN 55422
1-800-468-1502
www.resideo.com 33-00148EFS—05 M.S. Rev. 05-21 | Printed in United States© 2021 Resideo Technologies, Inc. All rights reserved.
The Honeywell Home trademark is used under license from Honeywell International, Inc. This product is manufactured by Resideo Technologies, Inc. and its affiliates.

Energy Verified Only




















