
SVALNA Fridge
User Manual

Please refer to the last page of this manual for the full list of IKEA appointed After Sales Service Provider and relative national phone numbers.
Safety information
Before the installation and use of the appliance, carefully read the supplied instructions. The manufacturer is not responsible for any injuries or damages that are the result of incorrect installation or usage. Always keep the instructions in a safe and accessible location for future reference.
Children and vulnerable people safety
- This appliance can be used by children aged from 8 years and above and persons with reduced physical, sensory or mental capabilities or lack of experience and knowledge if they have been given supervision or instruction concerning the use of the appliance in a safe way and understand the hazards involved.
- This appliance may be used by children between 3 and 8 years of age and persons with very extensive and complex disabilities if they have been properly instructed.
- Children of less than 3 years of age should be kept away from the appliance unless continuously supervised.
- Do not let children play with the appliance.
- Children shall not carry out cleaning and user maintenance of the appliance without supervision.
- Keep all packaging away from children and dispose of it appropriately.
General Safety
- This appliance is intended to be used in household and similar applications such as:
– Farmhouses; staff kitchen areas in shops, offices, and other working environments
– By clients in hotels, motels, bed and breakfast, and other residential type environments - WARNING: Keep ventilation openings, in the appliance enclosure or in the built-in structure, clear of obstruction.
- WARNING: Do not use mechanical devices or other means to accelerate the defrosting process, other than those recommended by the manufacturer.
- WARNING: Do not damage the refrigerant circuit.
- WARNING: Do not use electrical appliances inside the food storage compartments of the appliance, unless they are of the type recommended by the manufacturer.
- Do not use water spray and steam to clean the appliance.
- Clean the appliance with a moist soft cloth. Only use neutral detergents. Do not use abrasive products, abrasive cleaning pads, solvents or metal objects.
- Do not store explosive substances such as aerosol cans with a flammable propellant in this appliance.
- If the supply cord is damaged, it must be replaced by the manufacturer, its Authorised Service Centre or similarly qualified persons in order to avoid a hazard.
Safety instructions
Installation
Warning! Only a qualified person must install this appliance.
- Remove all the packaging.
- Do not install or use a damaged appliance.
- Do not use the appliance before installing it in the built-in structure due to safe manner.
- Follow the installation instructions supplied with the appliance.
- Always take care when moving the appliance as it is heavy. Always use safety gloves and enclosed footwear.
- Make sure the air can circulate around the appliance.
- At first installation or after reversing the door wait at least 4 hours before connecting the appliance to the power supply. This is to allow the oil to flow back in the compressor.
- Before carrying out any operations on the appliance (e.g. reversing the door), remove the plug from the power socket.
- Do not install the appliance close to radiators or cookers, ovens or hobs.
- Do not expose the appliance to the rain.
- Do not install the appliance where there is direct sunlight.
- Do not install this appliance in areas that are too humid or too cold. When you move the appliance, lift it by the front edge to avoid scratching the floor.
Electrical connection
Warning! Risk of fire and electric shock.
Warning! When positioning the appliance, ensure the supply cord is not trapped or damaged.
Warning! Do not use multi-plug adapters and extension cables.
- The appliance must be earthed.
- Make sure that the parameters on the rating plate are compatible with the electrical ratings of the mains power supply.
- Always use a correctly installed shockproof socket.
- Make sure not to cause damage to the electrical components (e.g. mains plug, mains cable, compressor). Contact the Authorised Service Centre or an electrician to change the electrical components.
- The mains cable must stay below the level of the mains plug.
- Connect the mains plug to the mains socket only at the end of the installation. Make sure that there is access to the mains plug after the installation.
- Do not pull the mains cable to disconnect the appliance. Always pull the mains plug.
Use
Warning! Risk of injury, burns, electric shock or fire.
The appliance contains flammable gas, isobutane (R600a), natural gas with a high level of environmental compatibility. Be careful not to cause damage to the refrigerant circuit containing isobutane.
- Do not change the specification of this appliance.
- Do not put electrical appliances (e.g. ice cream makers) in the appliance unless they are stated applicable by the manufacturer.
- If damage occurs to the refrigerant circuit, make sure that there are no flames and sources of ignition in the room. Ventilate the room.
- Do not let hot items to touch the plastic parts of the appliance.
- Do not store flammable gas and liquid in the appliance.
- Do not put flammable products or items that are wet with flammable products in, near or on the appliance.
- Do not touch the compressor or the condenser. They are hot.
Internal lighting
Warning! Risk of electric shock.
- The type of lamp used for this appliance is for household appliances only. Do not use it for house lighting.
Care and cleaning
Warning! Risk of injury or damage to the appliance.
• Before maintenance, deactivate the appliance and disconnect the mains plug from the mains socket.
• This appliance contains hydrocarbons in the cooling unit. Only a qualified person must do the maintenance and the recharging of the unit.
• Regularly examine the drain of the appliance and if necessary, clean it. If the drain is blocked, defrosted water collects in the bottom of the appliance.
Service
• To repair the appliance contact the Authorised Service Centre.
• Use original spare parts only.
Installation
Warning! Refer to Safety chapters.
Location
Refer to the assembly instructions for the installation.
To ensure the best performance, install the appliance well away from sources of heat such as radiators, boilers, direct sunlight, etc. Make sure that air can circulate freely around the back of the cabinet.
Positioning
This appliance should be installed in a dry, well ventilated indoors where the ambient temperature corresponds to the climate class indicated on the rating plate of the appliance:
Disposal
Warning! Risk of injury or suffocation.
- Disconnect the appliance from the mains supply.
- Cut off the mains cable and discard it.
- Remove the door to prevent children and pets to be closed inside of the appliance.
- The refrigerant circuit and the insulation materials of this appliance are ozone-friendly.
- The insulation foam contains flammable gas. Contact your municipal authority for information on how to discard the appliance correctly.
- Do not cause damage to the part of the cooling unit that is near the heat exchanger.
| Climate class | Ambient temperature |
| SN | +10°C to + 32°C |
| N | +16°C to + 32°C |
| ST | +16°C to + 38°C |
| T | +16°C to + 43°C |
Some functional problems might occur for some types of models when operating outside of that range. The correct operation can only be guaranteed within the specified temperature range. If Do you have any doubts regarding where to install the appliance, please turn to the vendor, to our customer service or to the nearest Authorised Service
Centre.
Electrical connection
Before plugging in, ensure that the voltage and frequency shown on the rating plate correspond to your domestic power supply. The appliance must be earthed. The power supply cable plug is provided with a contact for this purpose. If the domestic power supply socket is not earthed, connect the appliance to a separate earth in compliance with current regulations, consulting a qualified electrician. The manufacturer declines all responsibility if the above safety precautions are not observed. This appliance complies with the E.E.C. Directives.
Product description
Product overview
| 1 Drawer glass cover 2 Glass shelves 3 Control unit and light 4 Dairy compartment with lid 5 Sliding door balcony | 6 Door balcony 7 Bottle balcony 8 Vegetable drawer 9 Rating plate (inside) |
Least cold zone
Intermediate temperature zone
Coldest zone
Operation
Switching on
- Insert the plug into the wall socket.
- Turn the Temperature regulator clockwise to a medium setting.
Switching off
To turn off the appliance, turn the temperature regulator to the “0” position.
Temperature regulation
The temperature is regulated automatically.
1. Turn the Temperature regulator toward lower settings to obtain the minimum coldness.
2. Turn the Temperature regulator toward higher settings to obtain the maximum coldness.
A medium setting is generally the most suitable. However, the exact setting should be chosen to keep in mind that the temperature inside the appliance depends on:
- room temperature,
- how often the door is opened,
- the quantity of food stored,
- the location of the appliance.
Caution! If the ambient temperature is high or the appliance is fully loaded, and the appliance is set to the lowest temperatures, it may run continuously causing frost to form
on the rear wall. In this case the dial must be set to a higher temperature to allow automatic defrosting and therefore reduced energy consumption.
First use
Cleaning the interior
Before using the appliance for the first time, the interior and all internal accessories should be washed with lukewarm water and some neutral soap to remove the typical smell of a brand-new product, then dried thoroughly.
Caution! Do not use detergents, abrasive powders, chlorine or oil-based cleaners as they will damage the finish.
Daily use
Warning! Refer to Safety chapters.
Accessories
Egg tray
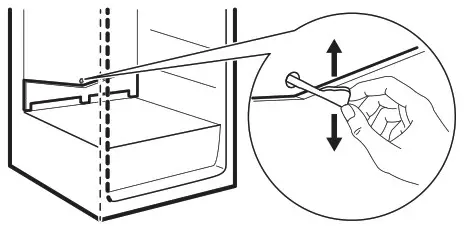
Temperature indicator
This appliance is sold in France. In accordance with regulations valid in this country it must be provided with a special device (see figure) placed in the lower compartment of the fridge to indicate the coldest zone of it.
Movable shelves
The walls of the refrigerator are equipped with a series of runners so that the safety glass shelves can be positioned as desired.
Caution! Do not move the glass helf above the vegetable drawer to ensure correct air circulation.
Positioning the door balconies
The model is equipped with a sliding door balcony which is fitted under a dairy compartment and can be slid sideways. For more thorough cleaning, the top and bottom door balconies can be easily removed and then refitted after cleaning.
Hints and tips
Normal operating sounds
The following sounds are normal during operation:
- A faint gurgling and bubbling sound from coils sound when the refrigerant is pumped.
- A whirring and a pulsating sound from the compressor when the refrigerant is pumped.
- A sudden cracking noise from inside appliance caused by thermic dilatation (a natural and not dangerous physical phenomenon).
- A faint click noise from the temperature regulator when the compressor switches on or off.
Hints for energy saving
- Do not open the door frequently or leave it open longer than absolutely necessary.
- If the ambient temperature is high and the Temperature Regulator is set to low temperature and the appliance is fully loaded, the compressor may run continuously, causing frost or ice on the evaporator. If this happens, set the Temperature Regulator toward warmer settings to allow automatic defrosting and so a saving in electricity consumption.
Hints for fresh food refrigeration
- Do not store warm food or evaporating liquids in the refrigerator.
- Cover or wrap the food, particularly if it has a strong flavor.
- Position food so that air can circulate freely around it.
Hints for refrigeration
Useful hints:
- Meat (all types): wrap in suitable packaging and place it on the glass shelf above the vegetable drawer. Store meat for at most 1-2 days.
- Cooked foods, cold dishes: cover and place on any shelf.
- Fruit and vegetables: clean thoroughly and place in a special drawer. Bananas, potatoes, onions, and garlic must not be kept in the refrigerator if not packed.
- Butter and cheese: place in a special airtight container or wrap in an aluminum foil or a polythene bag to exclude as much air as possible.
- Bottles: close with a cap and place on the door bottle shelf, or (if available) on the bottle rack.
Care and cleaning
Warning! Refer to Safety chapters.
General warnings
Caution! Unplug the appliance before carrying out any maintenance operation.
This appliance contains hydrocarbons in its cooling unit; maintenance and recharging must therefore only be carried out by authorized technicians.
The accessories and parts of the appliance are not suitable for washing in a dishwasher.
Periodic cleaning
Caution! Do not pull, move or damage any pipes and/or cables inside the appliance.
Caution! Do not damage the cooling system.
The equipment has to be cleaned regularly:
- Clean the inside and accessories with lukewarm water and some neutral soap.
- Regularly check the door seals and wipe them clean to ensure they are clean and free from debris.
- Rinse and dry thoroughly.
- If accessible, clean the condenser and the compressor at the back of the appliance with a brush.
This will improve the performance of the appliance and save electricity consumption.
Defrosting of the refrigerator
Frost is automatically eliminated from the evaporator of the refrigerator compartment every time the motor compressor stops, during normal use. The defrost water drains out through a trough into a special container at the back of the appliance, over the motor compressor, where it evaporates. It is important to periodically clean the defrost water drain hole in the middle of the refrigerator compartment channel to prevent the water from overflowing and dripping onto the food inside.
Periods of non-operation
When the appliance is not in use for long periods, take the following precautions:
- Disconnect the appliance from electricity supply.
- Remove all food.
- Leave the door/doors open to prevent unpleasant smells.
Caution! If you want to keep the appliance switched on, ask somebody to check it once in a while to prevent the food inside from spoiling in case of a power failure.
Troubleshooting
Warning! Refer to Safety chapters.
What to do if…
| Problem | Possible cause | Solution |
| The appliance does not operate. | The appliance is switched off. | Switch on the appliance. |
| The appliance does not operate. | The mains plug is not connected to the mains socket correctly. | Connect the mains plug to the mains socket correctly. |
| The appliance does not operate. | There is no voltage in the mains socket. | Connect a different electrical appliance to the mains socket. Contact a qualified electrician. |
| The appliance is noisy. | The appliance is not supported properly. | Check if the appliance stands stable. |
| Problem | Possible cause | Solution |
| The lamp does not work. | The lamp is in stand-by mode. | Close and open the door. |
| The lamp does not work. | The lamp is defective. | Refer to “Replacing the lamp”. |
| The compressor operates continually. | Temperature is set incur- redly. | Refer to the “Operation” chapter. |
| The compressor operates continually. | Many food products were inserted at the same time. | Wait a few hours and then check the temperature again. |
| The compressor operates continually. | The room temperature is too high. | Refer to the climate class chart on the rating plate. |
| The compressor operates continually. | Food products placed in the appliance were too warm. | Allow food products to cool to room temperature before storing. |
| The compressor operates continually. | The door is not closed cor- redly. | Refer to “Closing the door”. |
| There is too much frost and ice. | The door is not closed cor- redly or the gasket is deformed/dirty. | Refer to “Closing the door”. |
| There is too much frost and ice. | The water drainage plug is not correctly positioned. | Position the water drainage plug in the correct way. |
| There is too much frost and ice. | Food products are not wrapped properly. | Wrap the food products better. |
| There is too much frost and ice. | Temperature is set to incur- redly. | Refer to the “Operation” chapter. |
| Water flows on the rear plate of the refrigerator. | During the automatic de- frosting process, the frost melts on the rear plate. | This is correct. |
| Water flows inside the re- refrigerator. | Food products prevent water from flowing into the water collector. | Make sure that food products do not touch the rear plate. |
| The temperature in the appliance is too low/too high. | The temperature regulator is not set correctly. | Set a higher/lower temperature. |
| The temperature in the appliance is too low/too high. | The door is not closed cor- redly. | Refer to “Closing the door”. |
| Problem | Possible cause | Solution |
| The temperature in the appliance is too low/too high. | The food products’ temperature is too high. | Let the food product’s temperature decrease to room temperature before storage. |
| The temperature in the appliance is too low/too high. | Many food products were inserted at the same time. | Insert less food products at the same time. |
| The temperature in the appliance is too low/too high. | The door has been opened too often. | Open the door only if necessary. |
| The temperature in the appliance is too low/too high. | There is no cold air circula- Lion in the appliance. | Make sure that there is cold air circulation in the appliance. |
| There is too much condensed water on the rear wall of the refrigerator. | The door was opened too frequently. | Open the door only when necessary. |
| There is too much condensed water on the rear wall of the refrigerator. | The door was not closed completely. | Make sure the door is closed completely. |
| There is too much condensed water on the rear wall of the refrigerator. | Stored food did not wrap- ped. | Wrap food in suitable packaging before storing it in the appliance. |
| Door does not open easily. | You attempted to re-open the door immediately after closing. | Wait a few seconds between closing and re-opening of the door. |
If your appliance is still not working properly after making the above checks, contact the Authorised Service Centre. You can find the list at the end of this manual.
Replacing the lamp
The appliance is equipped with a long-life LED interior light.
Caution! Disconnect the plug from the mains socket.
1. At the same time, with the fingers, expand up and down the transparent cover and unhook it in the direction of the arrows.

2. Replace the lamp with one of the same power and shape specifically designed for household appliances.
(The maximum power is shown on the light bulb cover.)
No incandescent bulbs are allowed.
3. Reassemble the lamp cover.
4. Connect the plug to the mains socket.
5. Open the door.
Make sure that the light comes on.
Closing the door
- Clean the door gaskets.
- If necessary, adjust the door. Refer to the assembly instructions.
- If necessary, replace the defective door askets. Contact the Authorised Service Centre.
Technical data
| Product category | ||
| Appliance Type | Refrigerator | |
| Installation | Type Built-in | |
| Product dimensions | ||
| Height | 873 mm | |
| Width | 540 mm | |
| Depth | 549 mm | |
| Net volume | ||
| Fridge | 1142 Litre | |
| Defrost system | ||
| Fridge | auto | |
| Energy consumption | 0,334 kWh/24h | |
| Noise level | 38 dB (A) | |
| Energy class | A+ | |
| Voltage | 230 – 240 V | |
| Frequency | 50 Hz | |
The technical information is situated in the rating plate on the internal left side of the appliance and in the energy label.

Environmental concerns
Recycle materials with the symbol
. Put the packaging in relevant containers to recycle it. Help protect the environment and human health by recycling waste of electrical and electronic appliances. Do not dispose of appliances marked with the symbol
with the household waste. Return the product to your local recycling facility or contact your municipal office.
IKEA guarantee
How long is the IKEA guarantee valid?
This guarantee is valid for 5 years from the original date of purchase of Your appliance at IKEA. The original sales receipt is required as proof of purchase. If service
work is carried out under guarantee, this will not extend the guarantee period for the appliance.
Who will execute the service?
IKEA service provider will provide the service through its own service operations or authorized service partner network.
What does this guarantee cover?
The guarantee covers faults of the appliance, which have been caused by faulty construction or material faults fromthe date of purchase from IKEA. This guarantee applies to domestic use only. The exceptions are specified under the headline “What is not covered under this guarantee?” Within the guarantee period, the costs to remedy the fault e.g. repairs, parts, labor, and travel will be covered, provided that the appliance is accessible for repair without special expenditure. On these conditions the EU guidelines (Nr.
99/44/EG) and the respective local regulations are applicable. Replaced parts become the property of IKEA.
What will IKEA do to correct the problem?
IKEA appointed service provider will xamine the product and decide, at its sole discretion, if it is covered under this guarantee. If considered covered, the IKEA service provider or its authorized service partner through its own service operations, will then, at its sole discretion, either repair the defective product or replace it with the same or a comparable product.
What is not covered under this guarantee?
- Normal wear and tear.
- Deliberate or negligent damage, damage caused by failure to observe operating instructions, incorrect installation or by connection to the wrong voltage, damage caused by
chemical or electro-chemical reaction, rust, corrosion or water damage including but not limited to damage caused by excessive lime in the water supply, damage caused by abnormal environmental conditions. - Consumable parts including batteries and lamps.
- Non-functional and decorative parts which do not affect normal use of the appliance, including any scratches and ossible color differences.
- Accidental damage caused by foreign objects or substances and cleaning or unblocking of filters, drainage systems or soap drawers.
- Damage to the following parts: ceramic glass, accessories, crockery and cutlery baskets, feed and drainage pipes, seals, lamps and lamp covers, screens, knobs, casings and parts of casings. Unless such damages can be proved to have been caused by production faults. Cases where no fault could be found during a technician’s visit.
- Repairs not carried out by our appointed service providers and/or an authorized service contractual partner or where non-original parts have been used.
- Repairs caused by installation which is faulty or not according to specification.
- The use of the appliance in a nondomestic environment i.e. professional use.
- Transportation damages. If a customer transports the product to their home or other address, IKEA is not liable for any damage that may occur during transport. However, if IKEA delivers the product to the customer’s delivery address, then damage to the product that occurs during this delivery will be covered by this guarantee.
- Cost for carrying out the initial installation of the IKEA appliance. However, if an IKEA service provider or its authorized service partner repairs or replaces the appliance under the terms of this guarantee, the service provider or its authorized service partner will reinstall the repaired appliance or install the replacement, if necessary.
This restriction does not apply to fault-free work carried out by a qualified specialist using our original parts in order to adapt the appliance to the technical safety specifications of another EU country.
How country law applies
The IKEA guarantee gives You specific legal rights, which covers or exceeds local demands. However, these conditions do not limit in any way consumer rights described in the local legislation.
Area of validity
For appliances that are purchased in one EU country and taken to another EU country, the services will be provided in the framework of the guarantee conditions normal in the new country. An obligation to carry out services in the framework of the guarantee exists only if the appliance complies and is installed in accordance with:
• the technical specifications of the country in which the guarantee claim is made;
• the Assembly Instructions and User Manual Safety Information;
The dedicated After Sales Service for IKEA appliances:
Please do not hesitate to contact IKEA After Sales Service to:
- make a service request under this guarantee;
- ask for clarification on the installation of the IKEA appliance in the dedicated IKEA kitchen furniture. The service won’t provide clarifications related to:
• the overall IKEA kitchen installation;
• connections to electricity (if the machine comes without plug and cable), to water, and to gas since they have to be executed by an authorized service engineer. - ask for clarification on user manual contents and specifications of the IKEA appliance.
To ensure that we provide you with the best assistance, please read carefully the Assembly Instructions and/or the User Manual section of this booklet before contacting us.
How to reach us if You need our service
Please refer to the last page of this manual or the full list of IKEA-appointed contacts and relative national phone numbers.
In order to provide You with a quicker service, we recommend that You use the specific phone numbers listed at the end of this manual. Always refer to the numbers listed in the booklet of the specific appliance You need assistance for. Before calling us, assure that You have to hand the IKEA article number (8 digit code) and the Serial Number (8 digit code that can be found on the rating plate) for the appliance of which you need our assistance.
SAVE THE SALES RECEIPT! It is Your proof of purchase and required for the guarantee to apply. Note that the receipt reports also the IKEA article name and number (8 digit code) for each of the appliances you have purchased.
Do You need extra help?
For any additional questions not related to After Sales of your appliances, please contact our nearest IKEA store call center. We recommend you read the appliance documentation carefully before contacting us.
© Inter IKEA Systems B.V. 2019
AA-1391895-5



















