Puretec CO-RO3 Food Service Reverse Osmosis Water Treatment System

For correct operation & installation it is essential, to observe these instructions.
Safety Guides
Read and follow all steps and guides carefully before installing and using your reverse osmosis system.
- Do not use this product to make safe drinking water from non-potable water sources.
- Do not use the system on microbiologically unsafe water, or water of unknown quality without adequate disinfection before or after the system.
- This reverse osmosis system contains replaceable components (membrane elements).
- These components are critical for the effective reduction of total dissolved solids and specific contaminants that are listed in the Product Data Sheet.
- Consult your local public works department for plumbing and sanitation codes. Follow your local codes if they differ from this manual.
- The reverse osmosis system works on water pressures of 300 kPa minimum to 860 kPa maximum.
- Water pressure can be reduced by installing a pressure reducing valve in the water supply pipe to the RO system. A booster pump should be used for low pressure applications.
- Do not install the reverse osmosis system in extreme hot or cold temperatures. Temperature of the water supply to the reverse osmosis system must be between 4°C (40°F ) and 38°C (100°F). Do not install on hot water lines.
- All new membranes must be flushed for 3-5 minutes.
The Food Service Reverse Osmosis System
Your Reverse Osmosis System has been especially developed to achieve the perfect TDS for your needs. The system provides three stages of filtration, the TDS bypass can then be adjusted to allocate a portion of that water to be passed through the reverse osmosis membrane. Water that has been treated by the reverse osmosis membrane is then combined with water that has bypassed the membrane, allowing you to customize your TDS levels.
Up to 96% of minerals and impurities are removed from any water treated by the RO membrane, the wastewater from this process is sent to drain. Any water that does not pass through the membrane but passes through the three stages of filtration will retain valuable, flavor-enhancing minerals.
The first stage of filtration reduces sand, silt, dirt, rust and other sediments. It then passes into an Ultra Z filter cartridge, which inhibits limescale and reduces unwelcome elements in the water such as chlorine, bad tastes and odours, as well as providing protection against cysts and bacteria such as E. coli.
The 3rd filtration stage uses Balance+ Technology to transforms calcium bicarbonate into a harmless, crystal form of calcium carbonate. After these calcium carbonate crystals are created, they cannot dissolve in cold or hot water, thereby preventing the formation of limescale within the system.
The TDS and flow rate is adjustable thanks to the unique adjustable bypass, whilst the TDS Meter will provide a live TDS reading.
Before Installation
- Best performance of the system will be achieved when the incoming water has been treated (softened).
- The water coming into the system must be within certain limits for sediments, pressure, etc. Refer to the specifications to determine if your installation is within the limits.
- A water quality analysis can be performed to determine if incoming water requires any treatment. Contact your dealer/installer.
- The filters and membrane elements in the RO system need to be replaced on a regular basis. Follow the instructions for replacement that are in this manual.
- Ensure that the water supply is within the Operating Conditions (see Page 8) of the RO, refer to the Specification Sheet for further information (contact Puretec if parameters are outside the guidelines).
Note: For optimal system performance, use the system for at least 2 minutes continuously each day.
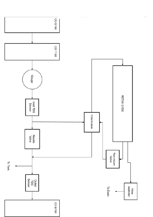
Flow Schematic

Tools and Materials Required
- Adjustable wrench, and larger adjustable jaw pliers or pipe wrench to fit sink drain
- Saw for cutting drain pipe
- Slotted and Phillips head screwdrivers
- Tubing cutters
Location of System
The Puretec Food Service RO System is design to mounted, either on a wall or within a cabinet. The RO system can also be located in a location away from the outlet. A nearby water source and drain point are required.
Note: Keep the lengths of tubing short. Longer lengths of tubing will decrease system performance. A booster pump can be used on the supply line.
Note: All plumbing should be done in accordance with state and local plumbing codes. Some codes may require installation by a licensed plumber. Check with the local plumbing authority prior to installation.
Warning: All components and tubing should be located in an area which is not exposed to freezing temperatures. Do not expose unit or tubing to direct sunlight.
Water Supply: To provide supply water to the RO system inlet, a feed supply fitting is required or install pipe fittings as needed. The feed water valve should be located as close to the manifold assembly as possible. USE A POTABLE COLD WATER SUPPLY ONLY. Softened water is preferred as it will extend the life of the RO membrane element.
Drain Point: A suitable drain point is needed for reject water from the RO system. A floor drain, laundry tub, standpipe, sump, etc. are all acceptable. If discharging into the utility sink or standpipe, an air gap of greater than 1/2-inches above the flood rim must be provided. A sink p-trap drain adapter is included to install as an optional drain point where codes permit.
Do not connect the system drain line to the dishwasher drain or near the garbage disposal. Back pressure from these units may cause the air gap to overflow.
Installation Note: A water filter system/tap, like any product, has a limited life and may eventually fail. Also sometimes failure happens early due to unforeseen circumstances. To avoid possible property damage, this product should be regularly examined for leakage and/or deterioration and replaced when necessary. A drain pan, plumbed to an appropriate drain or outfitted with a leak detector, should be used in those applications where any leakage could cause property damage, and/or the water supply should be turned off if no one is present.
INSTALLATION MUST BE COMPLETED BY A LICENCED PLUMBER. FAULTY OPERATION DUE TO UNQUALIFIED PERSONS WILL RESULT IN VOIDED WARRANTY COVERAGE.
Installation
- Place the RO system in a cool & dry location, allowing 200mm below the unit for filter changeouts.
- Mount the unit to the wall using the pre-cut holes in the bracket.
- Isolate the water supply and release the pressure.
- Connect the water supply to the ⅜” Inlet (LEFT side) and the ⅜” Outlet (RIGHT side) to the machine.
- Connect the ¼ BLACK tubing to the Drain, DO NOT connect this to the inlet of the machine. An inline flow restrictor is pre-installed for water supply under 500 mg/L [ppm] TDS. If your water is above 500 mg/L [ppm] TDS you will need to change the flow restrictor to the supplied flow restrictor marked “2000”.
Note: If installing a holding tank connect to the Holding Tank Connection, ensure Valve is in the OFF position.
- Rotate the Needle Valve in a counterclockwise motion until the valve is in full Bypass mode.
- Turn on the water supply slowly, until the system has filled with water.
- Rotate the Needle Valve in a clockwise motion until the valve is in full filtration mode.
- Flush the RO membrane for 3-5 minutes by opening the shut off valve on the blue flush line (see illustration on Page 6) and connect this flush line to the closest drain point.
- Turn on the TDS Meter by pressing the RED Power button on the top left corner. Press on the OUT button to view the Outlet TDS level.
- Rotate the Needle Valve in a counterclockwise motion until the desired TDS level has been reached.
Note: If utilising a holding tank, turn the Valve into the OPEN position and allow 5-10 minutes for the tank to fill. Flush/drain the tank twice in a row to purge the system.
- Your system is now ready for use.
To Care for the RO System
The components of the RO system are designed to function with minimal maintenance. However, the membrane elements and filters will need to be replaced on a regular schedule.
For optimal performance the system should be flushed for 2 minutes after extended periods of inactivity.
The Reverse Osmosis System has a monitoring device for TDS. To verify that the system is performing satisfactorily turn on the TDS Meter by pressing the RED Power button on the top left corner. Press on the OUT button to view the Outlet TDS level.
Replacement of Prefilter and Postfilter
The carbon/sediment prefilter reduces sediment and certain chemicals, such as chlorine, from the water. Depending on water use and the amount of impurities, this filter should be replaced every six to twelve months for point-of-use applications.
Whenever the prefilter is replaced, the postfilter should also be replaced.
Installations using more than 1,000 litres of water per day should install external filters (not supplied) to reduce, sediment, chlorine and sediment larger than 10 microns.
Replacement of RO Membrane Elements
The functional life of the RO membrane elements will vary based on feed water quality. Product water should be tested periodically to verify the membrane elements are performing properly. For most point-of-use applications, the RO membrane elements should be replaced every two to four years.
Note: Softened water is recommended for optimal system performance and RO membrane element life.
Replacement of the Prefilter, Postfilter, and RO Membrane Elements
- Turn off the water supply to the RO System.
- Reduce system water pressure by opening a tap down steam, or using the holding tank connection.
Caution: Even with the water supply turned off the membrane and prefilter sumps will contain a considerable amount of water. By positioning the a tray or bucket under the system, most of the water will be contained. - Undo Membrane Housing Cap by hand, and remove used membrane (pliers may be required) Open the seal/packaging on the new membrane, insert the double o-ring end of the membrane first. Tighten the cap by hand only. Turn the water on and flush the
system for 3-5 minutes.
Minimum and Maximum Operating Conditions
| Condition Inlet Pressure | Minimum 300 kPa | Maximum 860 kPa |
| Inlet Temperature | 4°C | 38°C |
| Inlet TDS | – | 1,000 mg/L [ppm] (Change flow restrictor for use |
| with water TDS over 500 mg/L [ppm]). | ||
| Inlet Hardness | – | 150 mg/L [ppm] |
| Inlet Iron | 0 mg/L [ppm] | 0.1 mg/L [ppm] |
| Inlet Manganese | 0 mg/L [ppm] | 0.05 mg/L [ppm] |
| Inlet pH | 4 | 10 |
Dimensions

Troubleshooting
| Issue | Possible Cause | Corrective Action |
| Low product flow rate. | Low driving pressure. | Increase feed pressure. Consider pump for low pressure locations. Use short tubing runs to decrease flow restriction. Increase tubing diameter for longer distances. |
| Low water temperature or high total dissolved solids (TDS). | Increase feed water temperature or feed pressure to compensate. | |
| Blocked Filters. | Replace blocked filter. | |
| Scaled or fouled RO membrane. | Replace membranes. | |
| Leak or kink in product line. | Find and repair leak or kink. | |
| Concentrate water runs to drain continuously. | Plugged prefilter. | Plugged prefilter Replace plugged prefilter. Consider sediment prefilter for non-chlorinated applications. |
| Leak in product line. | Find and repair leak. Install pressure gauge in product line to help identify a product pressure leak. | |
| Damaged or missing flow restrictor. | Replace flow restrictor. | |
| Poor product water quality. | Water sample taken during system flush. | Take sample after three minutes of continuous operation. |
| Low driving pressure. | Increase feed pressure. Consider pump for low pressure locations. Use short tubing runs to decrease flow restriction. Increase tubing diameter for longer distances. | |
| Plugged prefilter. | Replace plugged prefilter. Consider sediment prefilter for non-chlorinated applications. | |
| Scaled, fouled, or damaged RO membrane. | Replace RO membranes. |
Warranty
Warranty: Any claim under this warranty must be made within 1 year of the date of purchase of the product. This product is warrantied to be free of defect of material and workmanship for 1 year from date of purchase. To make a claim under the warranty, take the product and proof of purchase to place where you purchased the product, and they will lodge a Warranty Request with Puretec. 1 year warranty is parts and labour. Excludes cartridges.
Puretec will pay your reasonable, direct expenses of claiming under this warranty. You may submit details and proof of your expense claim to place of purchase for consideration.
All installation and service work should be completed by qualified tradespeople. Faulty operation due to unqualified persons will result in voided warranty coverage.
Warranty/Australia
This warranty is given by Puretec Pty Ltd, ABN 44 164 806 688, 37-43 Brodie Road, Lonsdale SA 5160, telephone no. 1300 140 140 and email at [email protected].
This warranty is provided in addition to other rights and remedies you have under law: Our goods come with guarantees which cannot be excluded under the Australian Consumer Law. You are entitled to replacement or refund for a major failure and to compensation for other reasonably foreseeable loss or damage. You are also entitled to have the goods repaired or replaced if the goods fail to be of acceptable quality and the failure does not amount to a major failure.
Warranty/New Zealand
This warranty is given by Puretec Ltd, Reg. No 4464398, PO Box 875 Cambridge 3450, NZ, telephone no. 0800 130 140 and email at [email protected].
This warranty is provided in addition to other rights and remedies you have under law: Our goods come with guarantees which cannot be excluded under the Australian Consumer Law. You are entitled to replacement or refund for a major failure and to compensation for other reasonably foreseeable loss or damage. You are also entitled to have the goods repaired or replaced if the goods fail to be of acceptable quality and the failure does not amount to a major failure.
The warranty only applies if the product was used and/or installed in accordance with the user guide and/or installation instructions. This warranty is given in lieu of all other express or implied warranties and manufacturer shall in no circumstance be held liable for damages consequential or otherwise or delays caused or faulty manufacturing except as excluded by law.
Applicable to all above, is that the warranties need to be approved by Puretec to ensure product was not incorrectly used, installed or claimed. False and incorrect claims will be pursued at Puretec’s discretion, including chargeable inspection and labor costs incurred.
Copyright © Puretec Pty Ltd 2021
AUSTRALIA E
[email protected]
puretec.com.au
NEW ZEALAND
E [email protected]
W puretec.co.nz

















