
Home Appliances

Home Appliances
SJ-SC31CHXIF-EN
SJ-SC31CHXWF-EN
Freezer
User Manual
Your freezer conforms to current safety requirements. Inappropriate use can lead to personal injury and damage to property. To avoid the risk of damage read this manual carefully before using your freezer for the first time. It contains important safety information on the installation, safety, use, and maintenance of your Freezer. Retain this manual for future use.
FIRE
Warning; Risk of fire / flammable materials
CHAPTER -1: GENERAL WARNINGS
WARNING: Keep the ventilation openings of the Freezer clear from obstruction.
WARNING: Do not use mechanical devices or other means to accelerate the defrosting process.
WARNING: Do not use other electrical appliances inside the Freezer.
WARNING: Do not damage the refrigerant circuit.
WARNING: When positioning the appliance, ensure the supply cord is not trapped or damaged.
WARNING: Do not locate multiple portable socket outlets or portable power supplies at the rear of the appliance.
WARNING: To avoid personal injury or damage this appliance must be installed in accordance with the manufacturer’s instructions.
The small quantity of refrigerant used in this freezer is eco-friendly R600a (an isobutene) and is flammable and explosive if ignited in enclosed conditions.
* While carrying and positioning the freezer, do not damage the cooler gas circuit.
* Do not store any containers with flammable materials, such as spray cans or fire extinguisher refill cartridges in the vicinity of the freezer.
* This appliance is intended to be used in household and similar applications such as;
– staff kitchen areas in shops, offices, and other working environments which can be equated with ordinary household
– farmhouses and by clients in hotels, motels, and other residential type environments which can be equated with ordinary household
– bed and breakfast type environments which can be equated with ordinary household
CHAPTER -1: GENERAL WARNINGS
– catering and similar non-retail applications which can be equated with ordinary household
* Your freezer requires a 220-240V, 50Hz mains supply. Do not use any other supply. Before connecting your freezer, ensure that the information on the data plate (voltage and connected load) matches the mains electricity supply. If in doubt, consult a qualified electrician)
* This appliance can be used by children aged 8 years and above and persons with reduced physical, sensory or mental capabilities or lack of experience and knowledge if they have been given supervision or instruction concerning the use of the appliance in a safe way and understand the hazard involved. Children shall not play with the appliance. Cleaning and user maintenance, shall not be made by children without supervision.
* Children aged from 3 to 8 years are allowed to load and unload refrigerating appliances. Children are not expected to perform cleaning or user maintenance of the appliance, very young children (0-3 years old) are not expected to use appliances, young children (3-8 years old) are not expected to use appliances safely unless continuous supervision is given, older children (8-14 years old) and vulnerable people can use appliances safely after they have been given appropriate supervision or instruction concerning use of the appliance. Very vulnerable people are not expected to use appliances safely unless continuous supervision is given.
* A damaged power cord /plug can cause fire or give you an electric shock. When damaged it must be replaced, this should only be done by qualified personnel.
* This appliance is not intended for use at altitudes exceeding 2000 m.
To avoid contamination of food, please respect the following instructions:
* Opening the door for long periods can cause a significant increase of the temperature in the compartments of the appliance.
* Clean regularly surfaces that can come in contact with food and accessible drainage systems.
* Store raw meat and fish in suitable containers in the refrigerator, so that it is not in contact with or drip onto other food.
* Two-star frozen-food compartments are suitable for storing pre-frozen food, storing or making ice cream, and making ice cubes.
* One-, two- and three-star compartments are not suitable for the freezing of fresh food.
* If the refrigerating appliance is left empty for long periods, switch off, defrost, clean, dry, and leave the door open to prevent mold from developing within the appliance.
Disposal
- All packaging and materials used are environmentally friendly and recyclable. Please dispose of any packaging in an environmentally friendly manner. Consult your local council for further details.
- When the appliance is to be scrapped, cut off the electrical supply cable and destroy the plug and cable. Disable the door catch in order to prevent children from becoming trapped inside.
- A cut-off plug inserted into a 16 amp socket is a serious safety (shock) hazard. Please ensure the cut-off plug is disposed of safely.
For Denmark products:
The appliance is equipped with a plug approved in the EU ( EU-Schuko Plug) and can be used in Finland, Norway, and Sweden. In Denmark, the appliance is only approved for use with a wall outlet type E or type CEE7 // 7-S with a ground leg. If there is only wall outlet type K at the connection point, Replacing the EU-Schuko plug with the Danish plug must be performed by only authorized service personnel. Alternatively, connect a suitable and approved power adapter to transition between Schuko plug and Danish earth system. This adapter (min. 10 amps and up to max. 13 amps) can be ordered via a well-assorted white goods dealer or authorized electrician. Only with one of these methods, it can be ensured that the appliance is the correct safe ground. In the absence of earthing installation, an authorized electrician should carry out an earthing installation. In the case of use without earthing installed, we will not be responsible for any loss of use that may occur.
Disposal of your old appliance
This symbol on the product or package implies that the product should not be treated as domestic waste. Instead, it should be delivered to applicable waste collection places recycling electrical and electronic equipment. Recycling materials will help natural resources be preserved. For more detailed information regarding the recycling of this product, please contact the local authority, domestic waste disposal service, or the shop you have purchased the product from. Please ask your local authority about the disposal of the WEEE for reuse, recycling, and recovery purposes.
Notes:
- Please read the instruction manual carefully before installing and using your appliance. We are not responsible for the damage that occurred due to misuse.
- Follow all instructions on your appliance and instruction manual, and keep this manual in a safe place to resolve the problems that may occur in the future.
- This appliance is produced to be used in homes and it can only be used in domestic environments and for specified purposes. It is not suitable for commercial or common use. Such use will cause the guarantee of the appliance to be canceled and our company will not be responsible for the losses to occur.
- This appliance is produced to be used in houses and it is only suitable for cooling / storing foods. It is not suitable for commercial or common use and/or for storing substances except for food. Our company is not responsible for the losses to occur on the contrary case.
Safety warnings
· - Do not connect your Freezer to the mains electricity supply using an extension lead.
- A damaged power cord/plug can cause fire or give you an electric shock. When damaged it must be replaced, this should only be dined by qualified personnel.
- Never bend the power cord excessively.
- Never touch the power cord/plug with wet hands as this could cause a short circuit electric shock.
- Do not place glass bottles or beverage cans in the freezer. Bottles or cans may explode.
- When taking ice made in the freezer, do not touch it, ice may cause ice burns and/or cuts.
- Do not remove items from the freezer if your hands are damp or wet. This could cause skin abrasions or frost /freezer burns.
- Do not refreeze food once it has thawed out.
- Do not use a plug adapter.
Installation Information
Before unpacking and manoeuvering your freezer please take some time to familiarise yourself with the following points. - Position away from direct sunlight and away from any heat source such as a radiator.
- Your appliance should be at least 50 cm away from stoves, Gas ovens, and heater cores, and should be at least 5 cm away from electrical ovens.
- Do not expose your freezer to moisture or rain.
- Your freezer should be positioned at least 20mm away from another freezer.
- Clearance of at least 150 mm is required at the top of your appliance. Do not place anything on top of your appliance.
- For safe operation, it is important that your freezer is safe and balanced. The adjustable feet are used to level your freezer. Make sure that your appliance is level before placing any foodstuffs inside it.
- We recommend that you wipe all shelving and trays with a cloth soaked in warm water mixed
with a teaspoon of bicarbonate or soda before use. After cleaning rinse with warm water and dry. - Install using the plastic distance guides, which can be found at the rear of the appliance. Turn 90 degrees (as shown in the diagram). This will keep the condenser from touching the wall.
- The freezer should be placed against a wall with a free distance not exceeding 75 mm.

- This appliance is designed to work in difficult climate conditions (up to 43 °C or 110° F) and is powered with `Freezer Shield’ technology which ensures that the frozen food in the freezer will not defrost even if the ambient temperature falls as low as -15 °C. So you may then install your appliance in an unheated room without having to worry about frozen food in the freezer being spoilt. When the ambient temperature returns to normal, you may continue using the appliance as usual.
Before using your freezer
- Before setting up your freezer, check for any visible damage. Do not install or use your freezer if it is damaged.
- When using your freezer for the first time, keep it in an upright position for at least 3 hours before plugging into the mains. This will allow efficient operation and prevent damage to the compressor.
- You may notice a slight odor when using your freezer for the first time. This is perfectly normal and will fade away as the freezer starts to cool.
No-Frost technology
No-frost freezers differ from other static freezers in their operating principle. In normal freezers, the humidity entering the freezer due to opening the door and the humidity inherent in the food causes freezing in the freezer compartment. To defrost the frost and ice in the freezer compartment, you are periodically required to turn off the freezer, place the food that needs to be kept frozen in a separately cooled container and remove the ice gathered in the freezer compartment. The situation is completely different in no-frost freezers. Dry and cold air is blown into the freezer compartment homogeneously and evenly from several points via a blower fan. Cold air dispersed homogeneously and evenly between the shelves cools all of your food equally and uniformly, thus preventing humidity and freezing. Therefore your no-frost freezer allows you the ease of use, in addition to its huge capacity and stylish appearance.
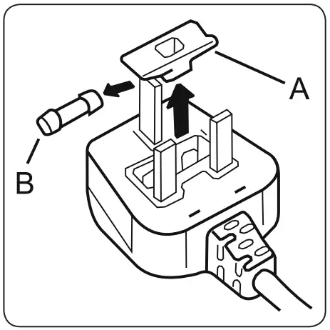
Electrical information (For UK type plug)
Warning! This appliance must be earthed. The mains lead of this appliance has been fitted with a specially earthed plug.![]()
Important: Do not use the appliance without the fuse cover in position. Should the fuse need to be replaced, it must be replaced with a 13A fuse, ASTA approved to BS1362. The plug must be used with a specially earthed socket of 13 amperes. If there is no such socket in your house, please have one installed by an authorized electrician. The mains lead of this appliance has been fitted with a BS 1363A 13A fused plug. To change a fuse in this type of plug, follow the steps below:
- Remove the fuse cover and fuse.
- Fit replacement 13A fuse, ASTA approved to BS 1362 type, into the fuse cover.
- Replace fuse cover.

CHAPTER -2: YOUR FREEZER
This appliance is not intended to be used as a built-in appliance.
In some models, there is a shelf with cinematic in the top basket.

- Ice tray * / Ice matic *
- Freezer flap
- Freezer drawers
- Freezer big drawer
- Freezer bottom drawer
* In some models
This figure has been drawn for information purposes to show the various parts and accessories in the appliance. Parts may vary according to the model of the appliance.
General notes:
Freezer Compartment (Freezer): Most Efficient use of energy is ensured in the configuration with the drawers and bins are on stock position.
CHAPTER -3: USING YOUR FREEZER
Display and control panel
Using the Control Panel
- Freezer temperature setting.
- Super Freeze mode indicator
- Eco mode indicator
- Alarm indicator
- Child Lock mode indicator
- Model Selector
- Decrease value
- Increase value
- Child Lock Selector

Operating your freezer
Super Freeze Mode
Purpose ·
- To freeze a large quantity of food that cannot fit on the fast freeze shelf.
- To freeze prepared foods.
- To freeze fresh food quickly to retain freshness.

How to use
- Press the decreasing button (#7 on the control panel diagram) repeatedly until the `Super Freeze logo appears’ (#2).
- Once the Super Freeze mode has been set, the machine will beep to confirm the mode has been switched on.
- After the beep, the original temperature of the freezer will appear on the screen.
- The mode can be canceled by repeating the above instructions from the beginning.
During this mode: - An economy mode cannot be selected whilst Super Freeze is active.
Economy Mode
Purpose
Energy savings. During periods of less frequent use (door opening) or absence from home, such as a holiday, Eco program can provide optimum temperature whilst saving power.
How to Use - Press mode selector (
) (#6 on control panel diagram) until the `Eco Mode’ icon
appears (#3). - Once the `Eco mode’ has been set, the machine will beep to confirm the mode has been switched on.
- After the beep, the freezer temperature setting (#1) will display an `E’.
- Eco Mode can be canceled by pressing the
button (#6).
During this mode:
- The freezer temperature may be adjusted however the adjustment will not be made until Eco Mode is canceled. When the economy mode is canceled, the selected setting value will be activated and the temperature will be adjusted.
- Super Freeze mode can be selected, however by selecting mode Eco Mode is canceled immediately.
Screen Saver Mode
Purpose
This mode saves energy by switching off all control panel lighting when the panel is left inactive.
How to Use
- Screen saver mode will be activated automatically after 30 seconds. · If you press any key while the lighting of the control panel is off, the current machine settings will reappear on the display to let you make any change you wish.
- If you do not cancel the screen saving mode or press any key for 30 seconds, the control panel will remain off.

To deactivate the screen saving mode,
- To cancel the screen saving mode, first of all, you need to press any key to activate the keys and then press and hold the Mode button ”
” (#6) for 3 seconds. - To reactivate screen saving mode, press and hold the mode button “
“(#6) for 3 seconds.
The Child Lock Function
Purpose
Child lock can be activated to prevent any accidental or unintentional changes being made to the appliance settings.
Activating Child Lock
Press and hold the child lock button
(#9) for 5 seconds.
Canceling Child Lock
Press and child lock button
(#9) for 5 seconds.

Door Open Alarm Function
If the freezer door is left open for more than 2 minutes, the appliance will beep.
Freezer Temperature Settings · Users can use the decreasing or increasing button (#7 / #8) to set the temperature(-16, -17, -18, -19, -20, -21, -22, -23, -24°C and Super Freeze Mode “super”). · If Super Freeze mode or Eco mode is activated, the temperature will not change until the mode is canceled.

Recommended Temperature Values for Freezer
| When to adjust | Inner Temperature (°C) |
| For minimum freezing capacity | -16°C, -17°C |
| In normal usage | -18°C, -19°C, -20°C, -21°C |
| For maximum freezing capacity. | -22°C, -23°C, -24°C |
This option shall be turned on 24 hours before placing the fresh food to the freezer. After 54h, it returns to the normal set value.
Warnings for temperature settings
- The ambient temperature, the temperature of the freshly stored food, and how often the door is opened, affect the temperature in the freezer. If required, change the temperature setting.
- It is not recommended that you operate your freezer in environments colder than 10°C.
- The temperature setting should be set by taking into consideration how often the freezer door is opened and
closed, how much food is stored in the freezer and the environment in which, and the positioning of the appliance. - We recommend that when first using the freezer it should be left running for 24 hours uninterrupted to ensure it is completely cooled. Do not open the freezer door, or put food inside for this period.
- Your freezer has a 5-minute built-in delay function, designed to prevent damage to the compressor. When power is applied to your freezer, it will begin to operate normally after 5 minutes.
- Your freezer is designed to operate in the ambient temperature intervals stated in the standards, according to the climate class stated in the information label. It is not recommended that your freezer is operated in environments that are out of the stated temperature intervals in terms of cooling efficiency.
- This appliance is designed for use at an ambient temperature within the 10°C – 43°C range.
Climate class and meaning:
T (tropical): This refrigerating appliance is intended to be used at ambient temperatures ranging from 16 °C to 43 °C.
ST (subtropical): This refrigerating appliance is intended to be used at ambient temperatures ranging from 16 °C to 38 °C.
N (temperate): This refrigerating appliance is intended to be used at ambient temperatures ranging from 16 °C to 32 °C.
SN (extended temperate): This refrigerating appliance is intended to be used at ambient temperatures ranging from 10 °C to 32 °C.
Important installation instructions
This appliance is designed to work in difficult climate conditions (up to 43 degrees C or 110 degrees F) and is powered with `Freezer Shield’ technology which ensures that the frozen food in the freezer will not defrost even if the ambient temperature falls as low as -15 °C. So you may then install your appliance in an unheated room without having to worry about frozen food in the freezer being spoilt. When the ambient temperature returns to normal, you may continue using the appliance as usual.
Spacer
- When the door of the freezer is closed, a vacuum will occur. Wait for about 1 minute to reopen it.
- This application is optional for easy opening doors. With this application, a little condensation may occur around this area and you may take it out. Spacer

Accessories
Icematic (In some models)
- Take out the ice-making tray
- Fill the water in the line.
- Place the ice making tray in its original position
- When ice cubes are formed, twist the lever to drop ice cubes into the icebox.

Note: · Do not fill the icebox with water in order to make ice. It may be broken. · The movement of the ice maker may be difficult while the refrigerator is running. In such a case, it should be cleaned after removing the glass shelves.
Ice tray (In some models)
- Fill the ice tray with water and place it in the freezer compartment.
- After the water is completely turned into ice, you can twist the tray as shown below to get the ice cube.

Cleaning
- Before cleaning your freezer, turn your mains supply off and remove the plug from the socket.
- Do not wash your freezer by pouring water onto it.
- Use a warm, soapy cloth or sponge to wipe the interior and exterior of your freezer.
- Carefully remove all baskets by sliding upwards or outwards and clean with soapy water. Do not wash in a washing machine or dishwasher.
- Do not use solvents, abrasive cleaners, glass cleaners, or all-purpose cleaning agents to clean your freezer. This may cause damage to the plastic surfaces and other components with the chemicals they contain.
- Clean the condenser at the back of your freezer at least once a year with a soft brush or vacuum cleaner. Make sure that your freezer is unplugged while cleaning.
Replacing LED Lighting
(In some models) If your freezer has LED lighting contact the Sharp help desk as this should be changed by authorized personnel only.
Defrosting
Your freezer automatically defrosts. The water formed as a result of defrosting passes through the water collection spout flows into the vaporization container behind your freezer and evaporates by itself in there.

CHAPTER -4: FOOD STORAGE GUIDANCE
- The freezer compartment is used for freezing fresh food, for storing frozen foods for the period of time indicated on the packaging, and for making ice cubes..
- Do not put fresh and warm food next to frozen food as it can thaw the frozen food.
- While freezing fresh foods (i.e. meat, fish, and mincemeat) divide them in portions you will use in a single serving.
- For storing frozen foods, the instructions shown on frozen food packages should always be followed carefully. If no information is provided, food should not be stored for more than 3 months from the purchased date.
- Maximum load: if you want to store large quantities of food and use the maximum net capacity of the freezer,
you can remove all the sliding drawers but you should keep the upper shelf flaps. Thanks to this, it is possible to store bulky items directly on the shelves.’ - When buying frozen food ensure that these have been frozen at suitable temperatures and that the packing is intact.
- Frozen food should be transported in appropriate containers to maintain the quality of the food and should be returned to the freezing surfaces of the unit in the shortest possible time.
- If a package of frozen food shows signs of humidity and abnormal swelling it is probable that it has been previously stored at an unsuitable temperature and that the contents have deteriorated..
- The storage life of frozen foods depends on the room temperature, thermostat setting, how often the door is opened, the type of food, and the length of time required to transport the product from the shop to your home. Always follow the instructions printed on the packaging and never exceed the maximum storage life indicated.
If you would use the maximum freezing capacity of your freezer: - While freezing fresh foods, the maximum amount of fresh food (in kg) that can be frozen in 24 hours is indicated on the appliance label. (your refrigerator has the capacity to freeze 25 kg at 25°C ambient)
- For optimum appliance performance to reach maximum freezing capacity, activate Super Freeze (SF) mode 24 hours before placing fresh food into the freezer.
- After placing fresh food into the freezer, 24 hours is generally sufficient for freezing. “Super Freeze” mode will be deactivated automatically in 2-3 days to save energy.
If you would freeze a small amount (up to 3 kg) in your freezer: - Place your food without touching already frozen food and activate “Fast Freezing” mode. You can put your food next to other frozen food after it is completely frozen (after a minimum of 24 hours).
- Do not re-freeze frozen food after it has thawed. This may cause health issues, such as food poisoning.
- Allow hot food to completely cool down before placing it in the freezer.
- When buying frozen food ensure that these have been frozen at suitable temperatures and that the packing is intact.
CHAPTER -5: DOOR REVERSAL
‘Door reversal
- It depends on which fridge you have as to whether it is possible the reverse the doors.
- It is not possible where handles are attached at the front of the appliance.
- If your model does not have handles or if the handles are attached to the side of the door, it is possible to reverse the doors, but this needs to be completed by authorized personnel. Please call Sharp service.’
CHAPTER -6: TROUBLESHOOTING
Your Freezer is equipped with a built-in fault detection system, which is able to give you guidance should your freezer not operate as expected. In the event of an error code will be displayed on the control panel. The most common error codes are shown below. If your freezer displays a code not shown below contact the Sharp help-desk.
| ERROR TYPE | MEANING | WHY | WHAT TO DO |
| E01 | Sensor warning | Contact the Sharp help desk as soon as possible. | |
| E02 | Sensor warning | Contact the Sharp help desk as soon as possible. | |
| E03 | Sensor warning | Contact the Sharp help desk as soon as possible. | |
| E06 | Sensor warning | Contact the Sharp help desk as soon as possible. | |
| E07 | Sensor warning | Contact the Sharp help desk as soon as possible. | |
| E08 | Low Voltage Warning | Power supply to the device has dropped to below 170W. | – This is not a device failure, this error helps to prevent damages to the compressor. – The voltage needs to be increased back to the required levels If this warning continues, contact the Sharp help desk as soon as possible. |
| E09 | The freezer compartment is not cold enough | Likely to occur after long term power failure. | 1. Set the freezer temperature to a colder value or set Super Freeze. This should remove the error code once the required temperature has been reached. Keep doors closed to improve the time taken to reach the correct temperature. 2. Remove any products which have hawed/defrosted during this error. They can be used within a short period of time. 3. Do not add any fresh produce to the freezer compartment until the correct temperature has been reached and the error is no longer. If this warning continues, contact the Sharp help desk as soon as possible. |
Check Warnings;
If your freezer is not operating;
- Is there a power failure?
- Is the plug connected to the socket correctly?
- Is the fuse of the socket to which the plug is connected or the main fuse has blown?
- Is there any failure at the socket? To check this, plug your refrigerator into a known working socket.
If your freezer is not cooling enough; - Is the temperature adjustment right?
- Is the door of your freezer opened frequently and left open for a long while?
- Is the door of the freezer closed properly?
- Did you put a dish or food on your freezer so that it contacts the rear wall of your freezer so as to prevent air circulation?
- Is your freezer filled excessively?
- Is there adequate distance between your freezer and the rear and side walls?
- Is the ambient temperature within the range of values specified in the operating manual?
If the food in your freezer is over-cooled
- Is the temperature adjustment right?
- Is there much food recently put inside the freezer?
If your freezer is operating too loudly;
To maintain the set cooling level, the compressor may be activated from time to time. Noises from your freezer at this time are normal due to their function. When the required cooling level is reached, noises will be decreased automatically. If the noises persist; - Is your appliance stable? Are the legs adjusted?
- Is there anything behind your freezer?
- Are the shelves or dishes on the shelves vibrating? Replace the shelves and/or dishes if this is the case.
- Are the items placed on your freezer vibrating?
Normal Noises;
Cracking (Ice cracking) Noise: - During automatic defrosting.
- When the appliance is cooled or warmed (due to expansion of appliance material).
Short cracking: Heard when the thermostat switches the compressor on/off.
Compressor noise (Normal motor noise): This noise means that the compressor operates normally Compressor may cause more noise for a short time when it is activated. Bubbling noise and splash: This noise is caused by the flow of the refrigerant in the tubes of the system.
Water flow noise: Normal flow noise of water flowing to the evaporation container during defrosting. This noise can be heard during defrosting. Air
Blowing Noise (Normal fan noise): This noise can be heard in the No-Frost freezer during normal operation of the system due to the circulation of air.
If humidity builds up inside the freezer; - Has the food been properly packaged? Have the containers been well dried before they were put into the freezer?
- Is the door of the freezer opened very frequently? When the door is opened, the humidity found in the air in the room enters the freezer. Especially if the humidity rate in the room is too high, the more frequently the door is opened the faster will be the humidification.
If the doors are not opened and closed properly; - Do the food packages prevent the closing of the door?
- Are the door freezer, baskets and Icebox placed properly?
- Is the door gasket broken or torn?
- Is your freezer on a level surface?
If the edges of the freezer cabinet that the door joint contact is warm; Especially in summer (hot weather), the surfaces that the joint contact may get warmer during the operation of the compressor, this is normal.
IMPORTANT NOTES: - The compressor protection thermal fuse will cut out after sudden power breakdowns or after unplugging the appliance because the gas in the cooling system is not stabilized. This is quite normal, and the freezer will restart after 4 or 5 minutes.
- The cooling unit of your freezer is hidden in the rear wall. Therefore, water droplets or ice may occur on the rear surface of your freezer due to the operation of the compressor in specified intervals. This is normal. There is no need to perform a defrosting operation unless the ice is excessive.
- If you will not use your freezer for a long time (e.g. in the summer holidays) unplug it. Clean your freezer according to Part 4 and leave the door open to prevent humidity and smell.
- The appliance you have purchased is designed for home type use and can be used only at home and for the stated purposes. It is not suitable for commercial or common use. If the consumer use the appliance in a way that does not comply with these features, we emphasize that the producer and the dealer shall not be responsible for any repair and failure within the guarantee period.
- If the problem persists after you have followed all the instructions above, please consult an authorized service provider.
CHAPTER -7: TIPS FOR SAVING ENERGY
- Do not install the appliance close to heat-producing appliances. Such as cooker, oven, dishwasher, or radiator, and locate the appliance in the coolest part of the room.
- Locate the appliance ina cool well ventilated room and make sure that the air openings of the appliances are not obstructed.
- Always leave warm food to cool down to room temperature before placing in the freezer.
- Try to avoid keeping the door open for long periods or opening the door too frequently as warm air will enter the cabinet and cause the compressor to switch on unnecessarily often.
- Ensure there are no obstructions preventing the door from closing properly.
- Cover foods before placing them in the freezer. This cuts down on moisture build-up inside the unit.
- Refer to the “temperature settings” section for the suggested temperature control settings.
- Do not block cold air vents. Doing so causes the freezer to run longer and use more energy.
- Keep the freezer full. · Level the freezer so that the door closes tightly.
- Occasionally clean the rear of the appliance with a vacuum cleaner or paintbrush to prevent increased power consumption.
- Keep door gaskets clean and pliable. Replace gaskets if worn.
CHAPTER -8: SERVICE & WARRANTY
If you are unable to resolve a problem using the checks covered in the last few pages, do not attempt to service this freezer yourself.
In the unlikely event of the product requiring repair, please contact the Customer Support Centre. Telephone: 0333 577 7230 Lines are open Mon to Fri 09.00 to 17.00
Vestel UK the license partner for Sharp guarantees that for a period of 2 years from the date of purchase the enclosed product will be free from defects in materials and workmanship. Vestel UK agrees to provide for the repair or, at its option, the replacement of a defective product. Vestel UK reserves the right to replace defective parts, or the product, with new or refurbished items. Items that are replaced become the property of Vestel UK. To benefit from this guarantee, any fault that occurs must be notified to Vestel UK, or its appointed Service Facility, within two years from the date the product was purchased. Proof of purchase, such as a receipt or invoice, must be provided. If the product is exchanged, the replacement shall be covered by the unexpired portion of the original guarantee.
This guarantee shall only apply to faults that are due to an electrical or mechanical breakdown. It does not cover faults or damage caused by accident, misuse, fair wear and tear, neglect, tampering with the product, or repair other than by a Service Facility appointed by Vestel UK.
The product is intended for private domestic use only. The guarantee will not apply if the product is used in the course of a business, trade or profession.
CHAPTER -9: TECHNICAL DATA
The technical information is situated in the rating plate on the internal side of the appliance and on the energy label. The QR code on the energy label supplied with the appliance provides a web link to the information related to the performance of the appliance in the EU EPREL database. Keep the energy label for reference together with the user manual and all other documents provided with this appliance. It is also possible to find the same information in EPREL using the link https://eprel.ec.europa.eu and the model name and product number that you find on the rating plate of the appliance. See the link www. the energy label.EU for detailed information about the energy label.
CHAPTER -10: CUSTOMER CARE AND SERVICE
Always use original spare parts. When contacting our Authorised Service Centre, ensure that you have the following data available: Model, Serial Number, and Service Index. The information can be found on the rating plate. You can find the rating label inside the freezer zone on the left lower side. The original spare parts for some specific components are available for a minimum of 7 or 10 years, based on the type of component, from the placing on the market of the last unit of the model.
Visit our website at: www.sharphomeappliances.com
Service & Support
Visit Our Website
sharphomeappliances.com
52372004
·



















