
Thank you very much for buying this SHARP product. Before using your SHARP refrigerator, please read this operation manual to ensure that you gain the maximum benefi t from it.
- This refrigerator is intended for making ice cubes, refrigerating and freezing food.
- This refrigerator is for household use only, with ambient temperature indicated in the table. The climate class is specifi ed on the rating plate. If the refrigerator operates out of range (ambient temperature range) of the climate class which
is rated for that model, it may not be able to maintain satisfactory internal temperatures. If the refrigerator is used at colder temperatures, the refrigerator will not be damaged up to a temperature of +5°C. - The refrigerator should not be subjected to temperatures of -10°C or below for a long period of time.
- The appliance is to be supplied through a residual current device (RCD) having a rated residual operating current not exceeding 30 mA.
- This appliance is considered to be suitable for use in countries having a warm damp equable climate. It may also be used in other countries.
Household use only
| Climate class | Acceptable range of ambient temperature |
| SN | +10°C to 32°C |
| N | +16°C to 32°C |
| ST | +16°C to 38°C |
| T | +16°C to 43°C |
Safety information
| WARNING This means that there are high risks of death or serious injury. |
| CAUTION This means that there are high risks of material damage or personal injury. |
| CAUTION Fire marks means this refrigerator has risk of fire accident. |
WARNING
Refrigerant
This refrigerator contains fl ammable refrigerant (R600a: isobutane) and insulation blowing gas (cyclopentane). Observe the following rules to prevent ignition and explosion.
- Do not allow any pointed objects to have contact with the refrigeration system. The refrigeration system behind and inside the refrigerator contains refrigerant
- Do not use mechanical devices or other means to accelerate the defrosting process. (This refrigerator has adopted automatic defrosting system.)
- Do not use electrical appliances that are not recommended by the manufacturer inside the refrigerator, such as ice cream makers or electric deodorizers.
- Keep adequate ventilation space and do not block the space around the refrigerator.
- Do not use fl ammable sprays, such as spray paint near the refrigerator.
- Do not store fl ammable sprays, such as spray paint in the refrigerator.
- In the case of failure of the refrigeration system, do not touch the wall socket and use open fl ames. Open the window and let out the air from the room. Then ask a service agent approved by SHARP for service.
Power cord, Plug, Socket
Read carefully the following rules to prevent electric shock or fire.
- Make sure to protect the power cord from being damaged during installation or moving. If the power plug or cord is loose, do not insert the power plug.
- Do not place multiple portable socket-outlets or portablepower supplies at the rear of the refrigerator.
- Connect the power plug into the wall socket fi rmly and directly. Do not use an extension cord or adapter plug.
- Connect the power plug to the socket with the required rated voltage.
- Connect the earth pin to the earth terminal properly.
- Do not touch the power plug with wet hands.
- Disconnect from the main electricity supply by removing the main plug from the socket. Do not remove by pulling the power cord.
- Dust deposited on the power plug may cause fire. Wipe it off carefully.
- Pull out the plug if the refrigerator is not used for a long time.
- If the fl exible supply cord is damaged, it must be replaced by service agent approved by SHARP in order to avoid a hazard.
Installation
- Do not install the refrigerator in a damp or wet location. It may cause the damage to the insulation or electrical leak. Dew may also appear on the outer cabinet and it causes rust.
- The refrigerator should be installed flatly and firmly on the floor.
In use
- Do not store volatile and flammable materials such as ether, petrol, propane gas, aerosol cans, adhesive agents and pure alcohol etc. These materials are easy to explode.
- Do not store temperature-sensitive products such as pharmaceutical products in the refrigerator. There are high risks of changes in product quality.
- Do not attempt to change or modify this refrigerator. This may result in fi re, electric shock or injury.
- Do not place bottled drinks and cans in the freezer compartment. Especially “Express cool” is in operation, there is a high risk that glass bottles may burst.
- Do not place any object on the top of refrigerator. If the object falls down from the top, it may cause injury.
- Do not hit the glass doors hard. Otherwise, they may break and cause physical injury. <Only for SJ-FX52GP,SJ-FX57GP>
- This appliance is not intended for use by persons (including children) with reduced physical, sensory or mental capabilities, or lack of experience and knowledge unless they have been given supervision or instruction concerning the use of the appliance by a person responsible for their safety. Children should be supervised to ensure that they do not play with the appliance.
Care and Cleaning
- Unplug the refrigerator fi rst to prevent electric shock.
- Do not splash water directly on the outer cabinet or the interior. This may lead to rusting and deterioration of the electrical insulation.
Trouble
- If you smell something burning, pull out the power plug immediately. Then ask a service agent approved by SHARP for service.
- In case of gas leak, ventilate the area by opening window. Do not touch the refrigerator or the power socket.
Disposal
- Ensure that the refrigerator presents no danger to children while being stored until disposal. (e.g. remove the door to prevent child entrapment.)
- This refrigerator should be disposed appropriately. Take the refrigerator to a professional recycling plant for flammable refrigerant and insulation blowing gases.
CAUTION
Transportation
- When you install or move your refrigerator, use curing mat to protect the fl oor from being damaged.
- Carry the refrigerator by holding the handles located on the rear and the feet of the bottom. If you lift up the refrigerator improperly, it may cause injury.
In use
- Do not touch the compressor unit or its peripheral parts, as they become extremely hot during operation and the metal edges may cause injury.
- Do not touch foods or metal containers in the freezer compartment with wet hands. This may cause frostbite.
- Do not use other than potable water to make ice cubes.
- Do not open or close the door when somebody put a hand near the door. There is a risk that the other people may catch their fi ngers in the door.
- Do not put oversized object in the pockets of the door. If the object falls down from the pockets, it may cause injury.
- Make sure to handle the glass shelves with care to install or uninstall. If you drop the glass shelves, it may break or cause injury.
Installation
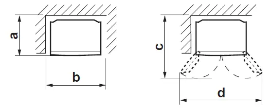
- Keep adequate ventilation space around the refrigerator.

- The picture shows the minimum required space for installing the refrigerator. The measurement condition of energy consumption is conducted under a different space dimension.
- By keeping greater space, the refrigerator may consume a less amount of power consumption.
- If use the refrigerator in the smaller space dimension than pictured below, it may cause temperature rise in the unit, loud noise and failure.
- The space between the rear of the refrigerator and the wall should be 50mm or more, and less than 75mm. If the space is wider than 75mm, you may get injured by touching compressor and its peripheral parts which are extremely hot during the operation.
Overall space required in use
SJ-FX52GP SJ-FX57GP SJ-FX52TP SJ-FX57TP a 818mm 832mm b 1012mm 1012mm c 1188mm 1188mm d 1409mm 1424mm
- Use the two front adjustable feet to place the refrigerator fl atly and fi rmly on the floor.

- When right and left doors are not properly aligned, adjust using the adjustable feet.

- Connect the appliance via a correctly installed socket.
Note
- Place your refrigerator to access the plug.
- Keep your refrigerator out of direct sunlight and do not place next to heat generating appliance.
- Do not place your refrigerator directly on the ground. Insert suitable stand such as wooden board under the refrigerator.
- When you insert the power plug with the door opened, door alarm sounds but it is normal. This sound stops after closing the door.
Casters are located on the bottom of the refrigerator
- The casters allow the refrigerator to move back and forth.

Before using your refrigerator
- Clean the inside parts with a cloth soaked in warm water.
- If you use soapy water to clean, wipe it off thoroughly with water.
Description

- Refrigerator shelf (Upper)
- Refrigerator shelf (Lower)
- Door pocket (4 pcs)
- Egg holder
- Bottle pocket (2 pcs)
- Extra cool plus case
- Movable ice maker
You can put the ice maker in the - freezer drawer Freezer drawer (2 pcs)
- Freezer case (Upper) (2 pos)
- Freezer case (Bottom left)
- Freezer case (Bottom right)
- Adjustable foot (2 pcs)
- Fixed shelf
- Humidity adjustment (2 pcs)
Humidhity of the fluit and vegetable crisper can be adjusted
- Default setting is “Open” position.
- If sliders are “Close” position, it can keep moisture better.
- Fruit and vegetable crisper This case works for storing food with highmoisture freshly.
Move the partition to fit the size of food.
- Fresh case
- Metal tray (Extra cool plus case)
- Metal tray (Freezer case)
- Freezer shelf <Only for SJ-VX57PG, SJ-VX57ES>
- Magnetic door seal
- Hybrid cooling panel The panel cools the refrigerator compartment indirectly from the rear. Ih this way, food is cooled gently without being exposed to cold air flow.
- Light
- Control panel 1 SJ-FX52GP,
SJ-FX57GP 2 SJ-FX52TP, SJ-FX57TP
If you wish to store large items within your refrigerator
- You may remove any shelves or any pockets numbered 1,2,3,4,5,6,7,8,9,10,11,15,16,17,18,19 in the picture above.
- Cooling performance is not influenced even if you use the refrigerator in the above situation.
Deodorizing unit
Deodorizing catalyst is installed on the routes of cold air. There is no need to operate and clean.
Movable ice maker
- Do not overfill the tray with water. Otherwise the ice cubes will join together when frozen.
- When ice cubes are made, turn the lever clockwise to put the lIce into the ice cube box. lce cube box
Note Make sure to place the ice maker flatly not to spill out the water from the ice tray. To prevent the ice cube box from being damaged, do not pour oil into it or make ice in it.
Useful modes


| Extra cool | Express freezing | Express cool | |
| Feature | This mode is to cool beverages or foods to ice-cold. Note : Food with high- moisture may freeze. | This mode speeds up the time to freeze food or make ice. | This mode is to cool beverages or foods quickly. |
| Place | Fresh room | Freezer compartment | Freezer compartment CAUTION : Do not place glass bottles. There is a high risk that they may burst. |
| Operating time | 6 hours *1 | 2 hours *1 | 30 minutes |
| • This mode ends automatically. • The alarm does not sound. | • This mode ends automatically. • The alarm sounds. To stop the alarm *2
Touch enter | ||
| After the operation completed | • There is no need for taking beverages or foods out. | • Be sure to take the beverages and foods out when the alarm sounds. • If the beverages and foods are left in the freezer compartment over approximately 30 minutes, they may freeze. | |
| At the time of power failure during the operation | • This mode is automatically cancelled. | • This mode is automatically restarted from the previous state at the time of re-power. | |
*1 It may take more time to complete if the operation overlaps with defrosting. This mode starts after defrosting is completed.
*2 If you do not stop the alarm, it sounds 30 minutes continuously.
Note
- Extra cool, Express freezing and Express cool are not available at the same time while one of the modes is in operation.
- Avoid opening the door as much as possible during the operations of these modes.
Extra cool plus

- This mode is convenient to keep food in cold temperature. The setting temperature is around -1.5°C.
- The effi ciency of this mode depends on the usage environment (ambient temperature, frequency of opening or closing the door, amount of food). To keep the temperature, avoid opening the door as much as possible.
CAUTION: Do not place glass bottles. There is a high risk that they may burst.
Deep freezing
- This temperature setting is to keep food at deep freezing temperature.
- Set temperature setting to -24°C.
- You can also use “Deep freezing” button as a shortcut. Refer to page of “Control panel”.
- The temperature may vary depending on the usage (i.e. ambient temperature, frequency of door openings, amount of food).
- To keep the temperature, try not to open doors too frequently.
- Do not touch the stored food with wet hands and do not put it into your mouth immediately after removal.
- Also, avoid touching internal fittings, especially Metal tray. These may cause frostbite
Plasmacluster
- Use this feature when you want to keep the inside of the refrigerator clean.
- The ionizer inside your refrigerator releases clusters of ions, which are collective masses of positive and negative ions, into the refrigerator compartment.
- These ion clusters inactivate airborne mold fungus.

Note
There may be a slight odor in the refrigerator. This is the smell of ozone generated by the ionizer. The amount of ozone is minimum and quickly disappears in the refrigerator.
Energy saving
- Use this feature when you want to switch the appliance to energy-saving operation
- While this feature is operating, the inside temperature of the refrigerator and freezer compartment becomes higher than the normal operation as follows when the temperature is default setting.
- The displayed temperature is not be changed.
| Freezer compartment | Refrigerator compartment | |
| Under “Energy saving” mode | Approx. 1°C plus | Approx. 2°C plus |
Cancel this mode when you feel the beverages are not cooled enough or ice making takes longer time.
Note
The efficiency of power saving depends on the usage environment (controlling temperature, ambient temperature, frequency of opening or closing the door, amount of food).
Control panel
(SJ-FX52GP, SJ-FX57GP)
Note
- When you press one of the keys, all icons fl ash once and show the standby display.
- Mode icons or indicators in operation light up on the standby display.
- When Express cool is in operation, the icon fl ashes on the standby display.
- When there is no operation for approximately 1 minute, the display returns to the standby display automatically.
- The standby display turns off if there is no operation for another 1 minute
- If the refrigerator stops because of power failure, the modes except for Extra cool and Express freezing operate the same way even after the recovery from electrical outage.
- Operation is not accepted while the refrigerator door is opened.
Operations of useful modes

When touch
key, the icons change in the order shown as below.

Operations of additional modes
Door alarm
- When the refrigerator door is left open for over 1 minute, door alarm sounds once, and again after 1 minute.
- If the door is left open for approx. 3 minutes, the alarm sounds continuously.
- The alarm stops after close the door.
Turn off operation
Touch
and
simultaneously for 3 seconds or more.(Beep, beep, beep)
Sound of button operation
- The electric sound is operated when touching each keys.
Turn off operation
Touch
and
simultaneously for 3 seconds or more.(Beep, beep, beep)
Note
When you want to turn on the additional mode, follow the same step again. (The indicator turns on.)
Controlling temperature
The refrigerator controls its temperature automatically. However, you can adjust the temperature as below.
How to check the current temperature setting

When touch
key, the icons change in the order shown as below.
The temperature that indicated on the control panel is not the exact temperature inside.
Setting of Refrigerator/Freezer compartment and Deep freezing
Refrigerator compartment : Adjustable between 0°C and 6°C in step of 0.5°C
Freezer compartment : Adjustable between -15°C and -21°C in step of 0.5°C and -24°C (Deep Freezing)


Simple setting of Refrigerator/Freezer compartment and Deep freezing
The temperature of freezer compartment and refrigerator compartment can be adjusted in step of 1°C by following the steps a to c.
- a. After the step 1 of “Basic operations”
,press 3 seconds or more. (Beep, beep, beep) The current preset temperature returns to “Default setting”.
(The display is indicated as the picture on the below.)
- b. Press or and set the temperature.
- c. Complete the setting. (Same as the step 3 of “Basic operations”.)
Follow the steps a to c again if you want to adjust the temperature in step of 0.5°C.

(SJ-FX52TP, SJ-FX57TP)

Door Alarm
- When the refrigerator door is left open for over 1 minute, door alarm sounds once, and again after 1 minute.
- If the door is left open for approx. 3 minutes, the alarm sounds continuously.
- The alarm stops after closing the door.
Note
- If the refrigerator stops because of power failure, the modes except for Extra cool and Express freezing operate the same way even after the recovery from electrical outage.
Operations of useful modes
| Mode | How to start | Indication of “ON” | How to cancel |
| Extra cool Extra cool plus Express freezing Energy saving Deep freezing | (Ex. Extra cool) Press the mode button. (Beep) |
Lighting
| Press the mode button. (Beep)
Turn off
|
| Express cool | Press the mode button for 3 seconds or more. (Beep, beep, beep)![]() |
Flashing
| Press the mode button. (Beep)
Turn off |
| Plasmacluster | Press the mode button for 3 seconds or more. (Beep, beep, beep)![]() |
Flashing | Press the mode button for 3 seconds or more. (Beep, beep, beep)
Turn off |
Controlling temperature
The refrigerator controls its temperature automatically. However, you can adjust the temperature as below.
How to check the current temperature setting
The indicator lights up to show the current temperature level by pressing button shown below.

Setting of Refrigerator/Freezer compartment and deep freezing
Refrigerator compartment
- Press “Refrigerator compartment” button.
- Press “Refrigerator compartment” button to change the temperature level.
Temperature indicator changes as the picture below by pressing the button. 7→8→9→10→11→12→13→1→2→3→4→5→6→7 Freezer compartment

- Press “Freezer compartment” button.
- Press “Freezer compartment” button to change the temperature level.
Temperature indicator changes as the picture below by pressing the button. 7→8→9→10→11→12→13→Deep freezing→1→ 2→3→4→5→6→7
Simple setting of Refrigerator/Freezer compartment and deep freezing
The temperature of refrigerator compartment and freezer compartment can be adjusted in 5 levels by following the steps a to b.
Refrigerator compartment
- a. Press “Refrigerator compartment” button for 3 seconds or more. (Beep. beep, beep) The indicator returns to “Default setting”.
- b. Press “Refrigerator compartment” button to change the temperature level.
Temperature indicator changes as the picture below by pressing the button. 7→10→13→1→4→7
Freezer compartment
- a. Press “Freezer compartment” button for 3 seconds or more. (Beep. beep, beep) The indicator returns to “Default setting”.
- b. Press “Freezer compartment” button to change the temperature level. Temperature indicator changes as the picture below by pressing the button.
7→10→13→Deep freezing→1→4→7
Follow the steps a to b if you want to adjust the temperature in 13 levels..
* Only for Freezer compartment
Note
After adjusting the temperature level, the indicator turns off approximately 5 seconds later
Storing food
- Ensure that the food is of the freshest possible quality to maximize the storage life of perishable food. The following is a general guide to help promote longer food storage.
- Food has a limited storage life. Make sure not to exceed use-by date indicated by manufacturer.
Freezer
- Freeze small quantities of food at a time in order to freeze them quickly.
- Food should be properly sealed tightly or covered .
- Place foods in the freezer evenly.
- Label bags or containers to keep an inventory of freezing food.
* Notes for ice making
- Except for the position in the picture of “Description”, the ice making process may take longer.
- When you try to freeze much foods or water at once it may slow down to make ice.
- You may activate Express freezing mode to make ice quickly
Refrigerator
Fruit / Vegetables
- Fruit and vegetables should be loosely enclosed in a plastic material e.g. wrap, bags (do not seal) and placed in the fruit and vegetable crisper to minimize moisture loss.
- Fruits and vegetables which are easily effected by low temperature should be stored in a cool place except for the refrigerator.
Dairy Products & Eggs
- Most dairy products have their best-before date on the outer packaging which informs the recommended temperature and shelf life of the foods.
- Eggs should be stored in the egg holder.
Meats / Fish / Poultry
- Place on a plate or a dish and cover with paper or plastic wrap.
- For larger cuts of meat, fish, or poultry, place to the rear of the shelves.
- Ensure all cooked food is wrapped securely or placed in an airtight container.
*Notes for fresh food
- Fresh food (securely wrapped) should be stored in limited time to prevent spoilage and badly affecting other stored foods.
Advice for preventing dew or frost inside the refrigerator
- Keep the door securely closed. If the food falls down, it may cause a gap between the cabinet and the door. Move it back to the shelf or the pocket.
- Open and close the door quickly as much as possible. Dew or frost may appear if the door is left open for a long period of time or opening and closing of the door is very often.
- Stored items should be packed or sealed with such as food containers or plastic wraps. (Especially food with high-moisture)
Advice for storing food
- Evenly place the food on the shelves to allow the cooling air to circulate efficiently.
- Opening the door for long periods can cause a signifi cant increase of the temperature in the compartments of the appliance.
- Hot food should be cooled before storing. Storing hot food increases the temperature in the unit and the risk of food spoilage.
- Do not block the outlet and inlet of the cool air circulating circuit with food or containers; otherwise the food is not be evenly cooled throughout the refrigerator.
- Do not place food directly in front of cold air outlet. This may lead to the food freezing.

Tips for saving energy
- Install the refrigerator in a well-ventilated area and keep the space to ventilate.
- Keep your refrigerator out of direct sunlight and do not place it next to heat generating appliance.
- Avoid opening the door as much as possible.
- Hot food should be cooled before storing.
- Place the food evenly on the shelves to allow the cool air to circulate efficiently.
Care and cleaning
Important
Follow the tips below to prevent cracks on the inner surfaces and plastic components
- Wipe out food oil adhered to plastic parts.
- Some household chemicals may cause damage, so use only diluted washing-up liquid (soapy water).
- If undiluted detergent is used or soapy water is not wiped off thoroughly, it may result in cracks of plastic parts.
Cleaning
For hygienic reasons, make sure to do following things regularly.
- Remove the accessories (e.g. shelves) from the cabinet and the door. Wash them by warm soapy dishwashing water. After that, rinse them in clean water and dry.
- Clean the inside with a cloth soaked in warm soapy dishwashing water. Then, use cold water to wipe off soapy water thoroughly.
- Wipe the exterior with a soft cloth each time it gets dirty.
- Clean the magnetic door seal with a toothbrush and warm soapy dishwashing water.
- Wipe the control panel with a dry cloth. <SJ-FX52TP, SJ-FX57TP>
Note
- After cleaning, make sure to put the shelves and the cases on original position.
- Do not use heavy-duty cleansers or solvents (lacquer, paint, polishing powder, benzine, boiled water, etc.) which may cause damages.
- If you pull out the power plug once, wait 5 minutes at least before connecting the power plug again.
- The glass shelves are heavy to carry. Hold them fi rmly when you remove the shelves from the cabinet.
- Do not drop objects inside the refrigerator or strike the inner wall. This may cause cracks to inner surface.
Before transporting
Wipe up water in the evaporating pan. Before wiping up the water, wait more than 1 hour after pulling out the plug because refrigeration cycle equipment is extremely hot. (The evaporating pan is located on the rear of the product.)
Defrosting of the cooling unit
Defrosting is automatically operated by a unique energy saving system. (Approx. once a day.) Ice making takes time because the temperature inside becomes slightly higher than usual during the defrosting.
When the compartment light is blown
Contact the service agent approved by SHARP to replace the light. The light is not to be replaced other than by qualified service personnel.
Switching off your refrigerator
If the refrigerator needs to be switched off for an extended period, the following steps should be taken to reduce the growth of mold
- Remove all food.
- Remove the power plug from the socket.
- Clean and dry the interior thoroughly.
- Keep all the doors open slightly for a few days to dry.
Before you call for service
Before calling for service, check the following points.
| Problem | Solution | |
| The refrigerator does not cool at all and the icons light up in order. | SJ-FX52GP SJ-FX57GP | The refrigerator is set at “storefront display mode”. Follow the steps 1 to 2 to cancel this mode. Beep beep beep 1 Open the refrigerator door. 2 Touch 5 seconds or more. |
| The refrigerator does not cool at all and the indicator is flashing in order. | SJ-FX52TP SJ-FX57TP | The refrigerator is set at “storefront display mode”. Follow the steps 1 to 2 to cancel this mode. Beep beep beep 1 Open the refrigerator door. 2 Press Extra cool button 5 seconds or more. |
| The outside of the cabinet is hot when touched. | It is normal. This is because of the hot pipe in the cabinet in order to prevent dew generation. | |
| The area around the door handle of the refrigerator is hot when touched. | It is normal. The heater to prevent dew generation is inside the door. | |
| Refrigerator makes loud noise. | Following sounds are normal. • The compressor makes loud noise when its operation starts. — Sound becomes quieter after a while. • The compressor makes loud noise once a day. — Operating sound is made immediately after automatic defrost operation of the cooling unit. • Sound of flowing fluid (gurgling sound, fizzing sound) — It is caused by refrigerant flowing in pipes (sound may become louder from time to time). • Cracking or crunching sound, squeaking sound — It is caused by expansion and contraction of inner walls and internal parts during cooling. | |
| Frost or dew appears inside or outside the refrigerator. (Use a wet cloth for wiping frost and a dry cloth for wiping dew.) | This may occur in one of the following cases. • When the ambient humidity is high. • When the door is frequently opened and closed. • When food containing plenty of moisture are stored. (Wrapping is required.) • This phenomenon will appear more or less depending on the season (rainy season, season), habits of usage and environmental conditions of each house. Frost is easily appeared if the temperature of freezer compartment is too low. (Especially, when “Deep freezing” is operating.) — Change the temperature control to the other setting. | |
| Dew appears inside of Fruit and vegetable crisper. | When dew appears inside, adjust the sliders to “Open” position. If dew doesn’t dry up, wipe up it with a dry cloth. | |
| The food in the refrigerator compartment are frozen. | SJ-FX52GP SJ-FX57GP | • Is the refrigerator operated for a long time with refrigerator temperature control set at 0°C? — Change the temperature control back to around 3°C. • Is the refrigerator operated for a long time with freezer temperature control set at -21°C? — Change the temperature control back to around -18°C. • If ambient temperature is low, foods may freeze even if the refrigerator compartment is set at 6°C. |
| SJ-FX52TP SJ-FX57TP | • Is the refrigerator operated for a long time with refrigerator temperature control set colder than usual? — Change the temperature control to the other setting. • Is the refrigerator operated for a long time with freezer temperature control set colder than usual? — Change the temperature control to the other setting. • If ambient temperature is low, food may freeze even if the refrigerator compartment is set higher than usual. | |
| Problem | Solution |
| Odors in the compartment. | • Wrapping is required for the food with strong odors. • Deodorizing unit cannot remove all odors. • Clean the inside periodically. |
| The control panel does not work. (Only for SJ-FX52GP, SJ-FX57GP) | This may occur in one of the following cases. • The panel or your finger is soiled with dripping, oil and etc. • When you touch the panel with gloved hand, adhesive bandage on your finger,nail or objects. • Sticker or tape is affixed on the keys. • Touch position is slightly off from the keys. • Operate time is not enough for the keys to work. |
| Some lines are on the surface of the plastic parts. | • These are not defects during production. The meeting part of the resin material or Line the junction part of the metallic mold are remained like lines. |
| Door alarm does not stop. (Only for SJ-FX52TP, SJ-FX57TP) | If the door alarm does not stop after closing all doors, it is a defect. Contact the SHARP service center for service. Method of stopping the door alarm temporarily Beep beep beep Press “Refrigerator compartment” button and “Freezer compartment” button simultaneously and continuously for 3 seconds or more. • The door alarm will sound again after approximately 2 days. |
If you still require service
Refer to your nearest service agent approved by SHARP.







Press “Express key. or freezing” button.



























