
CARA MET
User manual
V20210308
IMPORTANT SAFETY INSTRUCTIONS
The CARA MET Slab bears sharp pins which, if not handled with care, could result in serious injury. When handling the product, take the appropriate measures for handling objects with sharp elements at all times.
LIMITED WARRANTY SUMMARY
SenseNL B.V. warrants the included product against defect in materials and workmanship for a period of twenty-four (24) months from the date of original order confirmation. SenseNL B.V. does not warrant against normal wear and tear, nor damages caused by or attributable to a) faulty installation and operation, b) misuse or abuse, c) accidents, dropping, or pressuring. See for full terms and detailed information concerning this warranty and submitting a valid Claim at www.sensenl.com/termsandconditions, and more specific, art. 5 and 6 of the General Terms and Conditions of SenseNL B.V.
Notice
USER INFORMATION
Those responsible for the application and use of this product must satisfy themselves that all necessary steps have been taken to assure that application and use meet all performance and safety requirements, including any applicable laws, regulations, codes, and standards.
Throughout this user manual pictograms are used to draw your attention to important safety, installation, program, or usage requirements.
The illustrations, charts, and examples shown in this manual are intended solely for demonstrative purposes, SenseNL B.V. or associated partners are not liable for any misuse, injury, damage occasioned by the application of the content of this manual.
Since there are many variables and requirements associated with any particular installation, SenseNL B.V. does not assume responsibility or liability based upon the examples shown in this publication.
Always use appropriate safety equipment preconized by your local regulations when installing and manipulating this product and its annexed delivered products.
Pictograms and meaning of these ones which are used throughout this manual are as shown hereunder:
![]() | Please pay attention |
![]() | Burn hazard |
![]() | Explosion hazard |
![]() | Sharp elements hazard |
![]() | Fall hazard |
![]() | Electrical hazard |
![]() | Recycling and disposing of in a responsible way |
CARA MET KIT
The following table shows the content of your new CARA MET kit.
DESIGNATION | QUANTITY | DESCRIPTION | PICTURE |
| User manual | 1 | This manual | ![]() |
| CARA MET Slab | 10/5 | Sensor for measuring Moisture Content (MC) Electrical conductivity (EC) and Temperature (T) in Substrate | ![]() |
| CARA MET fixer | 10/5 | Special for the CARA MET Slab designed element for a correct fixation in the substrate. | ![]() |
| Base station | 1 | Equipment that coordinates the communication between the sensor and the cloud. | ![]() |
| Power supply | 1 | The device supplies power to the base station | ![]() |
| Ethernet cable 5m | 1 | Cable for connecting the base station to your Local Network (LAN) | ![]() |
| Mounting ties | 1 | Element for fixing of the base station | ![]() |
SPECIFICATION
2.1 SENSOR
| CRITERIA | SPECIFICATION |
| Type: | MC, EC, and T in the slab |
| Standard measurement interval: | 5 min. |
| Communication type: | Wireless, License Free ISM band |
| Range: | 50-meter radius from the base station in the fully developed crop. (following installation instructions) |
| Configuration: | 5 Pins measurement |
| Power: | 3x AAA alkaline batteries |
| Substrate calibration type: | High-density stone wool 40 – 60 kg/m3 |
| Protection | IP 65 or equivalent |
RANGE AND ACCURACY
| TYPE | RANGE | ACCURACY | RESOLUTION |
| EC | 0-7/7-12 mS/cm | +-0.3/0.7 mS/cm | 0.1mS/cm |
| MC | 0-100% | -0.05 | 0.10% |
| T | 0-50 !C | +-1 !C | 0.1 !C |
Dimensions (mm)

2.2 BASE STATION
| CRITERIA | SPECIFICATION |
| Type: | Base station |
| Power: | Input: 127-240V (50/60Hz) Output: 5V/2A |
| Connectivity: | 4G or Ethernet |
| Antennas: | 4G and ISM |
| Protection: | IP 54 |
Dimensions (mm)

INSTALLATION
3.1 BASE STATION
Please read all the instructions carefully. Follow the steps exactly as described below by first installing the base station and then the sensors.
STEP 1 – Choose your internet connection method: 4G or Ethernet cable

STEP 2 – Secure your base station on the highest possible point (e.g.: a beam of the greenhouse, this will permit better communication ranges).

STEP 3 – Connect the white antenna to the ANT connector, the antenna should point towards the crops.

STEP 4a – When using an internet cable, plug the base station’s ethernet cable into the IN connector.

STEP 4b – If you prefer a 4G connection, just make sure that there is a good 4G coverage in your place. If not, SenseNL advises the ethernet connection for better working of the system.

STEP 5a – Connect to the router in your local network.

STEP 5b – For a 4G connection, install the black antenna as high as possible, preferably above any screening. It has a magnetic bottom that can easily be fixed to a metal beam.

STEP 6 – Plug in the base station’s power supply.

3.2 SENSOR
WARNING: following steps involve sharp elements which, if not handled with care, could result in serious injury. Take the appropriate measures for handling objects with harp elements at all times.
STEP 1 – Walk to the area where the sensors will be used (max. 50 meters (164 feet) radius from the base station).
STEP 2 – Dismount battery cover. (see changing batteries)

STEP 3 – Insert/change batteries.
When Inserting or changing the batteries, the LED on the back of the sensor should follow the sequence below.

LED FLASHING SEQUENCE
On start-up
1 – Flash RED four times: Indicating microcontroller boot.
2 – Steady RED four seconds: Indicating sensor startup.
Then, either:
3a – Flash GREEN three times: Indicating successful connection with the base station.
3b – Flash fast RED: Indicating connecting or connection problems, please refer to “troubleshooting”
4 – Mount battery cover (tighten the battery cover sufficiently to limit possible leaks and damage of the sensor).
CAUTION: Risk of explosion if batteries are not inserted correctly or replaced by an incorrect type.
3.3 INSERTING THE SENSOR IN THE SLAB
STEP 1 – Position fixer firmly against the slab.

STEP 2 – Insert fixer in the slab

STEP 3 – Select the height of the position.
Top holes for 75mm slabs, bottom probes for 100mm height slabs.

STEP 4 – Firmly insert the sensor in the slab until hearing 2 clicks. These will mechanically lock the sensor in its position.

The sensor MUST click in the fixer, otherwise, it will not measure correctly.
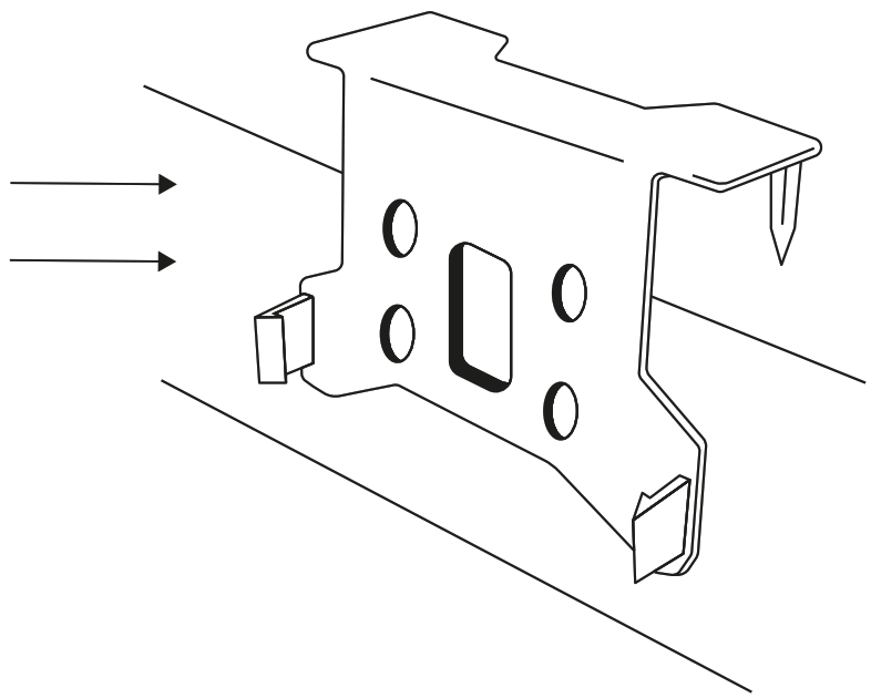
POSITION IN THE SLAB
4.1 REGULAR INSTALLATION
In order to have a representative and consistent measurement between sensors, the recommended distance between the side of the block and sensor is 10 cm (4”).
Distance “C” represents the ideal distance between the side of the block and the center of the sensor.


Always position the sensor at the wettest area. In the figure on the right, the sensor would measure a lower MC and wrong EC measurements.

CLEANING THE SENSOR
Hygiene is of utmost importance in greenhouses. Therefore, it is very important to keep a good cleaning strategy for the sensors.
The design of the CARA MET sensors was optimized to ease cleanability and reduce the possibility of water stagnation within it. Thanks to its materials, many cleaning agents can be used.
HEREUNDER IS A LIST OF CLEANING AGENTS WHICH CAN BE USED TO CLEAN THE SENSOR:
– Hydrogen Peroxide
– Ammonia
– Aluminum, Chloride
– Diluted Ethanol (e.g. Enno Rapid)
– Dish soap
The use of an unspecified cleaning agent can damage the sensor and therefore not advisable.
CLEANING PROCESS:
STEP 1 – Clean the sensor using a mild detergent such as liquid dish soap and a clean and non-abrasive sponge or cloth.
STEP 2 – Use one of the cleaning agents mentioned above and clean the casing as well as the probes using a clean and non-abrasive sponge or textile. The cleaning agent can also be sprayed on the sensor for a better result.
STEP 3 – Thoroughly rinse the sensor including every opening or gap noticed (the sensor can be submerged in water).
STEP 4 – Gently rinse with clean water or apply mid-temperature steam to the sensor to finish the cleaning process.
FCC and IC statement
| Product Name | CARA MET Slab |
| Applicant | SenseNL B.V. |
| FCC ID | 2AWXW-MSSLL01 |
| IC ID | 26309-MSSL01 |
| Item | Description |
| Radio | NiceRF LORA1276-C1 module |
| Radio transmission | Radio transmission FHSS (Frequency-hopping spread spectrum) |
| Number of channels | 8 out of 64. One subband per gateway. Default to FSB2. |
| Lora TM | 1 903.9 MHz 5 904.7 MHz 8 905.3 MHz |
| Tx Frequency | Lora: 903.9 — 905.3 MHz |
| Rx Frequency | Lora: 903.9 — 905.3 MHz |
| Antenna | Antenna plane 0 dBd |
| Type of modulation | CSS |
FCC Statement
This device complies with Part 15 of the FCC Rules. Operation is subject to the following two conditions:
1. This device may not cause harmful interference; and
2. This device must accept any interference received, including interference that may cause undesired operation.
This equipment has been tested and found to comply with the limits for a Class B digital device, pursuant to Part 15 of the FCC Rules. These limits are designed to provide reasonable protection against harmful interference in a residential installation. This equipment generates uses and can radiate radio frequency energy and, if not installed and used in accordance with the instructions, may cause harmful interference to radio communications. However, there is no guarantee that interference will not occur in a particular installation. If this equipment does cause harmful interference to radio or television reception, which can be determined by turning the equipment off and on, the user is encouraged to try to correct the interference by one or more of the following measures:
FCC and IC Regulatory Statement
- Reorient or relocate the receiving antenna.
- Increase the separation between the equipment and receiver.
- Connect the equipment into an outlet on a circuit different from that to which the receiver is connected.
- Consult the dealer or an experienced radio/TV technician for help.
- Reorient or relocate the receiving antenna.
- Increase the separation between the equipment and receiver.
- Connect the equipment into an outlet on a circuit different from that to which the receiver is connected.
- Consult the dealer or an experienced radio/TV technician for help.
Warning: Changes or modifications not expressly approved by SenseNL could void the user’s authority to operate the equipment. This portable transmitter with its antenna complies with FCC/IC RF exposure limits for general population / uncontrolled exposure.
Industry Canada Statement
This device complies with ISED’s license-exempt RSS. Operation is subject to the following two conditions:
1. This device may not cause harmful interference, and
2. this device must accept any interference received, including interference that may cause undesired operation.
Under Industry Canada regulations, this radio transmitter may only operate using an antenna of a type and maximum (or lesser) gain approved for the transmitter by Industry Canada. To reduce potential radio interference to other users, the antenna type and its gain should be chosen so that the equivalent isotropically radiated power (e.i.r.p.) is not more than that necessary for successful communication.
FCC and IC Regulatory Statement
































