GRUNDIG 834480 Built In Hob
User Manual

Dear Customer,
Please read this manual before using the product.
Thank you for choosing this Grundig product. We want your product, manufactured with high quality and technology, to offer you the best efficiency. To do this, carefully read this manual and any other documentation provided before using the product and keep it as a reference. Include this guide with the product if you hand it over to some-one else. Follow the instructions, taking into account all the information and warnings stated in the user manual. Heed all information and warnings in the user manual. This way, you will protect your-self and your product against the dangers that may occur. Keep the user manual. If you give the product to someone else, give the manual with it. The user manual contains the following symbols:
Hazard that may result in death or injury.
NOTICE Hazard that may result in material damage to the product or its environment.
Hazard that may result in burns due to contact with hot surfaces.
Important information or useful usage tips.
Read the user manual.
Arcelia A.. Karaka caddies No:2-6 34445
TURKEY Made in TURKEY
Safety instructions
- This section includes the safety instructions necessary to prevent the risk of personal injury or material damage.
- If the product is handed over to someone else for personal use or second-hand use pur-poses, the user manual, product labels and other rele-vant documents and parts should be also given.
- Our company shall not be held responsible for damages that may occur if these in-structions are not observed.
- Failure to follow these instructions shall void any warranty.
Always have the installation and repair works made by the manufacturer, the authorised service or a per-son that the importer com-pany shall designate.
Use original spare parts and accessories only.
Do not repair or replace any component of the prod-act unless ft is clearly specified in the user manual.
Do not modify the product.
Intended Use
- This product is designed for home use. It is not suitable for commercial use.
- Do not use the product in gardens, balconies or other outdoor environments. This product is intended to be used in households and in the staff kitchens of shops, office and other working environments.
- WARNING: This product should be used for cooking purposes only. It should not be used for different purposes, such as heating the room.
Child, vulnerable person and pet safety
- This product can be used by children 8 years of age and older, and people who are underdeveloped in physical, sensory or mental skills, or lack of experience and knowledge, as long as they are supervised or trained about the safe use and hazards of the product.
- Children should not play with the product. Cleaning and user maintenance should not be performed by children unless there is someone overseeing them.
- This product should not be used by people with limited physical, sensory or mental capacity (including children), unless they are kept under supervision or receive the necessary instructions.
- Children should be super-vised to ensure that they do not play with the product.
- Electrical products are dangerous for children and pets. Children and pets must not play with, climb on, or enter the product.
- Do not put objects that children may reach on the product.
- Turn the handle of the pots and pans to the side of the counter so that children can-not grab and burn.
- WARNING: During use, the accessible surfaces of the product are hot. Keep children away from the product.
- Keep the packaging materials out of the reach of children. There is a hazard of injury and suffocation.
Electrical safety
- Plug the product into a grounded outlet protected by a fuse that matches the cur-rent ratings indicated on the type label. Have the ground-ing installation made by a qualified electrician. Do not use the product without grounding in accordance with local/national regulations.
- The plug or the electrical connection of the product should be in an easily accessible place (where it will not be affected by the flame of the hob). If this is not possible, there should be a mechanism (fuse, switch, key switch, etc.) on the electrical installation to which the product is connected, in compliance with the electrical regulations and separating all poles from the network.
- The product must not be plugged into the outlet during installation, repair, and transportation.
- Plug the product into an out-let that meets the voltage and frequency values specified on the type label.
- Do not jam the power cord under and behind ale product. Do not put a heavy object on the power cord. The power cord should not be bent, crushed, and come into contact with any heat source.
- Use original cable only. Do not use cut or damaged cables or intermediate cables.
- If the power cord is damaged, it must be replaced by a manufacturer, an authorized service or a person to be specified by the importer company in order to prevent possible dangers.
Transportation safety
- Disconnect the product from the mains before transporting the product.
- When you need to transport the product, wrap it with bubble wrap packaging material or thick cardboard and tape it tightly. Secure the product tightly with tape to prevent the removable or moving parts of the product and the product from dam-age.
- Check the overall appearance of the product for any damage that may have occurred during tram is reportorial.
Installation safety
- Before the product is in-stalled, check the product for any damage. If the product is damaged, do not install it.
- Do not install the product near heat sources (radiators, hobs, etc.).
- Keep all ventilation ducts open around the product. A Safety of use
- Ensure that the product function knobs are switched off after every use.
- If you do not use the product for a long time, unplug it or turn off the fuse from the fuse box.
- Do not operate defective or damaged product. If any, disconnect the electricity / gas connections of the product and call the authorized service.
- WARNING: If the oven sur-face is cracked, disconnect the product from the mains to avoid the risk of electric shock.
- Do not climb on the product to reach anything or for any other reason.
- Never use the product when your judgement or coordination is impaired by the use of alcohol and/or drugs.
- Flammable objects kept in the cooking area may catch fire. Never store flammable objects in the cooking area.
- Cast iron, aluminum or cookware with damaged /rough bottom parts may lead to scratching the glass sur-face. When replacing cook-ware, always raise the containers, do not slide on the surface.
- Vapor pressure from the oven surface and moisture can cause the pot to slide or hop. For this reason, make sure that the bottom of the pot and the hob surface are al-ways dry.
- This product is not suitable for use with a remote control or an external clock.
- Do not operate the appliance without an oil entrapment fil-ter. Do not remove the filters while the appliance is operating. For safety purposes, magnetic switch is used in oil filter and liquid protection plastic parts. The product will not work without the assembly of these parts.
- Do not leave your hob unattended while cooking fried foods, oils may catch fire while cooking, and hot oil may cause fire. Therefore keep a safe distance be-tween the appliance and curtains, blankets, etc.
- If cleaning is not performed in a timely manner, the hood may present a risk of fire.
- Adequate ventilation must be available in the room when gas or other fuel-burning appliances are used at the same time as an oven hood with a hob. (not applicable for appliances that discharge air back into the room).
- Gas or fuel oil burning appliances, such as room heaters, which share the same environment with ventilation, must be fully insulated from the exhaust of this product or they must be hermetical.
- If there is another appliance operating with fuel oil or gaseous fuels in the environment, adequate ventilation of the environment is required.
- If there is another appliance operating with energy other than electrical energy in the same environment with ventilation, the negative pressure in the room should be at most 0.04 mbar so that the exhaust of the other appliance is not drawn back into the room by the ventilation.
- Do not connect to flues with heating hob connection, flues where waste gas is disposed from or flues with rising flames. Comply with local regulations on purging the outflow.
- Our company shall not be responsible for problems that arise for not observing any of the warnings above.
- There is a risk of fire if clean-ing is not carried out in accordance with the instructions.
- It is recommended to clean the filter once per month un-der normal usage.
- The appliance temperature may be high. Do not store flammable objects or spray
cans in drawers directly un-der the hob.
Temperature warnings
- WARNING: The appliance and its accessible parts be-come hot during use. Care should be taken to avoid touching heating elements. Children under the age of 8 should not be brought close to the product without an adult.
- Do not place flammable/ex-plosive materials near the product, as the edges will be hot while it is operating.
- WARNING: Fire hazard: Do not put any materials on the hob for storing.
Accessory use
- WARNING: Use only a oven safekeeping case designed by the manufacturer of the product or manufactured to standards specified by the manufacturer. Improper oven safekeeping case may cause accidents.
- Cooking safety
- WARNING: The cooking process must be observed. Short-term cooking processes must be constantly observed.
- WARNING: In solid or liquid oil cooking, it is dangerous to leave the hob unattended, which may cause a fire. NEVER try to extinguish the fire with water; Disconnect the product from the mains, and then cover the flames with a cover or fire cover (etc.).
- Be careful when using alco-holic drinks in your dishes. Alcohol evaporates at high temperatures and may cause fire since it can ignite when it comes into contact with hot surfaces.
Ventilation safety
- Poisoning Danger! While the appliance is operating, air is drawn from the whole house. If adequate ventilation is not provided, air flow occurs and the waste and toxic gases re-leased as a result of combustion in the house are reabsorbed. Do not operate the product together with prod-ucts that provide air circula-tion and may emit toxic gas (wood, gas, oil and coal hobs, boilers, water heaters, etc.).
- Have the adequacy of your building’s ventilation and chimney system checked by authorized persons.
Induction
- The electrically operated hot-plates of your oven are equipped with advanced “In-duction” technology. On the induction hob zones, which save time and energy, cook-ware suitable for induction cooking must be used; otherwise the hob zone will not work. For detailed information, see the section “Pot selection”. ,
- Since the induction hob creates a magnetic field, it can have harmful effects for people who use devices such as pacemakers or insulin pumps.
- Close the hotplate from its control panel after use, do not rely on the pot sensor.
- Metal objects such as knives, forks, spoons and lids should not be placed in the hotplate as they will get hot.
- Metal items stored in drawers under the oven may become very hot during long and in-tensive use. Do not store metal objects in drawers un-der the oven.
- Do not place electronic products such as mobile phones, tablets, computers on the in-duction hob. Your appliance may be damaged.
Maintenance and cleaning safety
- Wait for the product to cool before cleaning the product. Hot surfaces may cause burns!
- Never wash the appliance by spraying or pouring water on it! There is a risk of electric shock!
- Do not use steam cleaners to clean the appliance as this may cause an electric shock.
- Salt, sugar residues on the bottom of the cookware or such particles on the glass surface can cause the glass to scratch and crack. Make sure that the bottom is clean before placing the cookware. Keep the glass ceramic sur-face clean.
- While the oil filter is being re-moved from the product, condensation-induced liquid collection may occur at the bottom. While removing the filter for cleaning after cooking, it is important for ease of cleaning that this liquid is taken without spilling into the appliance.
Environmental Instructions
Waste regulation Compliance with the WEEE Directive and Disposing of the Waste Product
This product complies with EU WEEE Directive (2012/19/EU). This product bears a classification symbol for waste electrical and electronic equipment (WEEE).
This product has been manufactured with high quality parts and materials which can be reused and are suitable for recycling. Therefore, do not dispose of the waste product with normal domestic and other wastes at the end of its ser-vice life. Take it to a collection point for the recycling of electrical and electronic equipment. Please consult your local authorities to learn the nearest collection point. Disposing the appliance properly helps prevent negative consequences for the environment and human health. Compliance with RoHS Directive: The product you have purchased com-plies with EU RoHS Directive (2011/65/EU). It does not contain harm-ful and prohibited materials specified in the Directive.
Package information
- Packaging materials of the product are manufactured from recyclable ma-
terials in accordance with our National Environment Regulations. Do not dis-pose the packaging waste with the household or other wastes, take them to the packaging material collection points designated by the local authorities.
Recommendations for energy saving
Information on energy efficiency accord-ing to EU 66/2014 can be found on the product fiche given with the product. The following suggestions will help you use your product in an ecological and energy-efficient way:
- Defrost frozen food before cooking.
- Turn off the product 5 to 10 minutes before the end time of cooking for prolonged cooking. Now you can save up to 20% electricity by using heat.
- Use pots/pans with a size and lid suitable for the hotplate. Always choose the right size pot for your meals. More than necessary energy is needed for containers of the wrong size.
- Keep oven cooking areas and pot bases clean. Dirt reduces the heat transfer between the cooking area and the pot base.
Your Product
Product introduction

- Glass cooking surface
- Induction hob zone
- Lower housing
- Ventilation assembly
- Bottom cover
- Overflow liquid collection chamber
- Induction hob zone
- Carbon Filter
- Oil Filter
Product control panel introduction and usage
In this section, you can find the overview and basic uses of the product’s control panel. There may be differences in images and some features depending on the type of product.
Hob control
Keys and symbols:
_:The light indicating that the relevant key is operated
:On/off button
:Key lock button
: Hob with wide surface com-bination key
:Quick Heating button/High power setting (Booster) button
: Cleaning lock key
+:Timer key : Timer increase key
–:Timer decrease key
*This varies depending on the prod-uct model. It may not be available on your product.

The hob zone display
- Temperature – flow rate level indicator of the relevant hob
- Temperature – flow rate level setting zone
- Quick Heating button/High power setting (Booster) button

Timer screen
- Timer indicator
- Timer decrease button
- Timer button
- Timer increase button
- Timer symbol
- Timer activity LED of the relevant hob

Ventilation display
- Ventilation level indicator
- Ventilation level setting field
- Booster key
- Ventilation automatic mod key
General information on the hob
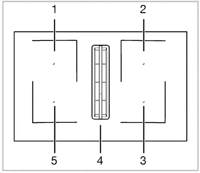
Rear left – Induction hob zone- Rear right – Induction hob zone
- Front right – Induction hob zone
- Mid – Ventilation
- Front left – Induction hob zone
Your hob is equipped with hob cooking surfaces with wide surfaces (Flexi sur-faces). You may operate this cooking surface as individual hobs independent from each other. You may activate the combination function for these hobs and transform them to a single cooking sur-face for cooking operations with your large cooking pots. Using proper pots for these hobs and the combination function are described in the “Hob op-eration” section.
| General specifications | |
| Extemal dimensions of the product (height / width / depth) | 223,5 mm*/820 mm/520 mm |
| Hob installation dimensions (width / depth) | 740 (+2)mm /490 (+2)mm |
| Voltage / frequency | 1N 220-240 / 2N 380-415V – 50/60 Hz |
| Cable type and section used/suitable for use in the product | min. HO5V2V2-F 4 x 2,5 mm2 |
| Total sower consumstion Hobs Rear left | maks. 7.4 kW Induction hob zone |
| Dimension | 180×210 mm |
| Power | 2200 W / Booster: 3100 W |
| Front left | Induction hob zone |
| Dimension | 180×210 mm |
| Power | 2200 W / Booster: 3100 W |
| Front right | Induction hob zone |
| Dimension | 180×210 mm |
| Power | 2200 W / Booster: 3100 W |
| Rear right | Induction hob zone |
| Dimension | 180×210 mm |
| Power Ventilation features Control | 2200 W / Booster: 3100 W 3 levels + 1 Booster |
| Suction Power | 630 m3/h |
| The hob height specified in the t- is nical table is the lower casing height of the product. | |
Technical specifications may be changed without prior notice to improve the quality of the product.
Figures in this manual are schematic and may not exactly match your product.
Values stated on the product labels or in the documentation accompanying it are obtained in laboratory conditions in accordance with relevant standards. Depending on operational and environmental conditions of the product, these values may vary.
Initial use
Before you start using your product, it is recommended to do the following in the following sections.
Initial cleaning
- Remove all packaging materials.
- Wipe the surfaces of the product with a wet cloth or sponge and dry with a cloth.
NOTICE Some detergents or cleaning agents may damage the surface. Do not use abrasive deter-gents, cleaning powders, cleaning creams or sharp objects during cleaning.
NOTICE During the first use, smoke and odour may come up for several hours. This is normal and you just need good ventilation to remove it. Avoid directly inhaling the smoke and odours that form.
Using the hob
General information on hob usage
General warnings
- Do not let any objects to fall on the oven. Even small objects such as saltshakers may damage the oven. Do not use cracked ovens. Water may seep through these cracks and cause a short circuit. If the surface is damaged in any way (for example, visible cracks), to reduce the risk of electric shock, first turn off the fuse, then unplug the appliance and call the authorized service.
- Do not use unbalanced and easily tilting vessels on the hob.
- Do not heat the vessels and pots empty. The pots and the appliance may be damaged.
- Always turn off the hob’s burners after each use.
- You shall damage the appliance if you operate the hobs without any pot or vessel. Always turn off the hobs after each operation.
- The cooking surface will be hot after each use, so do not put plastic pots/pans on the cooking surface. Clean such material on the surface immediately.
- Put a sufficient amount of food in pots and pans. Thus, you can prevent food from pouring forth out of the vessel and will not need to clean unnecessarily.
- Do not place the covers of pots and pans on burners.
- Align the burners with the centre of pots. If you wish to place a pot on a different burner, do not slide it towards the desired burner; rather, lift it first and then put it on the other burner.
Operating principle of the induction hob
Induction hob is like an open circuit. The circuit completes when a cooking vessel suitable for induction cooking is placed on it and an electronic system right below the glass surface generates a magnetic field. The metal base of the vessel is heated by taking energy from this magnetic field. Thus, the heat is not generated on the surface of the hob, but directly on the vessel above it. Glass surface is heated with the heat of the cooking vessel.
Advantages of cooking with induction
Induction hobs offer some advantages as the heat is transferred directly to the cooking vessel.
- Foods that overflow during cooking do not burn rapidly as the glass cooking surface is not heated directly. It is cleaned more easily.
- Cooking shall be faster as the heat is generated directly on the cooking vessel. Thus, it saves time and energy with respect to other hob types.
- As the heat is given directly to the cooking vessel, there is no heat loss, and it provides a more efficient cooking.
- The fact that the heat transfer stops and the cooking surface is not heated directly when the cooking vessel is removed from the cooking surface provides a safer use against possible accidents while cooking.
For a safe operation:
- Do not select high heating levels when using non-sticking cooking vessels coated with little amount of oil or used without oil (Teflon type).
- Do not use glass cooking surface as a surface where you can place some-thing on it or as a cutting surface.
- Do not place metal objects such as cutlery or pot lids on your hob as they may get hot.
- Never use aluminium foil for cooking. Never place food wrapped in aluminium foil on the induction hotplate.
- Keep magnetic objects such as credit cards or tapes away from the hob while it is operating.
- If there is an oven under your hob and it is being operated, the sensors on the hob may reduce the cooking level or turn off the hob.
- Your hob has an automatic shut-off system. Detailed information about this system is provided in the following sections. However, if you use thin based pots for your cooking, these pots shall heat up very quickly and the bottom of the pan may melt and dam-age the cooking surface and the appliance before the automatic shut-off system is activated.
Cooking vessels
You shall use ferromagnetic, quality cooking vessels which bear a label or warning that it is compatible for induction cooking onty with your induction hob. Generally, the higher the iron con-tent, the better the cooking vessel shall perform. The bottom diameter of the cookware should match the induction zone. Suggested dimensions are listed below.
Suitable vessels:
- Cast iron vessels
- Enamelled steel vessels
- Steel and stainless steel vessels (with label or warning indicating that it is in-duction compatible)
Unsuitable vessels:
- Aluminium vessels
- Copper vessels
- Brass vessels
- Glass vessels
- Pottery
- Ceramic and porcelain
Recommendations:
- Use flat bottomed cooking vessels only. Do not use vessels with convex or concave bases.

- Use cooking vessels with thick, processed bases only. If you use thin based pots, these pots shall heat up very quickly and the bottom of the pan may melt and damage the cooking surface and the appliance before the automatic shut-off system is activated. Sharp edges may cause scratches on the surface.

- The bases of some cooking vessels have a smaller ferromagnetic field than its true diameter. Only this area is heated by the hob zone. Therefore, the heat is not evenly distributed and the cooking performance is decreased. Moreover, such cooking vessels may not be detected by large induction hobs. Thus, the cooking hob shall be selected according to the size of the ferromagnetic field.

- Some cooking vessels have a base that contains non-ferromagnetic materials such as aluminium. These types of cooking vessels may not heat adequately or may not be detected by the induction hob zone at all. In some cases, a bad pot warning may appear.

Cooking vessel test
Test whether your pot is compatible with cooking with an induction hob using the methods below.
- It is compatible if the base of your pot holds a magnet.
- When you place your pot on the hob if
are not flashing, then it is suitable.
Recommended cooking vessel sizes
| Hob zone size-mm | Pan diameter – mm |
| 210 x 190 | min. 700 – max 210 |
| Cooking zone with wide (flexi) surface | Width 210 – length 380 |
The detection of cooking vessels by the induction hobs depend on the diameter and material of the ferromagnetic in the base of the vessel. To ensure detection of the cooking vessel and achieve an efficient cooking, the cooking vessel shall be selected as per the size of your hob zone. The cooking vessel sizes recommended for hob zone sizes are given above.
Boiling manner may vary depending on the type of pot, the size of the pot and the size of the cooking zone. For a more homogeneous boiling manner, a one
step larger cooking zone can be used.
Using a larger cooking zone does not waste energy on induction hobs, because heat is only created in the respective pan area.
Automatic detection of the cooking vessel
When you place any cooking vessel compatible with induction on your hob, your hob automatically detects which hob the cooking vessel is placed on and provides directions on the control panel.
Cooking zone with wide surface (flexi)
Your hob is equipped with hob cooking
surfaces with wide surfaces (Flexi surfaces). You may operate this cooking surface as individual hobs independent from each other for your smaller cooking vessels. You may activate the combination function for these hobs and transform them to a single cooking surface for cooking operations with your large cooking pots.
As tow independent hob zone
Hobs with wide surface have two cooking zones, as front and rear.
You may use these zones as two independent hob zones for different temperature levels with two different cooking vessels.
Place the cooking vessels by centering the separate cooking zones. 
For cooking operation with a single cooking vessel, place it in the centre of the front or rear cooking Zone. Do not place the cooking vessel at the centre of the cooking zone.
As a single hob zone
For cooking operations on large cooking vessels, place the vessel so that it covers the centres of both cooking zones and that it is centred on the cooking zone.
General information about cooking
You can find tips on preparing and cooking your food in this section.
General warnings about cooking on the hob
- Never fill the pan with more than a third of oil. Do not leave while heating the oil. Excessively heated oil is a fire hazard. Never try to extinguish a possible fire with water! When the oil catches fire, cover it with a fire blanket or a wet cloth. When it is safe, turn off the oven and call the fire department.
- Before frying foods, always remove their excess water and put them inside the heated oil slowly. Make sure that frozen foods are defrosted before frying.
- Make sure that the container you use while heating oil is dry and keep the lid
- For recommendations on cooking with power saving, refer to the “Environmental Instructions” section.
- The cooking temperature and time values given for foods may vary depending on the recipe and amount. For this reason, these values are given as ranges.
Maintenance and cleaning
General cleaning information
General warnings
- Wait for the product to cool before cleaning the product. Hot surfaces may cause burns!
- Do not apply the detergents directly on the hot surfaces. This may cause a permanent stains.
- The appliance shall be thoroughly cleaned and dried after each operation. Thus, food residues shall be easily cleaned and these residues shall be prevented from burning when the appliance is used again later. Thus, the service life of the appliance extends and frequently faced problems are de
- Do not use steam cleaning products for cleaning.
- Some detergents or cleaning agents may damage the surface. Do not use abrasive detergents, cleaning powders, cleaning creams, descalers or sharp objects during cleaning.
- No special cleaning material is needed in the cleaning made each use. Clean the appliance using dishwashing de- tergent, warm water and a soft cloth or sponge and dry it with a dry cloth.
- Be sure to completely wipe off any remaining liquid after cleaning and immediately clean any food splashing around during cooking.
- Do not wash any component of your appliance in a dishwasher.
For the hobs:
- Acidic dirt such as milk, tomato paste and oil may cause permanent stains on the hobs and components of the hob zones, clean any overflown fluids immediately after cooling down the hob by turning it off.
Inox – stainless surfaces
- Do not use acid or chlorine-containing cleaning agents to clean stainless-inox surfaces and handles.
- Stainless-inox surface may change colour in time. This is normal. After each operation, clean with a detergent suitable for the stainless or inox surface.
- Clean with a soft soapy cloth and liquid (non-scratching) detergent suitable for inox surfaces, taking care to wipe in one direction.
- Remove lime, oil, starch, milk and protein stains on the glass and inox surfaces immediately without waiting. Stains may rust under long periods of
Glass surfaces
- When cleaning glass surfaces, do not use hard metal scrapers and abrasive cleaning materials. They can damage the glass surface.
- Clean the appliance using dishwashing detergent, warm water and a microfiber cloth specific for glass surfaces and dry it with a dry microfiber
- If there is residual detergent after cleaning, wipe it with cold water and dry with a dean and dry microfiber Residual detergent residue may damage the glass surface next time.
- Under no circumstances should the dried-up residue on the glass surface be cleaned off with serrated knives, wire wool or similar scratching tools.
- You can remove the calcium stains (yellow stains) on the glass surface with the commercially available descaling agent, with a descaling agent such as vinegar or lemon juice.
- If the surface is heavily soiled, apply the cleaning agent on the stain with a sponge and wait a long time for it to work properly. Then clean the glass surface with a wet cloth.
- Discolorations and stains on the glass surface are normal and not defects.
Troubleshooting
If the problem persists after following the instructions in this section, contact your vendor or an Authorized Service. Never t to retail– our product our self.
Appliance is not working.
- Fuse may be faulty or blown. >>> Check the fuses in the fuse box. Change them if necessary or reactivate them.
- The appliance may not be plugged to the (grounded) outlet. >>> Check if the appliance is plugged in to the outlet
- Buttons on the control panel do not work. >>> If your product has a key lock, the key lock may be enabled, disable the key lock
- If the hob does not turn on when the on/off button is pressed >>> Unplug it and wait at least 20 seconds before plugging it in.
- It has overheat protection. >>> Wait for your hob to cool down.
- A terrorists ma not be used. >>> Check our sots.
On the hob zone display ” ” and ” ” or ” ” icon is always on.
- Pots may not be placed on the operating hob. >>> Check if there is a pot on the hob zone.
- Your pot may not be induction suitable. >>> Check if your hob is suitable for the induction hob.
- The pot may not be centred correctly on the hob zone or the bottom surface of the pan may not be wide enough for the selected hob zone. >>> Center the hob by choosing a pot that is wide enough for the hob zone.
- The •ot or hob zone ma be too hot. >>> Walt for them to cool down.
The selected hob zone suddenly turns off while it is operating.
- The cooking time of the selected compartment may have expired. >>> You can set a new cooking time or finish cooking.
- It has overheat protection. >>> Wait for your hob to cool down.
- An object may have covered the touch control panel. >>> Remove the object on the panel.
Although the hob zone is turned on, the pot does not heat up.
- The pot may not be suitable with the Induction hob. >>> Check if your hob is suitable for the induction hob.
- The pot may not be centred correctly on the hob or the bottom surface of the pan may not be wide enough for the selected hob zone. >>> Center the hob by choosin a of that is wide enou.h for the hob zone.
The cooling fan continues to run even though the hob is turned off.
- This is not a fault. The cooling fan continues to operate until the electronic equipment in the hob falls to the appropriate temperature.
Noise from the hob during cooking
Some sounds may be heard from the hob while cooking. These sounds are due to the composition of the cooking vessel. These sounds are normal, they are not a malfunction and they are a part of induction technology. Possible noises and reasons
- Fan noise: The hob is equipped with a fan that activates automatically according to the temperature of the appliance. The fan has various operating levels and op-erates at different levels as per the temperature. If the temperature is higher than the product temperature after the hob is turned off, the fan may run for a while.
- Lower buzz like the operating noise of a transformer: This is due to the nature of the induction technology. As the heat is transmitted directly to the base of the cooking vessel, such buzz sounds may be heard as per the material of the cooking vessel. Thus, different noises may be heard with different cookware.
- Crackling sound: The reason of this is the structure and material of the base of the cooking vessel. If the cookware is made of different materials and layers, a crackling sound may occur.
- Whining noise: A whining sound may be heard when two cooking zones on the same side of the hob are used to cook with different cooking levels.
Arcelik A.S.
Karaa§ag Caddesi No:2-6 SCitliice, 34445, Turkey
Made in TURKEY
Importer in Russia: «BEKO LLD>
Address: Selskaya street, 49, Fedorovskoe village, Pershinskoe rural settlement,
Kirzhach district, Vladimir region, Russian Federation 601021
The manufacture date is included in the serial number of a product specified on rating label, which is located on a product, namely: first two figures of serial number
indicate the year of manufacture, and last two – the month. For example, “10- 100001-05)) indicates that the product was produced in May, 2010.
You can ask for certification number from our Call Center 8-800-200-23-56
The manufacturer reserves the right for making changes in modification, design and specification of an electric device.
Rear left – Induction hob zone



















