HALCYON R936 Square Low Glare Dark light Wall-Stair Tread

Product parameter
| Model No. | Current | Power | LED | Colour | Size: mm | Material | IP Grade |
| R936 BSL3 | 700mA | 3W | CREE | 3000K | 78x78x38mm | STS | IP 65 |
| R936 WL3 | 700mA | 3W | CREE | 3000K | 78x78x38mm | AL | IP 65 |

Symbols

Class of protection (SELV)
LED light source.
The WEEE symbol, indicating separate collection equipment, consists of the cross-out wheeled bin.
All the material used is up to standard.
SAFETY INSTRUCTIONS
Read these instructions carefully before commencing installation and retain for future reference. The luminaire should be installed by a licensed electrician and in accordance with local regulations. Make sure that the power is off before installation or maintenance. Install as described.
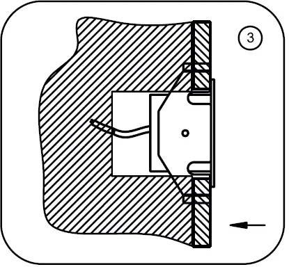
Installation Instructions
Installation Instructions with Housing




Installation Instructions without Housing



Do not connect luminaire to live power source. Wire in series.
- Modification or misuse of the luminaire voids warranty.
- This LED luminaire must be connected to a constant current converter 700mA.
WARNING: Incorrect connection may damage the luminaire.
- Note the prescribed dimensions before assembly.
- The light from a LED luminaire is strong, avoid looking directly into the light source.
- Halcyon Lighting is free to change the design, specifications and instructions for assembly of the luminaire without notice.
- Connect the LED luminaire to the converter before the converter is connected to the power source.
- All exterior luminaires (with the exception of copper) require periodic cleaning to protect the surface and/or coating from corrosion and ensure tidy appearance for the lifespan of the product. Wash with care using a soft brush and warm soapy water using a neutral detergent. Coastal areas require extra attention, especially fittings which are under eaves/soffits and do not have any exposure to rain. Do not use a water blaster or high pressure hose, do not submerge fittings for extended periods of time. 316 stainless steel fittings will still develop surface rust or “tea staining” if left uncared for.

Class of protection (SELV)
LED light source.
The WEEE symbol, indicating separate collection equipment, consists of the cross-out wheeled bin.
All the material used is up to standard.


















