WISeNeT TNV-7011RC Network Camera

Product Information
Network Camera TNV-7011RC
The Network Camera TNV-7011RC is a high-quality camera manufactured by Hanwha Techwin. It is designed to provide clear and crisp video footage that can be used for various purposes such as security and monitoring. The camera comes with a range of advanced features, making it an ideal choice for both home and commercial use. Key features of the product include:
- Compatibility with VMS and Hanwha NVRs
- Environmentally friendly with the Eco mark certification
- Easy installation
- Password protection for secure access
- High-quality video capture
Product Usage Instructions
Before installing or using the Network Camera TNV-7011RC, it is recommended to read the product manual available on the Hanwha Techwin website. The manual provides detailed instructions on how to set up and use the camera.
Installation
The installation of the Network Camera TNV-7011RC is straightforward and can be completed in a few simple steps. The installation steps are outlined in the product manual and involve:
- Mounting the camera on a suitable surface
- Connecting the camera to a power source and LAN cable
- Adjusting the camera angle and focus as required
Password Setting
To access the camera for the first time, a login password must be set. This password should be kept secure to prevent unauthorized access to the camera. To set the login password, follow these steps:
- Access the camera
- Enter “admin” in the input box
- Enter the password in the input field
- Click [Sign in]
Once the login password has been set, it will be required every time the camera is accessed.
Compatibility
For optimal performance, it is recommended to use the officially compatible VMS version or latest Hanwha NVR version when integrating with VMS or Hanwha NVR.
Correct Disposal of Batteries
If applicable, batteries in this product should be disposed of correctly, following separate battery return systems available in the European Union and other European countries.
Warranty Information
For information on product warranty, please refer to the warranty information available on the Hanwha Techwin website.
Important
Please check ‘Manuals’ from our website, before connecting to the Supply, https://www.hanwha-security.com/en/data-center/download-data/
Warranty
Please check “Product warranty information” from our website. https://www.hanwha-security.com/support/warranty/ We recommend to use the officially compatible VMS version or latest Hanwha NVR version when integrating with VMS or Hanwha NVR.
Hanwha Techwin cares for the environment at all product manufacturing stages, and is taking measures to provide customers with more environmentally friendly products. The Eco mark represents Hanwha Techwin’s devotion to creating environmentally friendly products, and indicates that the product satisfies the EU RoHS Directive.
Correct Disposal of This Product

(Waste Electrical & Electronic Equipment) (Applicable in the European Union and other European countries with separate collection systems) This marking on the product, accessories or literature indicates that the product and its electronic accessories (e.g. charger, headset, USB cable) should not be disposed of with other household waste at the end of their working life. To prevent possible harm to the environment or human health from uncontrolled waste disposal, please separate these items from other types of waste and recycle them responsibly to promote the sustainable reuse of material resources. Household users should contact either the retailer where they purchased this product, or their local government office, for details of where and how they can take these items for environmentally safe recycling. Business users should contact their supplier and check the terms and conditions of the purchase contract. This product and its electronic accessories should not be mixed with other commercial wastes for disposal.
Correct disposal of batteries in this product

(Applicable in the European Union and other European countries with separate battery return systems.) This marking on the battery, manual or packaging indicates that the batteries in this product should not be disposed of with other household waste at the end of their working life. Where marked, the chemical symbols Hg, Cd or Pb indicate that the battery contains mercury, cadmium or lead above the reference levels in EC Directive 2006/66. If batteries are not properly disposed of, these substances can cause harm to human health or the environment. To protect natural resources and to promote material reuse, please separate batteries from other types of waste and recycle them through your local, free battery return system.
SAFETY INFORMATION

COMPONENT
- As for each sales country, accessories are not the same.

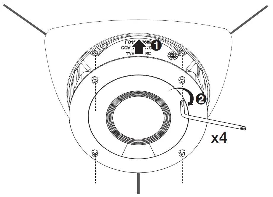
INSTALLATION

- Not Included : Micro SD Card















INFO

PASSWORD SETTING
When you access the product for the first time, you must register the login password.

- For a new password with 8 to 9 digits, you must use at least 3 of the following: uppercase/ lowercase letters, numbers and special characters. For a password with 10 to 15 digits, you must use at least 2 types of those mentioned.
- Special characters that are allowed. : ~`!@#$%^&*()_-+={}[]|\;:‘“<>.,?/
- Space is not allowed for password.
- For higher security, you are not recommended to repeat the same characters or consecutive keyboard inputs for your passwords.
- If you lost your password, you can press the [RESET] button to initialize the product. So, don’t lose your password by using a memo pad or memorizing it.
LOGIN
Whenever you access the camera, the login window appears. Enter the User ID and password to access the camera.
- Enter “admin” in the <User Name> input box.
- Enter the password in the <Password> input field.
- Click [Sign in].
CONTACTS
Head Office
- 6, Pangyo-ro 319 beon-gil, Bundang-gu, Seongnam-si,
- Gyeonggi-do, 463-400 Rep. of KOREA
- Tel : +82.70.7147.8753 Fax : +82.31.8018.3740 www.hanwha-security.com
Hanwha Techwin America
- 500 Frank W. Burr Blvd. Suite 43 Teaneck, NJ 07666
- Toll Free : +1.877.213.1222 Direct : +1.201.325.6920
- Fax : +1.201.373.0124 www.hanwhasecurity.com
Hanwha Techwin Europe
- Heriot House, Heriot Road, Chertsey, Surrey, KT16 9DT, United Kingdom
- Tel : +44.1372.235663 Fax : +44.1932.57.8101 www.hanwha-security.eu
Hanwha Techwin Middle East FZE
- JAFZA View 18, 20th floor, office 2001, 2002, 2003, Downtown Jebel Ali,
- Dubai, United Arab Emirates www.hanwha-security.com
Hanwha Techwin Vietnam Hanoi Office
28th Floor, Handico Building, Pham Hung Street, Me Tri ward, Nam Tu Liem District, Hanoi City, Vietnam
Tel : +84.91.982.40.88 www.hanwha-security.com



















