artika Selena LED Vanity Light

LED Vanity Light – SelenaTM
The LED Vanity Light – SelenaTM is a wall-mounted light fixture designed to provide bright, energy-efficient lighting for your bathroom or dressing room. The fixture features Selectable White Technology, which allows you to choose between three different color temperatures: 3000K, 4000K, and 5000K.
Product Specifications
- Model: SelenaTM
- Rev.: 18-01-2023
- Power: 16W
- Voltage: 120V AC
- Color Temperature: 3000K/4000K/5000K
- Luminous Flux: 1200 lumens
- Dimmable: Yes, with a compatible LED dimmer
- IP Rating: IP44
- Dimensions: 24″ x 2.9″ x 2.2″
Product Usage Instructions
Step 1: Mounting Bracket Installation
- Use a screwdriver to attach the mounting bracket (A) to the wall, ensuring it is level.
- Insert the wire connector (B) through the hole in the center of the mounting bracket (A).
- Secure the mounting bracket (A) to the wall using the junction box screws (C).
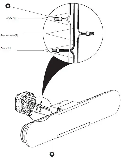
Step 2: Wire Connection
- Connect the black wire from the electrical box to the black wire from the LED vanity light (E), using the wire connector (B).
- Connect the white wire from the electrical box to the white wire from the LED vanity light (E), using another wire connector (B).
- Connect the ground wire from the electrical box to the ground wire from the LED vanity light (E), using a third wire connector (B).
Step 3: Final Installation
- Attach the canopy screws (D) to the base of the LED vanity light (E).
- Peel off the protective covering from the Selectable White Technology label on the back of the LED vanity light (E).
- Insert the LED vanity light (E) onto the mounting bracket (A), ensuring it clicks into place.
Important Safety Instructions:
- If using a dimmer, it must be LED-compatible.
- Turn off the circuit breaker at the panel before installation or maintenance.
- Do not use outdoors.
INCLUDED HARDWARE
| ITEM | DESCRIPTION | QUANTITY |
![]() | Mounting bracket | × 1 |
![]() | Wire connector | × 3 |
![]() | Junction box screw | x 2 |
![]() | Canopy screw | x 2 |
![]() | LED vanity light | x 1 |
STEP-BY-STEP INSTALLATION

WHAT YOU WILL NEED

CAUTION
If using a dimmer, it must be LED-compatible.
IMPORTANT
The installer and/or user must read, understand and follow these instructions before installing the product. This product must be properly installed before it is used. If instructions are not followed, the manufacturer will not be held responsible for any problems or product malfunction. Failure to follow installation and/or operating instructions voids the warranty.
We recommend that this product be installed by a certified electrician. In some states or provinces, it is a legal requirement for this type of product to be installed by a certified electrician, according to the electrical and building codes in effect in the region where the product is used.
WARNING:
Risk of electrical shock. Turn off the circuit breaker at the panel.
Switch off the main electrical supply from the fuse box/circuit breaker before installing the unit or doing any maintenance. Do not use outdoors.
MOUNTING BRACKET INSTALLATION

WIRE CONNECTION

FINAL INSTALLATION

SELECTABLE WHITE TECHNOLOGY

CANADA (IC)
Operation is subject to the following two conditions:
- This device does not cause interference, and
- This device must accept any interference received, including interference that may cause undesired operation.
FCC STATEMENT
USA (FCC)
WARNING:
Any changes or modifications to this unit not expressly approved by the party responsible for compliance could void the user’s authority to operate the equipment.
This device complies with Part 15 of the FCC Rules. Operation is subject to the following two conditions:
- This device does not cause harmful interference, and
- This device must accept any interference received, including interference that may cause undesired operation.
NOTE:
This equipment has been tested and found to comply with the limits for Class B digital devices, pursuant to part 15 of the FCC Rules. These limits are designed to provide reasonable protection against harmful interference in a residential installation. This equipment generates, uses and can radiate radio frequency energy and, if not installed and used in accordance with the instructions, may cause harmful interference to radio or television reception. However, there is no guarantee that interference will not occur in a particular installation. If this equipment causes harmful interference to radio or television reception, which can be determined by turning the equipment off and on, the user is encouraged to try to correct the interference by one or more of the following measures:
- Reorient or relocate the receiving antenna.
- Increase the distance between the equipment and the receiver.
- Connect the equipment to an outlet on a circuit that the receiver is not connected to.
- Consult the dealer or an experienced radio/TV technician for help.
WARRANTY
Warranty Information:
This product is covered by a valid limited warranty only if installed in accordance with the building code and laws in effect in the region where the unit is being used, as well as in accordance with the provided instruction manual. The warranty does not cover products installed incorrectly or subjected to abnormal use. Please visit www.artika.com for more information about Artika for Living Inc.
Artika For Living Inc.
Is proud to offer you a five-year (5) limited warranty on manufacturing defects from the date of purchase for residential use only. The warranty is extended to the original owner in the US, Canada, Mexico, the UK, Iceland, France, and Spain and is non-transferable. It does not apply to retailers, commercial applications, or establishments. The original sales receipt is required for all warranty claims. The remedy under this limited warranty shall be a product or part replacement at Artika’s discretion as provided herein and may not exceed the original purchase price.
This warranty is valid only on products installed in accordance with the building code and laws in effect in the region where the unit is being used, as well as in accordance with the provided instruction manual. It does not cover products installed incorrectly or subjected to abnormal use. You may be required to return the product(s) or part(s) for inspection and verification.
Normal wear and tear, misuse, negligence, vandalism, improper maintenance (surface damage due to chemical interaction or cleaning agents including, but not limited to, scouring pads, use of cleaners containing abrasives, alcohol, or other organic solvents), improper handling, accident, abuse, fire, flood, theft, acts of God, neglect, or alteration of the product will not be covered under this limited warranty. It excludes any accessories that accompany the product including, but not limited, to bulbs or batteries.
This warranty does not cover handling, labor, transportation, or any other cost associated with the installation or replacement of the product. This limited warranty is valid in the country of purchase and for products sold by Artika-authorized retailers only.
Artika for Living Inc.
Will not be held responsible for any direct or consequential damages or injuries related to the use of this product arising from improper use or installation.
Please visit www.artika.com to discover more about Artika for Living Inc.
























