
NETWORK CAMERA
User Manual

TNU-6322ER/TNU-6322E
TNU-6322E Network Camera
Copyright
©2021 Hanwha Techwin Co., Ltd. All rights reserved.
Trademark
Each of trademarks herein is registered. The name of this product and other trademarks mentioned in this manual are the registered trademark of their respective company.
Restriction
Copyright of this document is reserved. Under no circumstances, this document shall be reproduced, distributed or changed, partially or wholly, without formal authorization.
Disclaimer
Hanwha Techwin makes the best to verify the integrity and correctness of the contents in this document, but no formal guarantee shall be provided. Use of this document and the subsequent results shall be entirely on the user’s own responsibility. Hanwha Techwin reserves the right to change the contents of this document without prior notice.
※ Design and specifications are subject to change without prior notice.
※ The initial administrator ID is “admin” and the password should be set when logging in for the first time.
Please change your password every three months to safely protect personal information and to prevent the damage of the information theft.
Please, take note that it’s a user’s responsibility for the security and any other problems caused by mismanaging a password.
overview
IMPORTANT SAFETY INSTRUCTIONS
- Before installation, read all manuals thoroughly and proceed with the installation according to the directions.
- When connecting a power cable or signal line, check the external connection port first.
Incorrectly connecting the power supply may cause fire, electric shock or damage to the product. - If you notice any unusual smells or smoke coming from the unit, stop using the product.
If this occurs, immediately disconnect the power source and contact the service center. Continued use may cause fire or electrical shock. - Do not disassemble while the power is on.
- Before the power is supplied, confirm that all power cords have been properly connected. An insecure connection may result in fire.
- If needed, you can disassemble the system after the power has been shut off for 30 minutes.
If the system has been in a high or low temperature environment, you may be injured by high heat or low chill of the surface. - Make sure the power supports 24Vac/6A/50-60Hz (1 device for TNU-6322E) or 24Vac/6A/5060Hz (2 devices for TNU-6322ER 2) before powering on the devices. Power in excess of the rated voltage may cause a fire.
- Lightning or thunder may cause damage to the device.
When installing the product, consider taking measures that will minimize damage to the product in the event of lightning. - When the system is installed, it should be tightly anchored on a floor that can sufficiently sustain its weight against any strong wind.
The fixing method and material used must be able to sustain at least 4 times the system’s weight. - Since the system is remotely controlled and sometimes changes its position, it should be so carefully installed that it does not create any harmful environment, i.e., its moving part does not injure people.
- Do not attach anything to the system.
- When installing in a dangerous environment, remove the equipment from the power supply to reduce the possibility of ignition.
- Install explosion-proof seal fitting at the cable entry.
- During the assembly, fasten the bolt with a proper amount of torque (≥450N/ ).
- Do not install near a heater or motor. Install the system in a place with good ventilation.
- Technical support should be provided by authorized technical engineers.
- Do not install the product in a location that is humid, or where the product will be exposed to dust or soot.
- Do not drop objects on the product, or apply strong impact to it. Keep away from locations where there is excessive vibration or magnetic interference.
- Do not install on environment where temperature would exceed its operating temperature. The equipment is certified for use in ambient temperatures from -40°C to 60°C (Start up should be done at above -30°C)
- Keep out of direct sunlight, and away from heat radiation sources.
- If you want to relocate a product that has already been installed, be sure to turn off the power and then move or reinstall it. Failure to turn off the power may result in fire or electric shock.
- Install the product in a location with good ventilation.
- The rubber part of the camera wiper is expendable. Replace with a new one if performance is degraded.
- Before cleaning the system, disconnect it from the power supply
- This device has been verified using STP cable. The use of appropriate GND grounding and STP cable is recommended to effectively protect your product and property from transient voltage, thunderstroke, communication interruption.
- Please use adequate equipment when handling heavy products to prevent any risk of injury.
- For stable installation, you must use the provided accessories. If you use any other accessories not provided by us, the features/performance/safety of the product cannot be guaranteed.
- Periodically remove dirt on the surface of the product to prevent increase in surface temperature of the product.
- When cleaning the surface of the product, wipe the contaminated area with a clean soft dry cloth, or wipe the contaminated area after wring it thoroughly with a soft, dry cloth moistened with water. Do not use detergents, cosmetics, and oils that contain alcohol, solvent, or surfactants as they may cause damage or deformation of the product. If necessary, use a neutral detergent.
In particular installation environments, there might be interference in radio communications.
When interference of electromagnetic waves occurs between the product and radio communication device, it is recommended to keep a certain distance between the two or change the direction of the receiving antenna.
CAUTION

RECOMMENDED PC SPECIFICATIONS
- CPU : Intel(R) Core(TM) i7 3.4 GHz or higher
- RAM : 8G or higher
- Recommended browser: Chrome
- Supported browsers: Chrome, Safari, Firefox, MS Edge(chromium based)
- Supported OS : Windows, Mac, Linux, Android, iOS, Chrome
- Verification environment:
– Windows 10: Google Chrome version 80 or later, Firefox version 72 or later, MS Edge version 83 or later
– Mac 10.13/14: Safari version 11.0.1 or later
※ The video play performance of the web viewer depends on the performance of the user’s CPU and GPU.
※ Before installing or while using this product, please visit the website of Hanwha Techwin, http://www.hanwhasecurity.com, to confirm the latest S/W version, then download and update it if necessary.
※ To enhance security, it is recommended to configure a password with various combinations of special characters, numbers, upper cases, and lower cases.
NAS RECOMMENDED SPECS
- Recommended capacity : 200GB or higher is recommended.
- For this camera, you are recommended to use a NAS with the following manufacturer’s specs.
Recommended products : QNAP NAS, Synology NAS
WHAT’S INCLUDED (TNU-6322ER)
Please check if your camera and accessories are all included in the product package.
(As for each sales country, accessories are not the same.)
| Appearance | Item Name | Quantity | Description |
![]() | Rotating explosion-protected IR camera | 1 | – |
![]() | Quick Guide (Optional) | 1 | – |
![]() | RJ45 waterproof accessory | 1 | Used to install in humid places |
![]() | Sunshield | 1 | Blocks direct sunlight |
![]() | Wrench Bolt (M6X12) | 8 | Sunshield is fixed on the camera |
| Wrench Bolt (M8X15) | 4 | Used to assemble the camera body and bracket | |
![]() | Installation Template | 1 | Guide for installation work |
![]() | Grounding accessories (Screws [MS PH M5X8], star washers) | 1 | Used to connect grounding wires |
![]() | Wall bracket (SBE-100WM) | Used to install a camera on the wall | |
![]() | Corner bracket (SBE-100KM) | Used to install a wall bracket on a corner of the wall | |
![]() | Pole bracket (SBE-100PM) | Used to install a wall bracket on a pole | |
| Support bracket (SBE-100B) | Used to install a camera on the floor |
WHAT’S INCLUDED (TNU-6322E)
Please check if your camera and accessories are all included in the product package.
(As for each sales country, accessories are not the same.)
| Appearance | Item Name | Quantity | Description |
![]() | Rotating explosion-protected normal camera | 1 | – |
![]() | Quick Guide (Optional) | 1 | – |
![]() | RJ45 waterproof accessory | 1 | Used to install in humid places |
![]() | Sunshield | 1 | Blocks direct sunlight |
![]() | Wrench Bolt (M6X12) | 4 | Sunshield is fixed on the camera |
| Wrench Bolt (M8X15) | 4 | Used to assemble the camera body and bracket | |
![]() | Installation Template | 1 | Guide for installation work |
![]() | Grounding accessories (Screws [MS PH M5X8], star washers) | 1 | Used to connect grounding wires |
![]() | Wall bracket (SBE-100WM) | Used to install a camera on the wall | |
![]() | Corner bracket (SBE-100KM) | Used to install a wall bracket on a corner of the wall | |
![]() | Pole bracket (SBE-100PM) | Used to install a wall bracket on a pole | |
| Support bracket (SBE-100B) | Used to install a camera on the floor |
AT A GLANCE (TNU-6322ER)
Appearance

| Item | Description | |
| 1 | Main Housing | Built-in main circuit board and tilt motor system. |
| 2 | IR housing | Built-in IR LED circuit board. |
| 3 | Shaft | Cables pass through a pan/tilt shaft. |
| 4 | Sunshield | Protects the system from sunlight and unwanted reflections. |
| 5 | Windshield Wiper | Wipes away water or dust on the camera screen. |
| 6 | Camera Housing | Built-in camera module and wiper system. |
| 7 | Base Housing | Built-in power circuit board and fan motor system. |
| 8 | Cable Entry | Opening where power cable, alarm, and washer pump control cable passes through to the outside. |
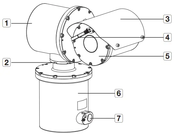
AT A GLANCE (TNU-6322E)
Appearance

| Item | Description | |
| 1 | Main Housing | Built-in main circuit board and tilt motor system. |
| 2 | Shaft | Cables pass through a pan/tilt shaft. |
| 3 | Sunshield | Protects the system from sunlight and unwanted reflections. |
| 4 | Windshield Wiper | Wipes away water or dust on the camera screen. |
| 5 | Camera Housing | Built-in camera module and wiper system. |
| 6 | Base Housing | Built-in power circuit board and fan motor system. |
| 7 | Cable Entry | Opening where power cable, alarm, and washer pump control cable passes through to the outside. |
INSTALLATION (TNU-6322ER, TNU-6322E)
Precautions before installation
Ensure you read out the following instructions before installing the camera:
- Install the system based on the following directions. If you want to install using a different method, you should confirm the safety recommendations by making a request to the manufacturer in advance.
- The weight of TNU-6322ER and TNU-6322E is approximately 36kg (without Pedestal) and 25kg (without pedestal), respectively. When installing the product, at least two people wearing a pair of non-slip gloves are needed for safety.
- The product must be installed in a place that can support four times the weight of the camera and installation bracket combined.
- Please be careful when installing the product as electrical abnormality or fire can be caused if the cable is caught and its coating is damaged.
- When installing the camera, make sure that no one other than the authorized person approaches the installation site for safety.
- If any accessories or non-standard products not shipped with this product are used, there is a potential safety risk that might cause accidents.
Special conditions of use
- The dimensions of flameproof joints are different from the values specified in the tables of the IEC/EN 60079-1 standard. Contact the manufacturer for details of the flameproof joints.
- For equipment to which the cable is permanently connected, the user connects the free end of the cable in either a non-explosive atmosphere or an enclosure protected in a recognized protection mode suitable for the area.
- The screws used for the assembly of the various parts of explosion-proof enclosures must be of quality higher or equal to A2-70.
- Carrying camera using transporting rope. Our product provides a transporting rope.
- Remove the cable only after completing installation.
- For safety, at least two persons are need to carry the camera using the transporting rope.

Maintenance and Repair
Contact a HANWHA TECHWIN or WONWOO Engineering representative to send the device back for function verification.
There are no user-serviceable portions of the devices.- When operating the devices in conjunction with a hazardous area, do not modify the system.
If there is a defect, the product may need to be replaced.
Repairs can only be performed by a WONWOO’s specialist who is trained and authorized to repair the defect. - When servicing, installing, and commissioning, the area must be free of all combustible material and/or hazardous explosive gas.
Only the terminal compartment of the control unit is accessible to users.
Under no circumstances shall the control unit or vent be dismantled or removed from the supplied enclosure, unless instructed in this manual.
Contact HANWHA TECHWIN or WONWOO Engineering customer service for an RMA (return merchandise authorization).
Camera Install Guide
This device can be installed as following references. If you want to install the other way, you must contact manufacturer for safety recommendation.
The weight of TNU-6322ER and TNU-6322E is approximately 36kg (without Pedestal) and 25kg (without pedestal), respectively.
It is highly recommended to wear proper non-slip gloves and the transporting rope. You need to be very careful when lifting.
Installing Cable Entry

- To install this device, install the Ex Equipment Cable Grands or Ex Components according to IEC 6007914 / EN 60079-14.
- The main cable should be connected to a junction box or indirect input terminal box at a distance of at least 3m in length.
How to install Sunshield
Use wrench bolts (M6X12) to secure the sun shield to the camera housing.

Optional Accessories for Installation
For your easier installation, you can purchase appropriate optional accessories available.
- Mounting the pedestal

- Assemble the support bracket under the base housing using 4 screw wrench bolt (M8X15).
- Installing pedestal to the floor with screw bolt.
` When the camera is installed on a concrete floor, be sure to use an M8 anchor bolt.
` When installing the product, you should use a bracket and a surface that can support at least four times the weight of the product.
` Mounting the wall bracket

- Assemble the wall bracket under the base housing using 4 wrench bolt (M8X15).
- Installing pedestal to the floor with screw bolt.
` When the camera is installed on a concrete floor, be sure to use an M12 anchor bolt.
` When installing the product, you should use a bracket and a surface that can support at least four times the weight of the product.
` How to install wall/pole brackets on the system

- Assemble pole bracket sides with the wall bracket using a set of 4 bolts.
– Bolt set M12 bolt X M12 spring washer X M12 nut (2EA) - Install the pole on the pole bracket using a steel band.
` When installing the product, you should use a steel band and a surface that can support at least four times the weight of the product.
` How to install a corner bracket on the system

- Assemble corner bracket sides with the wall bracket using a set of 4 bots.
– Bolt set M12 bolt X M12 spring washer X M12 nut (2EA) - Install the corner bracket on the wall using screw bolts.
` When the camera is installed on a concrete floor, be sure to use an M12 anchor bolt.
` When installing the product, you should use a bracket and a surface that can support at least four times the weight of the product.
How to install the grounding wires

- Insert the grounding wires into the cable terminal.
- Clamping the terminal using cable clamper tool.
- Connecting earth cable to external earth bar.
` Do not disassemble the device during operation. The power should be turned off 30 minutes before disassembling for maintenance.
` A ground wire is not included in the accessories. The size of a ground wire should be at least 18AWG.
CONNECTING WITH OTHER DEVICE

Ethernet Connection
Connect the Ethernet cable to the local network or to the Internet.
Power Supply
Connect the power supply line with the camera power supply terminal using a screwdriver.
` Be sure to connect the AC24V power supply (non-polar) while the power is shut off.
Network Cable Specification
| Item | Contents | Remark |
| Connector | RJ45 | |
| Ethernet | 10/100Base-T | 10/100 Mbps |
| Cable | UTP Category 5e | |
| Max Distance | 100M |
Power Cable Specification
In case of AC24V Input:
| Wire Type (AWG) | #16 | #14 |
| Cable Length (Max.) | 15 m | 24 m |
` See the figure below to replace the worn-out wiper blade.
How to connect external cables for each model
Connect external cables by referring the table below.
` Connect alarm input/output cables for each terminals one by one.
TNU-6322ER
| Label print | COLOR | Description | Remarks |
| WAS_NO / PUP | Purple | A terminal to connect Washer Pump (NO) | |
| WAS_NC / ORG | White | A terminal to connect Washer Pump (NC) | |
| GND / GRN | Green | A common terminal to connect external Alarm signal (GND) | |
| ALARM_COM / BRN | Brown | A common terminal to connect Relay output signal (COM) | |
| WAS_COM / BLU | Blue | A common terminal to connect Washer Pump (COM) | |
| ALARM_IN / ORG | Orange | A terminal to connect external Alarm signal | |
| ALARM_OUT / YEL | Yellow | A terminal to connect Relay output signal (NC) | |
| AC24V_A | Red | A terminal for 24Vac power supply input (A) | |
| AC24V_B | Black | A terminal for 24Vac power supply input (A) | |
| AC24V_A | Red | A terminal for 24Vac power supply input (A) | |
| AC24V_B | Black | A terminal for 24Vac power supply input (A) | |
| MIC IN | Red | Microphone input port | |
| SPK-OUT | Yellow | Speaker output port | |
| Reserved(+) | Gray | Reserved Port(+) | |
| Reserved(–) | Black | Reserved Port(–) |
TNU-6322E
| Label print | COLOR | Description | Remarks |
| GND / GRN | Green | A common terminal to connect external Alarm signal (GND) | |
| ALARM_COM / BRN | Brown | A common terminal to connect Alarm output signal (COM) | |
| ALARM_OUT / YEL | Yellow | A terminal to connect Alarm output signal | |
| ALARM_IN / ORG | Orange | A terminal to connect external Alarm signal | |
| WAS_COM / BLU | Blue | A common terminal to connect Washer Pump (COM) | |
| WAS_NO / PUP | Purple | A terminal to connect Washer Pump (NO) | |
| WAS_NC / WHT | White | A terminal to connect Washer Pump (NC) | |
| AC24V_A | Red | A terminal for 24Vac power supply input (A) | |
| AC24V_B | Black | A terminal for 24Vac power supply input (B) | |
| MIC IN | Red | Microphone input port | |
| SPK-OUT | Yellow | Speaker output port | |
| Reserved(+) | Gray | Reserved Port(+) | |
| Reserved(–) | Black | Reserved Port(–) |
How to connect the RJ45 waterproof cable to a LAN cable
- Insert it through the arrow direction.
- Connect the LAN connector (male) to the cable.
- Connect the RJ45 modular jack (female) to the RJ45 connector (male).

Please, keep each of the parts separated. - Assemble by rotating the RJ45 modular jack (female) and the RJ45 protection cover clockwise (Follow the arrow).
- Assemble by rotating RJ45 protection cover and back cover clockwise (Follow the arrow).
When the back cover is assembled, the cable waterproof gasket is tightly attached to the cable to make it waterproof.

You must fully assemble it to rotate the back cover up to the end of the screw thread of the RJ45 connector.
How to interconnect Washer pump
It is recommended that the camera use the following washer pump.
- Honeywell EXWJ400-10A
Refer to the washer pump manual for details on connection of washer pump and usage.
<Standard method to install camera and washer pump>
You can set up the network settings according to your network configurations.
CONNECTING THE CAMERA DIRECTLY TO LOCAL AREA NETWORKING
Connecting to the camera from a local PC in the LAN
- Launch an Internet browser on the local PC.
- Enter the IP address of the camera in the address bar of the browser.

A remote PC in an external Internet out of the LAN network may not be able to connect to the camera installed in the intranet if the port-forwarding is not properly set or a firewall is set.
In this case, to resolve the problem, contact your network administrator.
` By factory default, the IP address will be assigned from the DHCP server automatically.
If there is no DHCP server available, the IP address will be set to 192.168.1.100.
To change the IP address, use the Device Manager.
For further details on Device Manager use, refer to “Using Device Manager”. (Page 17)
CONNECTING THE CAMERA DIRECTLY TO A DHCP BASED DSL/CABLE MODEM

- Connect the user PC directly with the network camera.
- Run the Device Manager and change the IP address of the camera so that you can use the web browser on your desktop to connect to the camera.
- Use the Internet browser to connect to the web viewer.
- Move to [Setup] page.
- Move to [Network] – [DDNS] and configure the DDNS settings.
- Move to [Basic] – [IP & Port], and set the IP type to [DHCP].
- Connect the camera, which was removed from your PC, directly to the modem.
- Restart the camera.
For information on how to set DDNS, refer to the online help of Web Viewer.
` For information on how to set the IP format, refer to the online help of Web Viewer.
USING DEVICE MANAGER
Device manager program can be downloaded from <Technical Support>-<Online Tool> menu at Hanwha Techwin website (http://www.hanwha-security.com).
` More instructions of Device Manager can be found at <Help> menu of the main page.
AUTOMATICALLY SEARCHING CAMERA
If a camera is connected to the same network of the PC where device manager is installed, you can find network camera by using search function.
- Click <Search> at the main page of device manager.
- Check the camera from the list.
~ Check MAC address at the sticker attached to the camera.
CONFIGURING IP ADDRESS
If you want to change camera network setting, <Login OK> sign must be displayed at <Status>.
Click <Authentication> at the main page to log in.
Configuring Static IP
Manually insert and configure IP address & port information.
- Click the camera from the list that you want the change the IP setting.
- Click <IP Assign> at the main page of device manager.
- Select <Assign the following IP address>.
~ IP information of the camera will be displayed as previously set. - Fill in IP & Port related categories.

If not using a Broadband Router
For setting <IP Address>, <Subnet Mask>, and <Gateway>, contact your network administrator.
~ HTTP Port : Used to access the camera using the Internet browser, defaulted to 80.
~ RTSP Port: A port that controls real-time streaming. The initial value is 554.
If using a Broadband Router
~ IP Address : Enter an address falling in the IP range provided by the Broadband Router. ex) 192.168.1.2~254, 192.168.0.2~254, 192.168.XXX.2~254
~ Subnet Mask : The <Subnet Mask> of the Broadband Routerwill be the <Subnet Mask> of the camera.
~ Gateway : The <Local IP Address> of the Broadband Router will be the <Gateway> of the camera.

The settings may differ depending on the connected Broadband Router model.
For more information, refer to the user manual of the applicable router.
` For more information about port forwarding of the broadband router, refer to “Port Range Forward (Port Mapping) Setup”.
(Page 19)
If the Broadband Router has more than one camera connected
Configure the IP related settings and the Port related settings distinctly with each other. ex)
| Category | Camera #1 | Camera #2 | |
| IP related settings | IP Address Subnet Mask Gateway | 192.168.1.100 255.255.255.0 192.168.1.1 | 192.168.1.101 255.255.255.0 192.168.1.1 |
| Port related settings | HTTP Port RTSP Port | 8080 554 | 8081 555 |
` If the <HTTP Port> is set other than 80, you must provide the <Port> number in the address bar of the Internet browser before you can access the camera.
ex) http://IP.address : HTTP Port http://192.168.1.100:8080
5. Click [Apply] Button.
6. If the success message is displayed, click [OK].
Configuring Dynamic IP
Receive IP address from DHCP
~ Example of the Dynamic IP environment
– If a Broadband Router, with cameras connected, is assigned an IP address by the DHCP server
– If connecting the camera directly to modem using the DHCP protocols
– If IPs are assigned by the internal DHCP server via the LAN
- Click the camera from the list that you want to change the IP setting.
- Click <IP Assign> at the main page of device manager.
- Select <Obtain an IP address automatically (DHCP)>.
- Click [Apply] button.
- If the success message is displayed, click [OK].

MANUALLY REGISTERING CAMERA
If the camera cannot be found using search function, the camera can be registered remotely by manually inserting IP information, if the camera is connected to external network.
- Click <Add Devices> – <Manually Add Device> at the main page of device manager.
- Insert the range of IP address that you search.
- Select the <Model Name> of the camera that you register, and insert HTTP port, ID, and password.
- Click [Register] button.
- Check if camera is registered.
~ Check MAC address at the sticker attached to the camera.

AUTOMATICALLY CONFIGURING IP
- Click the camera from the list that you want to automatically configure the IP.
- Click < + > at the main page of device manager.
~ Equipment Setting menu appears. - At the menu, click <Auto IP Configure>.
- Click [Close] button.

PORT RANGE FORWARD (PORT MAPPING) SETUP
If you have installed a Broadband Router with a camera connected, you must set the port range forwarding on the Broadband Router so that a remote PC can access the camera in it.
Manual Port Range Forwarding
- From the Setup menu of the Broadband Router, select <Applications & Gaming> – <Port Range Forward>.
For setting the port range forward for a third-party Broadband Router, refer to the user guide of that Broadband Router. - Select <TCP> and <UDP Port> for each connected camera to the Broadband Router.
The number of each port to be configured to the IP router should be set according to the port number designated in <Setup> – <Basic> – <IP & Port> on the camera web viewer. - When done, click [Save Settings]. Your settings will be saved.

` Port forwarding setting is an example of setting CISCO IP router.
` The settings may differ depending on the connected Broadband Router model.
For more information, refer to the user manual of the applicable router.
Setting up Port Range Forward for several network cameras
~ You can set a rule of Port Forwarding on the Broadband Router device through its configuration web page.
~ A user can change each port using the camera setting screen.
When Camera1 and Camera2 are connected to a router :

Port forwarding can be done without additional router setup if the router supports the UPnP (Universal Plug and Play) function.
After connecting the network camera, select the checkbox from the menu <Quick connect> in <Wisenet DDNS> in “Settings ; Network ; DDNS”.
CONNECTING TO THE CAMERA FROM A SHARED LOCAL PC
- Run device manager.
It will scan for connected cameras and display them as a list. - Double-click a camera to access.
The Internet browser starts and connects to the camera.
Access to the camera can also be gained by typing the camera’s IP address in the address bar of the Internet browser.
CONNECTING TO THE CAMERA FROM A REMOTE PC VIA THE INTERNET
On a remote computer that is not in the Broadband Router’s network cluster is not allowed, users can access cameras within a Broadband Router’s network by using the camera’s DDNS URL.
- Before you can access a camera in the Broadband Router network, you should have set the port range forward for the Broadband Router.
- From the remote PC, launch the Internet browser and type the DDNS URL address of the camera, or the IP address of the Broadband Router in the address bar.
ex) http://ddns.hanwha-security.com/ID
To use Wisenet DDNS, sign up at the Wisenet DDNS homepage (http://ddns.hanwha-security.com) and register the product at [My DDNS]>[Register Product].
CONNECTING TO THE CAMERA
Normally, you would
- Launch the Internet browser.
- Type the IP address of the camera in the address bar.
ex) ~ IP address (IPv4) : 192.168.1.100 ; http://192.168.1.100
– the Login dialog should appear.
~ IP address (IPv6) : 2001:230:abcd:ffff:0000:0000:ffff:1111
http://[2001:230:abcd:ffff:0000:0000:ffff:1111]
– the Login dialog should appear.

If the HTTP port is other than 80
- Launch the Internet browser.
- Type the IP address and HTTP port number of the camera in the address bar.
ex) IP address : 192.168.1.100:HTTP Port number(8080)
; http://192.168.1.100:8080 – the Login dialog should appear.
Using URL
- Launch the Internet browser.
- Type the DDNS URL of the camera in the address bar.
ex) URL address : http://www.samsungipolis.com/Product ID
– the Login dialog should appear.
Network connection is disabled in the LAN only environment.
Connecting via UPnP
- Run the client or operating system in support of the UPnP protocol.
- Click the camera name for search.
In the Windows operating system, click the camera name searched from the network menu.
– The login window is displayed.
Connecting via Bonjour
- Run the client or operating system in support of the Bonjour protocol.
- Click the camera name for search.
In the Mac operating system, click the camera name searched from the Bonjour tab of Safari.
– The login window is displayed.
To check the DDNS address
If the camera is connected directly to a DHCP-based cable modem or DSL modem, the IP address will change each time it tries to connect to the ISP (the company you subscribed to). If this is the case, you will not be informed of the IP address changed by DDNS.
Once you register a dynamic IP-based device with the DDNS server, you can easily check the changed IP when you try to access the device.
To register your device to the <DDNS> server, visit www.samsungipolis.com and register your device first, and then set the Web Viewer’s <Network> – <DDNS> to <Wisenet DDNS>, as well as providing <Product ID> that had been used for DDNS registration.
PASSWORD SETTING
When you access the product for the first time, you must register the login password.
For a new password with 8 to 9 digits, you must use at least 3 of the following: uppercase/lowercase letters, numbers and special characters. For a password with 10 to 15 digits, you must use at least 2 types of those mentioned.
– Special characters that are allowed. : ~`!@#$%^*()_-+=|{}[].?/
` For higher security, you are not recommended to repeat the same characters or consecutive keyboard inputs for your passwords.
` If you lost your password, you can press the [RESET] button to initialize the product. So, don’t lose your password by using a memo pad or memorizing it.

LOGIN
Whenever you access the camera, the login window appears. Enter the User ID and password to access the camera.
- Enter “admin” in the <User name> input box.
The administrator ID, “admin”, is fixed and can not be changed. - Enter the password in the <Password> input field.
- Click [Sign in].
If you have logged in successfully, you will the Live Viewer screen.

When you access the camera web viewer, pay special attention to the security by checking whether the image data is encrypted.
You will experience the best video quality if the screen size is 100%. Reducing the ratio may cut the image on the borders.
CAMERA WEB VIEWER SETUP
- Click the [Setup (
)] icon. - The Settings window appears.
- You can configure settings for the camera’s basic information, video, audio, network, event, analysis, and system over the network.
- Click <Help (
)> to view detailed descriptions of each function.
TROUBLESHOOTING
| PROBLEM | SOLUTION |
| No operation | •Check the power source. Make sure the power supply termination. |
| No network | •Check the RJ45 cable termination. |
| Cannot control the device | •Check the power source. Make sure the power supply termination. |
| When an Windows 10 user accesses the web viewer through Chrome or Firefox, the sound volume of microphone changes periodically. | •This is what happens when microphone driver has been set to Realtek driver. Install the High Oefinition Audio device (Windows Oefault Driver) or the third party driver as the microphone driver. |
| No video is displayed when accessing the plug-In free webviewer on Safari via HIPS. | •On the authentication popup window prompted when initially accessing https, click “View Authentication Certificate” and select the “Always trust when connecting to the designated webviewer r check box. •If the webviewer continues failing to display a video after you select -Next on the message window below, press the command key + Q to exit the Safari browser, access again and follow the procedures stated above. |
| I can’t access the camera from a web browser. | •Check to make sure that the camera’s Network settings are appropriate. •Check to make sure that all network cables have been connected properly. •If connected using DHCP, verify that the camera is able to acquire dynamic IP addresses without any problem. •If the camera is connected to a Broadband Router, verify that port fonvarcing is properly configured. |
| Viewer got disconnected during monitoring. | •Connected Viewers become disconnected upon any change to camera or network configurations. •Check all network connections. |
| The camera connected to the network Is not detected in the Device Manager Program. | •Turn off the firma!l settings on your PC and then search the camera again. |
| Images overlap. | •Check whether two or more cameras are set to a single multicast address instead of different addresses. If a single address is used for multiple cameras, the images may overlap. |
| No Image appears. | •If the transmission method is set to multicast, check whether there is a router that supports multicast in the LAN the camera is connected to. |
| Voice Is not recorded even though audio Input settings are conligured. | •You must enable the <Audio In> check box in <Basic> – <Video Profile>. |
| <Motion detection> of <Analytics> Is set to <Enable>, but no notification e-mail reaches me even when an analysis event had occurred. | •Veri the settings in the following sequence: A. Check <Data & Time> settings. B. The <Motion detection> should be set to <Enable>. C. Check if the <E-mail> option of <Event setup> menu is checked to use. |
| No signal Is found at the Alarm Output port even when an Intelligent video analysis event Is generated. | •Check alarm output port settings. |
| Cannot record In the NAS. | •Confirm that the information registered in the NAS is correct. |
| It report that NAS setting has failed. | •Confirm that the IP address of the NAS is valid. •Confirm that the ID/password of the NAS is valid. •Confirm that you can access the folder designated as the default folder using the ID of the NAS. •Confirm that the NASSMB/CIFS items are unchecked. •Confirm that the NAS IP address and the camera IP address are in the same format. ex) The NAS & camera subnet mask initial value is 255.255.255.0. If the IP address is 192.168.20.32 then the MS IP address should be in the range of 192.168.20.1-192.168.20.255. •Check whether you tried to access as another user without formatting the default folder saved or used. •Confirm that you used recommended NAS equipment. |
Any changes or modifications in construction of this device which are not expressly approved by the party responsible for compliance could void the user’s authority to operate the equipment.
This device complies with part 15 of the FCC Rules. Operation is subject to the following two conditions: (1) This device may not cause harmful nterference, and (2) this device must accept any interference received, including interference that may cause undesired operation.
This equipment has been tested and found to comply with the limits for a Class A digital device, pursuant to part 15 of the FCC Rules. These limits are designed to provide reasonable protection against harmful interference when the equipment is operated in a commercial environment.
This equipment generates, uses, and can radiate radio frequency energy and, if not installed and used in accordance with the instruction manual, may cause harmful interference to radio communications. Operation of this equipment in a residential area is likely to cause harmful interference in which case the user will be required to correct the interference at his own expense.
Hanwha Techwin cares for the environment at all product manufacturing stages, and is taking measures to provide customers with more environmentally friendly products.
The Eco mark represents Hanwha Techwin’s devotion to creating environmentally friendly products, and indicates that the product satisfies the EU RoHS Directive.
Correct Disposal of This Product (Waste Electrical & Electronic Equipment)
(Applicable in the European Union and other European countries with separate collection systems)
This marking on the product, accessories or literature indicates that the product and its electronic accessories (e.g. charger, headset, USB cable) should not be disposed of with other household waste at the end of their working life. To prevent possible harm to the environment or human health from uncontrolled waste disposal, please separate
these items from other types of waste and recycle them responsibly to promote the sustainable reuse of material resources.
Household users should contact either the retailer where they purchased this product, or their local government office, for details of where and how they can take these items for environmentally safe recycling. Business users should contact their supplier and check the terms and conditions of the purchase contract. This product and its electronic accessories should not be mixed with other commercial wastes for disposal.
Correct disposal of batteries in this product
(Applicable in the European Union and other European countries with separate battery return systems.)
This marking on the battery, manual or packaging indicates that the batteries in this product should not be disposed of with other household waste at the end of their working life. Where marked, the chemical symbols Hg, Cd or Pb indicate that the battery contains mercury, cadmium or lead above the reference levels in EC Directive 2006/66. If batteries are not properly disposed of, these substances can cause harm to human health or the environment.
To protect natural resources and to promote material reuse, please separate batteries from other types of waste and recycle them through your local, free battery return system.















<Standard method to install camera and washer pump>

















