Einhell GE-GS 18-150 Li-Solo Cordless Tree Pruning Saw

Danger!
When using the equipment, a few safety precautions must be observed to avoid injuries and damage. Please read the complete operating instructions and safety regulations with due care. Keep this manual in a safe place, so that the information is available at all times. If you give the equipment to any other person, hand over these operating instructions and safety regulations as well. We cannot accept any liability for damage or accidents which arise due to a failure to follow these instructions and the safety instructions.
Explanation of the symbols used (see Fig. 8)
- Danger! – Read the operating instructions to reduce the risk of injury.
- Caution! Wear ear-muff s. The impact of noise can cause damage to hearing.
- Caution! Wear a breathing mask. Dust that is injurious to health can be generated when working on wood and other materials. Never use the device to work on any materials containing asbestos!
- Caution! Wear safety goggles. Sparks generated during working or splinters, chips, and dust emitted by the device can cause loss of sight.

Safety regulations
The corresponding safety information can be found in the enclosed booklet.
Warning!
Read all the safety information, instructions, illustrations, and technical data provided on or with this power tool. Failure to adhere to the following instructions may result in electric shock, fire, and/or serious injury.
Keep all the safety information and instruc-tions in a safe place for future use.
Layout and items supplied
Layout (Fig. 1/2)
- On/Off switch
- Locking button for On/Off switch
- Soleplate
- Blade holder
- Branch jaw clamp
- Saw blade
- Safety guard
- Latching bolt
- Battery mount
- Belt clip


Items supplied
Please check that the article is complete as specifi ed in the scope of delivery. If parts are missing, please contact our service center or the sales outlet where you made your purchase at the latest within 5 working days after purchasing the product and upon presentation of a valid bill of purchase. Also, refer to the warranty table in the service information at the end of the operating instructions.
- Open the packaging and take out the equip-ment with care.
- Remove the packaging material and any packaging and/or transportation braces (if available).
- Check to see if all items are supplied.
- Inspect the equipment and accessories for transport damage.
- If possible, please keep the packaging until the end of the guarantee period.
Danger!
The equipment and packaging material are not toys. Do not let children play with plastic bags, foils or small parts. There is a danger of swallowing or suffocating!
- Cordless tree pruning saw
- Saw blade for wood (2x)
- Original operating instructions
- Safety instructions
Proper use
The cordless tree pruning saw is designed for sawing wood, iron, non-ferrous metals, and plastics using the appropriate saw blades.
The equipment is to be used only for its prescribed purpose. Any other use is deemed to be a case of misuse. The user/operator and not the manufacturer will be liable for any damage or injuries of any kind caused as a result of this. Please note that our equipment has not been designed for use in commercial, trade, or industrial applications. Our warranty will be voided if the machine is used in commercial, trade, or industrial businesses or for equivalent purposes.
Technical data
- Motor power supply: …………………………. 18 V DC
- Stroke speed: ……………………………..0-2600 min-1
- Stroke height: …………………………………….. 20 mm
- Cutting depth without branch jaw clamp: 100 mm
- Cutting depth with branch jaw clamp: …….. 80 mm
- Maximum saw blade width: …………………. 1.6 mm
- Weight: ………………………………………………..1.3 kg
Caution!
The equipment is supplied without batteries and without a charger and is allowed to be used only with the lithium-ion batteries of the Power X-Change series! The lithium-ion batteries of the Power X-Change series are allowed to be charged only with the Power-X charger.
Danger!
Sound and vibration
Sound and vibration values were measured in accordance with EN 62841.
- LpA sound pressure level ………………… 78.0 dB(A)
- KpA uncertainty ………………………………………5 dB
- LWA sound power level ………………….. 89.0 dB(A)
- KWA uncertainty ………………………………………5 dB
Wear ear-muffs.
The impact of noise can cause damage to hearing.
- Total vibration values (vector sum of three directions) determined in accordance with EN 62841.
- Vibration emission value ah = 13.0 m/s2
- K uncertainty = 1.5 m/s2
- The stated vibration emission levels and stated noise emission values were measured in ac-cordance with a set of standardized criteria and can be used to compare one power tool with another.
- The stated vibration emission levels and stated noise emission values can also be used to make an initial assessment of exposure.
Warning:
The vibration and noise emission levels may vary from the level specifi ed during actual use, depending on the way in which the power tool is used, especially the type of workpiece it is used for.
Keep the noise emissions and vibrations to a minimum.
- Only use appliances that are in perfect working order.
- Service and clean the appliance regularly.
- Adapt your working style to suit the appliance.
- Do not overload the appliance.
- Have the appliance serviced whenever ne-cessary.
- Switch the appliance off when it is not in use.
- Wear protective gloves.
Caution!
Residual risks
Even if you use this electric power tool in accordance with instructions, certain residual risks cannot be ruled out. The following hazards may arise in connection with the equipment’s construction and layout:
- Lung damage if no suitable protective dust mask is used.
- Damage to hearing if no suitable ear protection is used.
- Health damage is caused by hand-arm vibrations if the equipment is used over a prolonged period or is not properly guided and maintained.
Before starting the equipment
Warning!
Always remove the battery pack before making adjustments to the equipment.
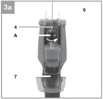
Changing the saw blade (Fig. 3a)

Warning!
Switch off the cordless tree pruning saw and pull out the battery pack each time before doing any work on the machine and before changing the blade.
- Open the safety guard (Fig. 3a/Item 7) by pressing it together slightly at the front and then swinging it up.
- Turn the ring (A) on the blade holder (4) as shown in Fig. 3a until the blade (6) lets itself be slipped into the slot of the blade holder (4). When you now let go of ring (A) again, ring (A) should return to its starting position. If this fails to happen, try turning the ring (A) by hand into its starting position.
Now pull on the blade to check whether it is tightly seated in the holder.
Fitting the branch jaw clamp (Fig. 3b)
The branch jaw clamp (Fig. 1/Item 5) helps you to guide the machine when cutting branches. The machine can be used either with or without the branch jaw clamp.

- To fit, the branch jaw clamp, first push it into the lower mount of the soleplate.
- Push together the fastener of the latching bolt.
- Push the branch jaw clamp with the latching bolt into the mount of the soleplate. Make sure the latching bolt latches home and that the branch jaw clamp is securely seated.
Charging the Li battery pack (Fig. 4-5)
- Remove the battery pack (A) from the handle, pressing the push lock button (B) downwards to do so.
- Check that your mains voltage is the same as that marked on the rating plate of the battery charger. Insert the power plug of the charger (C) into the socket outlet. The green LED will then begin to blink.
- Push the battery pack onto the battery charger.


In section 10 (Charger indicator) you will find a table with an explanation of the LED indicator on the charger.
If the battery pack fails to charge, check for the following:
- the voltage at the power socket
- whether there is good contact at the charging contacts of the charging unit.
If the battery pack still fails to charge, send
- the charger and charging adapter
- and the battery pack to our customer service center.
To ensure that items are properly packaged and delivered when you send them to us, please contact our customer service or the point of sale at which the equipment was purchased.
When shipping or disposing of batteries and cordless tools, always ensure that they are packed individually in plastic bags to prevent short circuits and fires.
To ensure that the battery pack provides a long service, you should take care to recharge it promptly. You must recharge the battery pack when you notice that the performance of the device drops. Never allow the battery pack to become fully discharged. This will cause it to develop a defect.
Battery capacity indicator (Fig. 4/Item D) Press the button for the battery capacity indicator (E). The battery capacity indicator (D) will indicate the charge status of the battery by means of 3 LEDs.
All 3 LEDs are lit:
The battery is fully charged.
2 or 1 LED(s) are lit:
The battery has an adequate remaining charge.
1 LED blinks:
The battery is empty, recharge the battery.
All LEDs blink:
The battery temperature is too low. Remove the battery from the equipment, and keep it at room tem-perature for one day. If the fault reoccurs, this means that the rechargeable battery has undergone exhaustive discharge and is defective. Remove the battery from the equipment. Never use or charge a defective battery.
Operation
On/Off switch (Fig. 1/Item 1)
Switching on:
Press the locking button (2) and the On/Off switch (1). Infi nitely variable stroke speed control is possible with the On/Off switch (1). The further you push the switch, the higher the stroke speed.
Switching off:
Release the locking button (2) and the ON/OFF switch (1) at the same time.
Using as a universal saw (Fig. 6)
Place the cordless tree pruning saw on the material you want to cut as shown in Fig. 6. Switch on the cordless tree pruning saw and push the cordless tree pruning saw against the material you want to cut. The cutting speed must be adjusted to the material.

Using as a tree pruning saw (Fig. 7)
Place the tree pruning saw, as shown in Fig. 7, on the branch you want to cut. Switch on the tree pruning saw and push the tree pruning saw against the branch you want to cut. The branch jaw clamp will help you to guide the equipment in a straight line. The cutting speed must be adjusted to the material.

Belt clip
You can use the belt clip (Fig. 1/Item 10) to hang up the equipment, e.g. from your belt. Both your hands are then free and the equipment is always within easy reach.
Cleaning, maintenance, and ordering of spare parts
Hazard!
Always pull out the battery pack before starting any cleaning work.
Cleaning
- Keep all safety devices, air vents, and the motor housing free of dirt and dust as far as possible. Wipe the equipment with a clean cloth or blow it with compressed air at low pressure.
- We recommend that you clean the device immediately each time you have finished using it.
- Clean the equipment regularly with a moist cloth and some soft soap. Do not use cleaning agents or solvents; these could attack the plastic parts of the equipment. Ensure that no water can seep into the device. The ingress of water into an electric tool increases the risk of an electric shock.
Maintenance
There are no parts inside the equipment that require additional maintenance.
Ordering replacement parts:
Please quote the following data when ordering replacement parts:
- Type of machine
- Article number of the machine
- Identification number of the machine
- Replacement part number of the part required For our latest prices and information please go to www.Einhell-Service.com.
Disposal and recycling
The equipment is supplied in packaging to prevent it from being damaged in transit. The raw materials in this packaging can be reused or recycled. The equipment and its accessories are made of various types of material, such as metal and plastic. Never place defective equipment in your household refuse. The equipment should be taken to a suitable collection center for proper disposal. If you do not know the whereabouts of such a collection point, you should ask in your local council offices.
Storage
Store the equipment and accessories in a dark and dry place at freezing temperatures. The ideal storage temperature is between 5 and 30 °C. Store the electric tool in its original packaging.
Charger indicator
| Indicator status | Explanations and actions | |
| Red LED | Green LED | |
| Off | Flashing | Ready for use The charger is connected to the mains and is ready for use; there is no battery pack in the charger |
| On | Off | Charging The charger is charging the battery pack in quick charge mode. The charging times are shown directly on the charger. |
| Off | On | The battery is charged and ready for use. (READY TO GO) The unit then changes over to gentle charging mode until the battery is fully charged. To do this, leave the rechargeable battery on the charger for approx. 15 minutes longer. Action: Take the battery pack out of the charger. Disconnect the charger from the main supply. |
| Flashing | Off | Adapted charging The charger is in gentle charging mode. For safety reasons, the charging is performed less quickly and takes more time. The reasons can be: – The rechargeable battery has not been used for a very long time. – The battery temperature is outside the ideal range. Action: Wait for the charging to be completed; you can still continue to charge the battery pack. |
| Flashing | Flashing | Fault Charging is no longer possible. The battery pack is defective. Action: Never charge a defective battery pack. Take the battery pack out of the charger. |
| On | On | Temperature fault The battery pack is too hot (e.g. due to direct sunshine) or too cold (below 0° C). Action: |
For EU countries only
Never place any electric power tools in your household refuse.
To comply with European Directive 2012/19/EC concerning old electric and electronic equipment and its implementation in national laws, old electric power tools have to be separated from other waste and disposed of in an environment-friendly fashion, e.g. by taken to a recycling depot.
Recycling alternative to the return request:
As an alternative to returning the equipment to the manufacturer, the owner of the electrical equipment must make sure that the equipment is properly disposed of if he no longer wants to keep the equipment. The old equipment can be returned to a suitable collection point that will dispose of the equipment in accordance with the national recycling and waste disposal regulations. This does not apply to any accessories or aids without electrical components supplied with the old equipment.
Please note that batteries and lamps (e.g. light bulbs) must be removed from the tool before it is dispo-sed.
The reprinting or reproduction by any other means, in whole or in part, of documentation and papers accompanying products, is permitted only with the express consent of Einhell Germany AG.
Subject to technical changes
Service Information
We have competent service partners in all countries named on the guarantee certifi cate whose contact details can also be found on the guarantee certifi cate. These partners will help you with all service requests such as repairs, spare and wearing part orders or the purchase of consumables.
Please note that the following parts of this product are subject to normal or natural wear and that the following parts are therefore also required for use as consumables.
| Category | Example |
| Wear parts* | Battery |
| Consumables* | Saw blade |
| Missing parts |
Not necessarily included in the scope of delivery!
In the effect of defects or faults, please register the problem on the internet at www.Einhell-Service.com. Please ensure that you provide a precise description of the problem and answer the following questions in all cases:
- Did the equipment work at all or was it defective from the beginning?
- Did you notice anything (symptom or defect) prior to the failure?
- What malfunction does the equipment have in your opinion (main symptom)? Describe this malfunction.
Warranty certifi cate
Dear Customer,
All of our products undergo strict quality checks to ensure that they reach you in perfect condition. In the unlikely event that your device develops a fault, please contact our service department at the address shown on this guarantee card. You can also contact us by telephone using the service number shown. Please note the following terms under which guarantee claims can be made:
- These guarantee terms apply to consumers only, i.e. natural persons intending to use this product neither for their commercial activities nor for any other self-employed activities. These warranty terms regulate additional warranty services, which the manufacturer mentioned below promises to buyers of its new products in addition to their statutory rights of guarantee. Your statutory guarantee claims are not affected by this guarantee. Our guarantee is free of charge to you.
- The warranty services cover only defects due to material or manufacturing faults on a product that you have bought from the manufacturer mentioned below and are limited to either the rectifi cation of said defects on the product or the replacement of the product, whichever we prefer.
Please note that our devices are not designed for use in commercial, trade, or professional applications. A guarantee contract will not be created if the device has been used by commercial, trade, or industrial businesses or has been exposed to similar stresses during the guarantee period. - The following are not covered by our guarantee:
- Damage to the device caused by a failure to follow the assembly instructions or due to incorrect installation, a failure to follow the operating instructions (for example connecting it to an incorrect mains voltage or current type), or a failure to follow the maintenance and safety instructions or by exposing the device to abnormal environmental conditions or by lack of care and maintenance.
- Damage to the device caused by abuse or incorrect use (for example overloading the device or the use of unapproved tools or accessories), ingress of foreign bodies into the device (such as sand, stones or dust, transport damage), the use of force or damage caused by external forces (for example by dropping it).
- Damage to the device or parts of the device caused by normal or natural wear or tear or by normal use of the device.
- The guarantee is valid for a period of 24 months starting from the purchase date of the device. Guarantee claims should be submitted before the end of the guarantee period within two weeks of the defect being noticed. No guarantee claims will be accepted after the end of the guarantee period. The original guarantee period remains applicable to the device even if repairs are carried out or parts are replaced. In such cases, the work performed or parts fitted will not result in an extension of the guarantee period, and no new guarantee will become active for the work performed or parts fitted. This also applies if an on-site service is used.
- To make a claim under the guarantee, please register the defective device at:
www.Einhell-Service.com. Please keep your bill of purchase or other proof of purchase for the new device. Devices that are returned without proof of purchase or without a rating plate shall not be covered by the guarantee, because appropriate identifi cation will not be possible. If the defect is covered by our guarantee, then the item in question will either be repaired immediately and returned to you or we will send you a new replacement.
Of course, we are also happy off er a chargeable repair service for any defects which are not covered by the scope of this guarantee or for units that are no longer covered. To take advantage of this service, please send the device to our service address.
Also refer to the restrictions of this warranty concerning worn parts, consumables, and missing parts as set out in the service information in these operating instructions.
Declaration of conformity: We declare conformity in accordance with the EU directive and standards for article
Akku-Astsäge* GE-GS 18/150 Li (Einhell)
- 2014/29/EU
- 2005/32/EC_2009/125/EC
- (EU)2015/1188
- 2014/35/EU
- 2006/28/EC
- X 2014/30/EU
- 2014/32/EU
- 2014/53/EU
- 2014/68/EU
- (EU)2016/426
Notified Body: - (EU)2016/425
- X 2011/65/EU_(EU)2015/863
- X 2006/42/EC
- Annex IV
Notified Body:
Reg. No.:
- Annex IV
- 2000/14/EC_2005/88/EC
- Annex V
- Annex VI
Noise: measured LWA = dB (A); guaranteed LWA = dB (A)
P = kW; L/Ø = cm
Notified Body:
- 2012/46/EU_(EU)2016/1628
Emission No.:
Standard references: EN 62841-1; EN 62841-2-11; EN IEC 55014-1; EN IEC 55014-2
ISC GmbH · Eschenstraße 6 · D-94405 Landau/Isar
Landau/Isar, den 26.04.2022
First CE: 2022
- Art.-No.: 34.082.90
- I.-No.: 21011
- Subject to change without notice
- Archive-File/Record: NAPR023022
- Documents registrar: Thomas Fischer Wiesenweg 22, D-94405 Landau/Isar
Cordless tree pruning saw.
Declaration of conformity
We, Einhell UK Ltd
Champions Business Park, First Floor Unit 10, Arrowe Brook Rd, Upton, Wirral CH49 0AB, United Kingdom declare the conformity to UK standards and legislation was assessed for:
Cordless Pruning Saw GE-GS 18/150 Li (Einhell)
UK Legislation
- Simple Pressure Vessels (Safety) Regulation
- Electrical Equipment (Safety) Regulation
- Radio Equipment Regulation
- Personal Protective Equipment Regulation
- X Electromagnetic Compatibility Regulation
- Measuring Instruments Regulation
- Pressure Equipment (Safety) Regulation
- The Ecodesign for Energy-Related Products and Energy Information Regulation
- X The Restriction of the Use of Certain Hazardous Substances in Electrical and Electronic Equipment Regulation
- Noise Emission in the Environment by Equipment for use Outdoors Regulation
- Annex V
- Annex VI
Noise: measured LWA = dB (A); guaranteed LWA = dB (A)
P = kW; L/Ø = cm
UK Approved Body:
- Supply of Machinery (Safety) Regulation
- Annex IV
UK Approved Body:
UKTE Certifi cate No.:
- Annex IV
Standards: BS 62841-1; BS 62841-2-11; BS 55014-1; BS 55014-2
Wirral, 2022.04.26
- Article Number: 34.082.90
- I.-No.: 21011
Subject to change without notice
- Archive-File/Record: NAPR023022
- Documents registrar: Thomas Fischer
Wiesenweg 22, 94405 Landau/Isar, Germany.




















