
Programmable Controller PCB1
No. PCB11JE5 2022.05
INSTRUCTION MANUAL
PCB1 Programmable Controller
For detailed usage and options, refer to the full Instruction Manual for the PCB1. Please download the full Instruction Manual from Shinko website.
https://shinko-technos.co.jp/e/Support & Downloads Downloads Manuals
Thank you for purchasing our PCB1, Programmable Controller. This manual contains instructions for the mounting, functions, operations and notes when operating the PCB1. To ensure safe and correct use, thoroughly read and understand this manual before using this instrument. To prevent accidents arising from the misuse of this instrument, please ensure the operator receives this manual.
Safety Precautions
(Be sure to read these precautions before using our products.)
The safety precautions are classified into 2 categories: “Warning” and “Caution”.
Warning: Procedures which may lead to dangerous conditions and cause death or serious injury, if not carried out properly.
Caution: Procedures which may lead to dangerous conditions and cause superficial to medium injury or physical damage or may degrade or damage the product, if not carried out properly.
Warning
- To prevent an electrical shock or fire, only Shinko or other qualified service personnel may handle the inner assembly.
- To prevent an electrical shock, fire or damage to the instrument, parts replacement may only be undertaken by Shinko or other qualified service personnel.
Safety Precautions
- To ensure safe and correct use, thoroughly read and understand this manual before using this instrument.
- This instrument is intended to be used for industrial machinery, machine tools and measuring equipment. Verify correct usage after purpose-of-use consultation with our agency or main office. (Never use this instrument for medical purposes with which human lives are involved.)
- External protection devices such as protective equipment against excessive temperature rise, etc. must be installed, as malfunction of this product could result in serious damage to the system or injury to personnel. Proper periodic maintenance is also required.
- This instrument must be used under the conditions and environment described in this manual. Shinko Technos Co., Ltd. does not accept liability for any injury, loss of life or damage occurring due to the instrument being used under conditions not otherwise stated in this manual.
Installation Precautions
[This instrument is intended to be used under the following environmental conditions (IEC61010-1)]: Overvoltage category , Pollution degree 2
Ensure the mounting location corresponds to the following conditions:
• A minimum of dust, and an absence of corrosive gases
• No flammable, explosive gases
• No mechanical vibrations or shocks
• No exposure to direct sunlight, an ambient temperature of -10 to 55°C (14 to 131)°F
• An ambient non-condensing humidity of 35 to 85 %RH (Non-condensing)
• No large capacity electromagnetic switches or cables through which large current is flowing
• No water, oil or chemicals or the vapors of these substances can come into direct contact with the unit
• Please note that the ambient temperature of this unit – not the ambient temperature of the control panel – must not exceed 55°C (131°F) if mounted through the face of a control panel, otherwise the life of electronic components (especially electrolytic capacitors) may be shortened.
Caution with Respect to Export Trade Control Ordinance
To avoid this instrument from being used as a component in, or as being utilized in the manufacture of weapons of mass destruction (i.e. military applications, military equipment, etc.), please investigate the end users and the final use of this instrument. In the case of resale, ensure that this instrument is not illegally exported.
Specifications
| Power supply voltage | 100 to 240 V AC 50/60 Hz, Allowable fluctuation: 85 to 264 V AC 24 V AC/DC 50/60 Hz, Allowable fluctuation: 20 to 28 V AC/DC |
| Base accuracy (At ambient temperature 23 :, for a single unit mounting) | Thermocouple: Within ± 0.2% of each input span±1 digit However, R, S inputs, 0 to 200-c(32 to 392 °F): Within ±6-c(12 1) B input, 0 to 300°C (32 to 572 °F): Accuracy is not guaranteed. K, J, E, T, N inputs, Less than fic (32 °F): Within ±0.4% of input span’ ±1 digit RTD: Within ± 0.1% of each input span ± 1 digit Direct current, DC voltage inputs: Within ± 0.2% of each input span ± 1 digit |
| Effect of ambient temperature | Within 50 ppm/t of each input span |
| Input sampling period | 125 ms |
| Time accuracy | Within , 0.5% of setting time |
| Power consumption | 100 to 240 V AC: Approx.8 VA max.(11 VA max. if max. options are added) 24 V AC: Approx. 5 VA max. (8 VA max. if max. options are added) 24 V DC: Approx. 5 W max. (8 W max. if max. options are added) |
| Ambient temperature | -10 to 55: (However, no icing, non-condensing) |
| Ambient humidity | 35 to 85 %RH (However, non-condensing) |
| Altitude | 2,000 m or less |
| Weight | Approx. 220 g |
| Accessories | Mounting bracket: 1 set Instruction manual excerpt: 1 copy |
| Control output OUT1 | Relay contact: la, Control capacity, 3 A 250 V AC (resistive load) 1 A 250 V AC (inductive load cosØ=0.4), Electric life: 100,000 cycles, Minimum applicable load: 10 mA 5 V DC Non-contact voltage (for SSR drive): 12 V DC ± 15%, Max. 40 mA (short circuit protected) Direct current:4 to 20 mA DC (Resolution: 12000), Load resistance: Max. 550 Ω |
| Event output EV❑ | Relay contact: la, Control capacity: 3 A 250 V AC (resistive load) 1 A 250 V AC (inductive load cost=Ø.4) Electric life: 100,000 cycles, Minimum applicable load: 10 mA 5 V DC |
| Control output OUT2 [EV2(DR), DS, DA, | Relay contact: la, Control capacity: 3 A 250 V AC (resistive load) 1 A 250 V AC (inductive load costhØ=0.4) Electric life: 100,000 cycles, Minimum applicable load: 10 mA 5 V DC (If EV2 option is ordered, and 020 is selected in [Event Output EV2 allocation]) Non-contact voltage (for SSR drive): 12 V DC±15%, Max. 40 mA (short circuit protected) Direct current:4 to 20 mA DC (Resolution: 12000) Load resistance: Max. 550 Ω |
| EV3D ■ options] | |
| Transmission output (EIT option) | Output: 4 to 20 mA DC (Resolution: 12000), Load resistance. Max. 550 Ω Output accuracy: Within .0.3% of transmission output span Response time: 400 ms + Input sampling period (0%—’90%) |
| Insulated power output (P24 option) | Output voltage: 24 ± 3 V DC (When load current is 30 mA DC) Ripple voltage: Within 200 mV DC (When load current is 30 mA DC) Max. load current: 30 mA DC |
Dimensions (Scale: mm)
( ): Size when mounting brackets or terminal cover (sold separately) are mounted.

Panel Cutout (Scale: mm)
Caution
If horizontal close mounting is used for the unit, IP66 specification (Drip-proof/Dust-proof) may be compromised, and all warranties will be invalidated.
The torque for the mounting bracket screws should be 0.1 N•m.

Names and Functions

Displays, Indicators
| 1 | PV Display (Red) | Indicates process variable (PV) in RUN mode. I Indicates setting characters in Setting mode. Flashes during Wait action or Holding in program control. |
| 2 | SV Display (Green) | Indicates desired value (SV), Output manipulated variable (MV), or Remaining time (TIME) in RUN mode. Retains display indication at power OFF. Indicates the set values in setting mode. |
| 3 | PTN/STEP Display (Orange) | Indicates the pattem number or step number. Each time the DISP key is pressed, the PTN/STEP Display (®), and the PTN/STEP indicator (®) alternately indicate the pattem number and step number. Flashes during Wait action, or when the step number is indicated. If ‘SV digital reception’ is selected in [Communication protocol], r is indicated. |
| 4 | PTN Indicator (Orange) | Lights up when the pattern number is indicated on the PTN/STEP Display. |
| 5 | STEP Indicator (Orange) | Lights up when the step number is indicated on the PTN/STEP Display. |
| 6 | PTN/STEP Indicator (Green) | LED for the pattern number or step number lights up. If the PTN/STEP Display (Z) indicates the pattern number, the PTN/STEP indicator (8) lights up its step number. If the PTN/STEP Display indicates the step number, the PTN/STEP indicator lights up its pattem number. Each time the DISP key is pressed, the PTN/STEP indicator and the PTN/STEP Display alternately indicate the pattem number and step number. |
Action Indicators
| 7 | OUT (Green) | Lights up when control output OUT1 is ON. For direct current output type, flashes corresponding to the MV in 125 ms cycles. |
| RUN (Orange) | Lights up during program control RUN. Flashes during Program control HOLD or Fixed value control. | |
| EV1 (Red) | Lights up when Event output EV1 is ON. |
| EV2 (Red) | Lights up when Event output EV2 [(EV2, EV3(DR) options] is ON. Lights up when control output OUT2 [Cooling output (EV2, DS, | |
| DA or EV3D■ option)] is ON. | ||
| For direct current output type (DA, EV3DA options), flashes corresponding to the MV in 125 ms cycles. | ||
| EV3 (Red) | Lights up when Event output EV3 (EV3DO, El options) is ON. | |
| AT (Orange) | Flashes while AT is performing. | |
| T/R (Orange) | Lights up during serial communication (C5W, C5 options) TX (transmitting) output. |
Keys, Connector
| 8 | UP key | In setting mode, increases the numerical value. By pressing for approx. 1 second during program control, time progress pauses, and control continues with the SV at that time (Holding function). |
| 9 | DOWN key | In setting mode, decreases the numerical value. |
| 10 | PTN key (Pattern key) | During program control stop (in standby), selects program pattern number to perform or to set. By pressing during program control, moves to Monitor mode. In Monitor mode, switches the indication item. |
| 11 | FAST key | In setting mode, makes the numeric value change faster. During program control, makes step time progress 60 times faster. |
| 12 | DISP key (Display key) | During RUN mode, the PTN/STEP display and PTN/STEP indicator alternately indicates the pattern number and step number. In setting mode, registers the set value, and moves back to the previous mode. |
| 13 | RUN key | Performs program control, or cancels Holding while program control is held. By pressing for approx. 1 second during program control, stops performing step, and proceeds to the next step (Advance function). |
| 14 | STOP key | Stops program control by pressing for approx. 1 sec during program control, or cancels pattern end output. |
| 15 | RST(Reset) key | In setting mode, registers the set value, and moves to RUN mode. |
| 16 | MODE key | In setting mode, registers the set value, and moves to the next item. |
| 17 | Tool cable connector | By connecting the Tool cable (CMD-001, sold separately), the following operations can be conducted from an external computer, using the Console software SWM-PCB101 M. • Reading and setting of step SV, step time, PID and various set values • Reading of PV and action status • Function change |
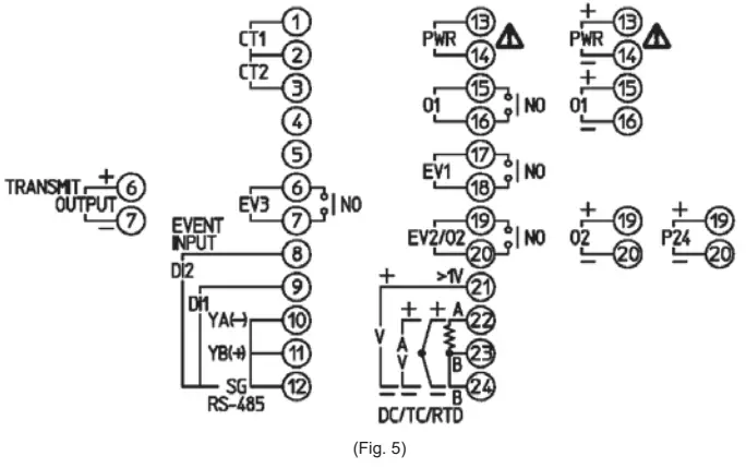
Terminal Arrangement
Caution
Do not pull or bend the lead wire on the terminal side when wiring or after wiring, as it could cause malfunction. Use a solderless terminal with an insulation sleeve in which an M3 screw fits. The torque for the terminal screws should be 0.63 N•m.

| PWR | Power supply voltage 100 to 240 VAC or 24V AC/DC (For 24 V DC, ensure polarity is correct.) |
| 1 | Control output OUT1 |
| EV1 | Event output EV1 |
| EV2 | Event output EV2 [EV2, EV3(DR) options] |
| 2 | Control output OUT2 (EV2, DS, DA, EV3D0 options) |
| P24 | Insulated power output 24 V DC (P24 option) |
| TC | Thermocouple input |
| RTD | RTD input |
| DC | Direct current, DC voltage input |
| CT1 | CT input 1 (C5W, EIW, W options) |
| CT2 | CT input 2 (C5W, EIW, W options) |
| RS-485 | Serial communication RS-485 (C5W, C5 options) |
| EVENT INPUT | Event input DI1 (C5W, EIW, EIT, C5, El options) Event input DI2 (C5W, EIW, EIT, C5, El options) |
| EV3 | Event output EV3 (EV3D0, El options) |
| TRANSMIT OUTPUT | Transmission output (EIT option) |
PCB1 Key Operation Flowchart
About Setting Item
Upper left: PV Display: Indicates setting characters.
Lower left: SV Display: Indicates factory default. Temp
Right side: Indicates setting items.
Shaded setting items are optional, and appear only when the options are ordered.- (*1) Available when 001 (High limit) to 012 (H/L limits with standby independent) are selected in [Event output EV allocation].
- (*2) Available when 004 (H/L limits independent), 006 (H/L limit range independent) or 012 (H/L limits with standby independent) is selected in [Event output EV allocation].
- (*3) Available when 015 (Time signal output) is selected in [Event output EV allocation].
- (*4) Available when SV digital reception (Shinko protocol) is selected in [Communication protocol].
- (*5) Available when direct current or DC voltage input is selected in [Input type].
- (*6) Available when 001(High limit) to 012 (H/L limits with standby independent) – except [007 (Process high) and 008 (Process low)] – are selected in [Event output EV allocation].
Key Operation



SHINKO TECHNOS CO., LTD.
Head office: 2-5-1, Senbahigashi, Minoo, Osaka, 562-0035, Japan
TEL: +81-72-727-6100 FAX: +81-72-727-7006 URL: https://shinko-technos.co.jp/e/ E-mail: [email protected]
Upper left: PV Display: Indicates setting characters.

















