LANA
WALL PLATE AND TABLE BASE
ASSEMBLY & INSTALLATION INSTRUCTIONS
LANA MODELS

NOTE: WALL PLATE INCLUDED WITH EVERY MODEL
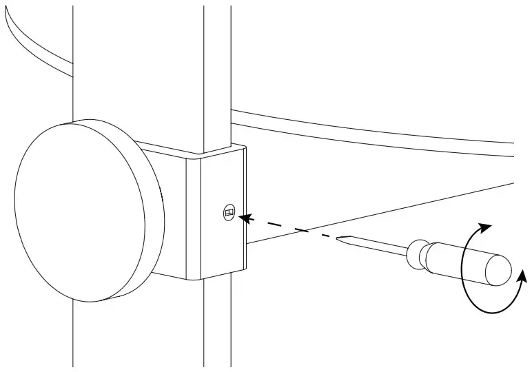
WALL PLATE INSTALLATION
- IF FIXTURE I S BEING INSTALLED ONTO DRYWALL, USE PROVIDED WALL ANCHOR. TAP THE UNTHREADED TIP OF THE WALL ANCHOR INTO THE WALL, THEN USE A PHILLIPS SCREWDRIVER TO COMPLETE INSTALLATION
NOTE: IF MOUNTING ONTO WOODEN STUD, DO NOT USE WALL ANCHOR - FIX WALL PLATE TO THE WALL USING THE PROVIDED SCREW, ENSURE EDGE OF PLATE IS FLUSH WITH WALL
NOTE: WALL PLATE IS INCLUDED WITH EVERY MODEL
TABLE BASE ASSEMBLY
USE PROVIDED 3MM HEX TOOL AND 2 MACHINE SCREWS TO FIX POST TO BASE

FLOOR BASE ASSEMBLY
USE PROVIDED 3MM HEX TOOL AND 3 MACHINE SCREWS TO FIX POST TO BASE

PEDESTAL INSTALLATION (OPTIONAL ACCESSORY)
- USE THE PROVIDED SCREWDRIVER TO UNSCREW CLEAR PLASTIC SET SCREW. SLIDE PEDESTAL OVER FLOOR POST AND TIGHTEN SET SCREW UNTIL IT CONTACTS POST. PEDESTAL SHOULD SLIDE UP AND DOWN EASILY

- SLIDE PEDESTAL TO DESIRED HEIGHT, THEN TIGHTEN KNOB TO FIX IN PLACE

| SHADE INSTALLATION MAGNETIZE SHADE TO WALL PLATE | SHADE INSTALLATION MAGNETIZE SHADE TO TABLE OR FLOOR POST |
![]() | |
ADJUSTMENT

SWITCH FUNCTION
TAP OPTICAL SWITCH BRIEFLY TO CYCLE THROUGH HIGH, LOW AND OFF. PRESS AND HOLD OPTICAL SWITCH TO ACTIVATE FULL RANGE DIM CONTROL. RELEASE FINGER FROM OPTICAL SWITCH WHEN DESIRED LIGHT LEVEL I S REACHED
CARE INSTRUCTIONS
WIPE CLEAN WITH A SOFT DAMP CLOTH. AVOID AMMONIA-BASED CLEANERS
NOTE: CONTACT MANUFACTURER FOR ADDITIONAL PLUG TYPE REQUIREMENTS.
[email protected]
888 MARIN STREET
SAN FRANCISCO, CA
94124
PABLODESIGNS.COM ![]()
NOTE: IF MOUNTING ONTO WOODEN STUD, DO NOT USE WALL ANCHOR
NOTE: WALL PLATE IS INCLUDED WITH EVERY MODEL



















