
Installation Instructions
PICCOLO PORTABLE TABLE LAMP
SKU# 260290
Rated Voltage 3.7V DC, 2W
Thank you for purchasing this quality Lucci product. To ensure correct function and safety, please read and follow all instructions carefully before assembly, installation and use of this product. Please keep instructions for future reference.
Warranty
- This luminaire is covered by a 3-year warranty valid for in-store replacement or refund only.
- The warranty period starts from the date of purchase. Please retain the proof of purchase.
- The warranty is for the luminaire only and does not include the rechargeable battery.
- Warranty will be void if there is any damage due to improper usage or modification to the luminaire.
- Failure to comply with the instructions in this manual may increase the risk of damage or injury and will void the warranty.
Installation Requirements
- Select a suitable location for installation:
- Ensure it is on a flat and stable surface.
- Do not place flammable material near or over the portable luminaire.
- This product is suitable for indoor or outdoor use.
- This luminaire is protected against water penetration to IP44 standards, which is splashing water from any direction.
- The solar panel must have access to direct sunlight to recharge the battery. Avoid any areas where there is possible shading on top of the solar panel.
- Depending on the luminance of the sun, the charging time for the battery via the solar panel is approximately 38 hours.
- The charging time required for the battery via power adapter with a 5VDC 1A output is approximately 4 hours.
NOTE: When the product is used outdoor, it must NOT be charged, and the micro USB charging port must be covered.
NOTE: Ensure an appropriate power adapter is used for charging according to the rated input: 5VDC, 1A.
- The luminaire must not be used if the protective shield or shade has been cracked or damaged. Replace the protective shield or shade before using the luminaire.
- Lay out all the components on a smooth surface and make sure no components are missing before assembling. If parts are missing, return the complete product to the place of purchase for inspection or replacement.
- Check whether the luminaire has been damaged during transport. Do not operate/install any product which appears damaged in any way. Return the complete product to the place of purchase for inspection, repair or replacement.
Installation Directions
- Remove all packaging material from the product and be careful not to throw away accessories that may be hidden within the packaging material. Place the luminaire on a smooth non-scratch surface to help with assembly.
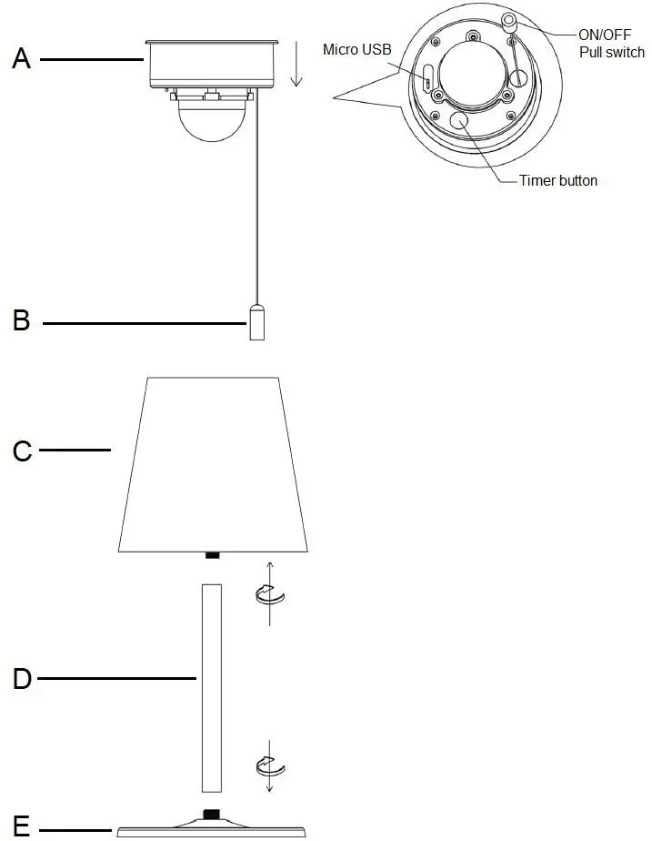
- Install the centre rod (D) onto the base (E), followed by installing the shade (C) onto the centre rod (D).
- The built-in rechargeable battery will need to be charged before using the portable luminaire.
The built-in rechargeable battery can be charged via the solar panel or micro USB port.
SOLAR PANEL CHARGING
Depending on the luminance of the sun, the charging time required for the battery is approximately 38 hours.
The solar panel must have access to direct sunlight to recharge the battery. Avoid any areas where there is possible shading on top of the solar panel.
MICRO USB CHARGING
Power adapter is not included. However you can use any power adapter with a 5VDC 1A output and the supplied cable. The charging time required for the battery via power adapter with a 5VDC 1A output is approximately 4 hours. On the bottom of the LED module, lift the plastic cover to access the micro USB port. When the battery is charging, the LED will be red. When the battery is fully charged, the LED will be green. NOTE: Ensure an appropriate power adaptor is used for charging according to the rated input: 5VDC, 1A.
NOTE: When the product is used outdoor, it must NOT be charged, and the micro USB port must be covered.
NOTE: When the charging has finished, ensure to firmly place the plastic cover back over the mirco USB port to maintain the IP44 rating of the product. - Place the LED module (A) into the top of the shade (C).
- After assembling the portable luminaire and charging is complete, use the pull-cord switch (B) to turn the luminaire on:
1st pull will turn the LED on at 25% brightness.
2nd pull will turn the LED on at 50% brightness.
3rd pull will turn the LED on at 100% brightness.
4th pull will turn OFF the LED. - There is a 2-hour timing function. On the bottom of the LED module (A), press and hold the timer button for more than 5 seconds. After two hours the LED will turn OFF. To cancel the timer function, pull the pull-cord switch (B) once.

Safety Tips
- Always ensure the power is OFF and the luminaire has cooled down before performing any maintenance, cleaning or making any adjustment to the luminaire.
- Young children should be supervised to ensure that they do not play with the luminaire.
- Handle the luminaire with care to avoid any damage or breakage.
- To clean, wipe with a soft damp cloth. Do NOT soak or immerse the luminaire in water or other liquids.
- Ensure that the luminaire does not come in contact with corrosive chemicals/solvents or abrasive cleaners etc.
- The luminaire must not be used if the protective shield or shade has been cracked or damaged. Replace the protective shield or shade before using the luminaire.
- The light source of this luminaire is not replaceable; when the light source reaches its end of life, the whole luminaire shall be replaced. There are no serviceable parts, do not attempt to dismantle or open the luminaire.
- Dispose of exhausted batteries immediately and safely (so they cannot be retrieved by children). Contact your local council to dispose of the battery safely.
Specifications
| SKU # | 260290 |
| Rated Voltage | 3.7V DC |
| Rated Wattage | 2W |
| LED Specs | 60 lumens, Warm White – 3000K, CRI > 80 3 Step Dimming: 25% – 50% – 100% |
| Battery Specs | 18650, 3.7VDC, 2200mAh, Rechargeable Li-ion battery (included) Approximate battery life: 1.5 – 2 years 300 cycles – 80% capacity, 400 cycles – 70% capacity |
| IP Rating | IP44 |
| Weight | 0.8kg |
| Dimensions | H:290mm Dia:140mm |
v 1 . 0



















