VOLLRATH GGMDM-12 Gas Flat Top Griddles User Manual

Medium-Duty and Heavy-Duty Gas Flat Top Griddles

| Item/Model Number | Description |
|---|---|
| GGMDM-12 | Medium-Duty, 12″ |
| GGMDM-18 | Medium-Duty, 18″ |
| GGMDM-24 | Medium-Duty, 24″ |
| GGMDM-36 | Medium-Duty, 36″ |
| GGMDM-48 | Medium-Duty, 48″ |
| GGMDM-60 | Medium-Duty, 60″ |
| GGHDM-24 | Heavy-Duty, 24″ |
| GGHDM-36 | Heavy-Duty, 36″ |
| GGHDM-48 | Heavy-Duty, 48″ |
| GGHDM-60 | Heavy-Duty, 60″ |
| GGHDM-72 | Heavy-Duty, 72″ |
Thank you for purchasing this Vollrath equipment. Before operating the equipment, read and familiarize yourself with the following operating and safety instructions. SAVE THESE INSTRUCTIONS FOR FUTURE REFERENCE. Save the original box and packaging. Use the packaging to ship the equipment if repairs are needed.
SAFETY PRECAUTIONS
To ensure safe operation, read the following statements and understand their meaning. This manual contains safety precautions which are explained below. Please read carefully.
WARNING
Warning is used to indicate the presence of a hazard that will or can cause severe personal injury or death.
CAUTION
Caution is used to indicate the presence of a hazard that will or can cause minor or major personal injury if the caution is ignored.
NOTICE: Notice is used to note information that is important but not hazard-related.
To reduce risk of injury or damage to the equipment:
- Clean the equipment per the instructions in this manual.
- Do not store or use gasoline or other flammable vapors or liquids in the vicinity of this or any other equipment.
- Keep the equipment area free and clear of combustibles.
- Do not obstruct the flow of combustion and ventilation air. The back of the equipment must have a minimum of 6″ of space.
- Use a soft cloth dampened with warm, soapy water to clean the controls and the sides of the equipment.
NOTICE: Do not clean the griddle plate surface with soapy water. Soapy water will corrode the griddle surface.
- Allow hot equipment cool before cleaning or moving.
- Use equipment on a flat, level position only.
- Do not operate unattended.
![]()
WARNING
Fire, Injury, Death Hazard
Correct precautions, procedures, and regulations for usage must be followed. Operation and safety training is necessary for all users of this equipment.
FUNCTION AND PURPOSE
This equipment is intended to be used for grilling foods in commercial foodservice operations only. It is not intended for household, industrial, or laboratory use.
CLEARANCE AND ENVIRONMENT REQUIREMENTS
- Must be installed adjacent to non-combustible surfaces only, with a minimum spacing of 6″ on the back of the equipment.
- Adequate clearance must be maintained to allow for proper ventilation and servicing. 4″ legs must be installed to allow airflow.
INSTALLATION
![]()
WARNING
Improper installation, adjustment, alteration, service or maintenance can cause property damage, injury or death. Read the installation, operating and maintenance instructions thoroughly before installing or servicing this equipment.
![]()
WARNING
Fire, Injury, Death Hazard
This equipment must be installed by a qualified installer in accordance with all federal, state, and local codes. Failure to install this equipment properly can result in injury or death.
![]()
![]()
WARNING
Fire Hazard
Do not install or use without 4″ legs. Use of this equipment without legs can cause the appliance to overheat and cause a fire.
CAUTION
Any loose dirt or metal particles that are allowed to enter the gas lines on this appliance will damage the valve and affect its operation. When installing this appliance, all pipe and fittings must be free from any internal contaminates. It is recommended that a sediment trap be installed in-line before the regulator.
Applicable Codes and Standards
United States
Vollrath recommends that all commercial cooking equipment be provided with a ventilation system in compliance with NFPA96:
- Cooking equipment that uses or produces grease (e.g. fryer, griddle), must be provided with hoods that are designed to capture grease and provide fire protection.
- Equipment must be installed in accordance with the requirements and approval of the AHJ “Authority Having Jurisdiction.”
NOTICE: Post instructions to be followed in the event the user smells gas. Consult your local gas supplier for these instructions and post them in a prominent location.
NOTICE: The installation of this equipment must conform with local codes, or in the absence of local codes, with the National Fuel Gas Code, International Fuel Gas Code, ANSI Z223.1/ NFPA 54, or the Natural Gas and Propane Installation Code, CSA B149.1, as applicable.
Install and Level the Legs
Ensure the equipment is level in all directions. Begin by tightening each leg securely. Then, as needed at each corner, rotate the adjustable foot.
Gas Piping
- Gas piping must be sized to ensure sufficient pressure and flow to meet the full-rated gas input of the equipment.
- Connection to an existing system requires that the existing system have capacity equal to or greater than the full-rated gas input of the equipment.
- Joint compound (pipe dope) should be used sparingly and only on the male threads of the pipe joints. Such compounds must be resistant to the action of liquid propane (LP) gases.
Pressure Regulator
NOTICE: All commercial cooking equipment must have a pressure regulator on the incoming service line for safe and efficient operation.
NOTICE: Prior to connecting the regulator, check the incoming line pressure. The regulator can only withstand a maximum pressure of ¹⁄₂ PSI (14″ WC). If the line pressure is beyond this limit, a step-down regulator before the regulator provided will be required.
NOTICE: The appliance and its individual shutoff valve must be disconnected from the gas supply piping system during any pressure testing of that system at test pressures in excess of 1/2 psi (3.5 kPa).
NOTICE: The appliance must be isolated from the gas supply piping system by closing its individual manual shutoff valve during any pressure testing of the gas supply piping system at test pressures equal to less than 1/2 psi (3.5 kPa).
- The arrow forged into the bottom of the regulator body shows the gas flow direction, and should point downstream to the equipment.
- The regulator provided with this equipment is configured for use with natural gas. Following the instructions in the LP Conversion Kit, it can be reconfigured for use with LP gas.
- The equipment comes fitted with a ¾” N.P.T. male adapter for connection to the pressure regulator.
- Check the pressure of the incoming gas line. The regulator can withstand a maximum pressure of 14″ WC (¹⁄₂ PSI). If the line pressure is beyond this limit, a step-down regulator will be required.
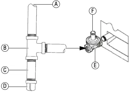
Regulator Connection

A To gas supply with the installation of B, C, and D in a vertical orientation as shown to provide for debris capture.
B Tee
C Nipple (any length)
D Cap
E Supplied Regulator
F Vent
Orifice Sizing
NOTICE: Refer to the International Fuel Gas Code for proper orifice sizing.
- Installer is responsible for correct orifice sizing.
- The orifice size is marked on the orifice/spud.
- Equipment is manufactured for 1035 BTU per cubic foot heat value of natural gas.
Gas Conversion
- Conversion from natural gas to liquid propane (LP) or vice versa must be performed by a qualified technician or service agent per the International Fuel Gas Code.
- Refer to the conversion kit instructions included with this equipment.
Manual Shut-Off Valve
A manual shut-off valve should be installed in an accessible location within 6 ft. (1.8 m) of the equipment.
Test the Equipment
Check for Gas Leaks
NOTICE: Matches, candle flame, or any other potential source of ignition shall not be used for this purpose.
- Rotate the gas control knobs for the main burner(s) to the OFF position.
- Remove the gas control knob(s).
- Use a 5/16″ nut driver to remove the 4 screws securing the front panel. Remove the front panel to access the pilot burner control valve(s).
- Locate the pilot burner control valves for each pilot light and turn them OFF by turning the small forward-facing screw clockwise until tight.
- Connect the equipment to the gas supply.
- Apply soapy water to each connection.
- Turn ON the main supply valve.
- Look for bubbles at the connections.
- Tighten the connections as needed.
Light the Pilot Burners
- Wait 5 minutes to allow any gas to dissipate.
- To light the pilot burners, hold a flame source over the desired pilot burner while slowly turning its control valve screw counterclockwise, adjusting the flame to the desired intensity. Repeat for all pilot burners.
Test the Main Burners
After lighting all of the pilot burners, ensure that each main burner functions correctly.
After the lighting the pilots, the main burners can be ignited by pushing and turning the control knob from the “off” position to the desired setting. Visually check that the pilot light ignites the main burner.
The main burners can be extinguished by turning the control knob back to the “off” position. The pilot lights can be extinguished by shutting off the gas supply at the shut-off valve installed on the gas line.
BEFORE FIRST USE
Burn-In the Equipment
- Rotate the gas control knob(s) to the maximum setting.
- Allow griddle to heat and burn-in for approximately 30 minutes.
NOTICE: You may notice smoking during this initial burn-in; this is normal.
Season the Griddle Surface
- While the griddle is warm, rub cooking oil, shortening, beef suet, or the like on the griddle surface with a clean cloth.
- Heat the griddle to medium high and allow it to operate for approximately 30 minutes.
- Rotate the gas control knob(s) to low and allow the surface to cool.
- Remove any excess oil and wipe clean.
Repeat the process; oil, heat for 30 minutes, cool, and wipe clean.
FEATURES AND CONTROLS

A Griddle Plate. Cooking surface.
B Leg. Supports the equipment.
C Adjustable Foot. Used to adjust the level of the equipment.
D Drip Tray. Collects grease and oil. This tray can be removed for cleaning.
E Pilot Light Access Hole. Allows access to the pilot light.
F Gas Control Knob. Used to adjust the temperature of the grilling surface.
OPERATION
![]()
WARNING
Fire, Death Hazard
If you smell gas follow the instructions provided by the gas supplier.
Do not touch any electrical switches; do not try to light the burner; do not use a telephone in close proximity.

CAUTION
Burn Hazard
Hot liquids and steam can burn skin. Never pour any liquid other than oil to be used for cooking onto hot surfaces.

CAUTION
Burn Hazard
Ensure that the cooking surface has cooled down before touching by hand.
- Verify that the drip tray is in place.
- Lightly oil and wipe the surface clean to remove any contaminants that may have accumulated or have seeped from the surface and/or perimeter since last use and to ensure a clean non-stick cooking surface.
- Ignite the main burner(s) by rotating the gas control knob(s). Adjust to the desired heat level.
- Preheat the griddle for 15 minutes.
- Cook the food.
- Empty the drip tray periodically to ensure it does not overflow.
- Do not allow oil or grease to build up on the griddle. Doing so can lead to carbon build-up, which can adversely affect the performance of the griddle.
- Allow the griddle to cool at the end of each cooking cycle.
Adjusting the Pilot Light
From time to time the pilot light intensity may need to be adjusted to properly ignite the main burners.
- With the pilot light ignited, use a flathead screwdriver to turn the exposed slotted brass screw. Turn the screw clockwise to decrease intensity and counter-clockwise to increase intensity.
- Determine the proper intensity to ignite the burner flames. Burners should ignite from pilot in under 4 seconds.
CLEANING

CAUTION
Burn Hazard
Hot surfaces and food can burn skin. Allow the hot surfaces to cool before handling. Do not drop or spill water onto the cooking surface as it can spray or splatter.
To maintain the appearance and increase the service life, clean your equipment daily.
NOTICE: Do not clean the equipment with steel wool.
NOTICE: Do not use cleaning chemicals or soaps as these can be absorbed by the surface and/or seep into the perimeter of the griddle and affect the flavor of the food. If necessary, use only clean water, oil, and/or a food grade degreaser for the cleaning process.
NOTICE: To prevent corrosion, do not allow the griddle surface to remain unseasoned or without a thin coating of cooking oil.
Daily
- While the griddle is still warm, use a grill brush or grill brick to remove burnt on food and grease.
- Remove, empty, and clean the drip tray.
- Clean the exterior of the equipment.
- Turn off the griddle and allow it to cool.
- Apply a thin coating of cooking oil to prevent corrosion.
Weekly
- Perform the daily cleaning process. Do not apply oil to the griddle.
- Allow the griddle to cool completely.
- Thoroughly clean the griddle plate with a food-grade degreaser.
- Season the griddle. See Season the Griddle Surface under the BEFORE FIRST USE section.
PREVENTATIVE MAINTENANCE
![]()
WARNING
Fire, Injury, Death Hazard
Contact a qualified technician or service agent for any adjustments, maintenance, or repairs. This appliance is not user serviceable.
A qualified service company should check the unit for safe and efficient operation on an annual basis. Contact the factory representative or local service company to perform maintenance and repairs.
TROUBLESHOOTING

SERVICE AND REPAIR
Serviceable parts are available on www.vollrath.com.
To avoid serious injury or damage, never attempt to repair the unit yourself. Either contact a qualified service agent for the repair or contact Vollrath Technical Services for instructions. The appropriate phone number is listed at the bottom of the page.
When contacting Vollrath Technical Services, please be ready with the item number, model number (if applicable), serial number, and proof of purchase showing the date the unit was purchased.
WARRANTY STATEMENT FOR THE VOLLRATH CO.
This warranty does not apply to products purchased for personal, family or household use, and The Vollrath Company L.L.C. does not offer a written warranty to purchasers for such uses.
The Vollrath Company L.L.C. warrants the products it manufactures or distributes against defects in materials and workmanship as specifically described in our full warranty statement. In all cases, the warranty runs from the date of the end user’s original purchase date found on the receipt. Any damages from improper use, abuse, modification or damage resulting from improper packaging during return shipment for warranty repair will not be covered under warranty.
For complete warranty information, product registration and new product announcement, visit www.vollrath.com.

The Vollrath Company, L.L.C.
1236 North 18th Street
Sheboygan, WI 53081-3201 U.S.A.
Main Tel: 800.624.2051 or 920.457.4851
Main Fax: 800.752.5620 or 920.459.6573
Customer Service: 800.628.0830
Canada Customer Service: 800.695.8560
Technical Services
[email protected]
Induction Products: 800.825.6036
Countertop Warming Products: 800.354.1970
All Other Products: 800.628.0832
© 2022 The Vollrath Company L.L.C.
Part No. 2350101-1 ml 2/24/22


















