Royal Gourmet PD1202S Portable Gas Griddle Owner’s Manual
For Your Safety
WARNING
Read the following instructions carefully and be sure your griddle is properly installed, assembled and cared for. Failure to follow these instructions could result in fire or explosion, which could cause property damage, personal injury, or death.
- DO NOT store or use gasoline, or any flammable vapors and liquids within 8 meters (26 feet) of the griddle.
- When cooking with oil/grease, do not allow the oil/grease to exceed 177 °C (350 °F). DO NOT store extra cooking oil in the vicinity of the griddle.
- The liquid LP (propane) tank (cylinder) not connected for use should be stored a minimum distance of 3 meters (10 feet) from griddle or any appliance.
Never fill the LP tank beyond 80 percent full. If the above instructions are not followed exactly, there would be a risk of fire that may cause serious injury or death.
In case of any issue, call us first! DO NOT return the griddle to the retailer. This griddle has been made to high quality standards. If you have any questions not addressed in this owner’s manual, or you need parts, please call our customer service hotline.
NOTE: The assembly and use of this griddle must conform to local codes. In the absence of local codes, use the National Gas and Propane Instruction Code. Read all instructions prior to assembly and use.
CAUTION:
- A 1 lb. (454g) propane gas tank (not included) is required for operation.
- Never attempt to attach this griddle to the self-contained propane system of a camper trailer, motor home, or house.
- Never use charcoal or lighter fluid with gas griddles.
- DO NOT attempt to move the griddle while it is lit or hot.
- DO NOT use the griddle unless it is completely assembled, and all parts are securely fastened and tightened.
- DO NOT use the griddle or any gas products near unprotected combustible buildings and materials.
- DO NOT use in the presence of gases or vapors. Keep the griddle area clear and free from combustible materials, gasoline, and other flammable vapors and liquids.
- DO NOT lean over the griddle or touch metal parts of the griddle until it has completely cooled (about 45 minutes) to avoid burns, unless you are wearing protective gear (oven mitts, potholders, and etc.).
- DO NOT alter the griddle in any manner.
- Keep all combustible items and surfaces at least 91 cm (36 inches) from the griddle at all times.
- Never keep a filled LP tank in a hot car or truck. Heat will cause the gas pressure to increase, which may open the relief valve and allow the gas to escape.
- Keep the griddle’s valve compartment, burners, and circulating air passages clean. Inspect the griddle before each use.
- Please ensure you only use your griddle at the correct pressure the appliance is designed for. Prior to installation, ensure that the local distribution conditions (nature of the gas and gas pressure) and the adjustment of the appliance are compatible.
- Adequate ventilation is vital for combustion and efficiency performance of the griddle. This will ensure the safety of the user and other people in the vicinity of the area where the appliance is being used. Never use the appliance in any enclosed covered area.
- The parts sealed by the manufacturer or his agent shall not be manipulated by the user.
- Any modification to the appliance may be dangerous and may cause injury or property damage. Any unauthorized modification of the appliance will invalidate the guarantee on this appliance.
- Turn off the appliance at the LP tank valve or regulator after use.
WARNING:
- This griddle is for outdoor use only and should not be used inside a building, garage, or any other enclosed space.
- The consumption of alcohol, prescription, or non-prescription drugs may impair the operators’ ability to properly assemble or safely operate the griddle.
- Always place your griddle on a hard and level surface far away from combustibles.
- Do not leave a lit griddle unattended. Accessible parts may be very hot. Children should never use your griddle.
ALWAYS keep children and pets away from the griddle. - Do not place the griddle on any type of uneven tabletop surface.
- Do not use the griddle in high winds. When the wind speed is above 2m/s, don’t use gas griddle facing to the wind.
- The use of this appliance in enclosed areas can be dangerous and is PROHIBITED
DANGER:
Liquid propane gas is flammable and hazardous if handled improperly. Understand the characteristics before using any propane product.
- Propane characteristics: Flammable, explosive under pressure, heavier than air, settles in pools and low areas.
- In its natural state, propane has no odor. For your safety, an odorant has been added.
- Contact with propane can cause freeze burns to the skin.
- This griddle is shipped from the factory for use with propane gas only.
- Never use a LP tank with a damaged body, valve, collar, or footing.
- Dented or rusted propane cylinders may be hazardous and should be checked by your propane gas supplier.
FOR YOUR SAFETY
- Keep the griddle at least 91cm (36 inches) away from side and back, and 61cm (24 inches) from floor to combustible and noncombustible materials and construction.
- Do not place the griddle where there are combustible surfaces overhead.

Preparation
Before beginning assembly, make sure all parts are present. Compare parts with packaged contents list and diagram above. If any parts are missing or damaged, do not attempt to assemble the products. Contact customer service for replacement parts via telephone or email.
Phillips screwdriver
Wrench
- Estimated assembly time: 10 minutes
- Tools required for assembly:
Phillips screwdriver (not included) and Wrench (not included) - Note: The right and left sides of the griddle are designed as if you are facing the front of the griddle.
CALIFORNIA POSITION 65 WARNING
- Fuels used in gas burning appliances and the combustion byproducts of such fuels, can expose you to chemicals including carbon monoxide, which is known to the State of California to cause birth defects or other reproductive harm.
- This product contains Nickel (Metallic) known to the State of California to cause cancer.
- This product contains Lead and Lead Compounds known to the State of California to cause cancer and
birth defects or other reproductive harm.
For more information, go to: www.P65Warnings.ca.gov
Parts and Hardware List

| Ref | Description | Illustration | QTY |
| 1 | Foot W-SG20005 |
| 4 |
| 2 | Main body |
| 1 |
| 3 | Regulator GHMBH |
| 1 |
| 4 | Cooking griddle GHJP22B-A |
| 1 |
| Grease cup YP001 |
| 1 |
| A | M6x30 | 4 pcs | B | M6x10 | 4 pcs | C | t M4 | x12 | 4 pcs | D | M6 | 2 pcs |
|
|
|
| |||||||||
Assembly Instructions
Step 1
Assemble the feet (1) to main body with 4 bolts (C).
Step 2
Connect the tube terminal to the main body, twist clockwise.
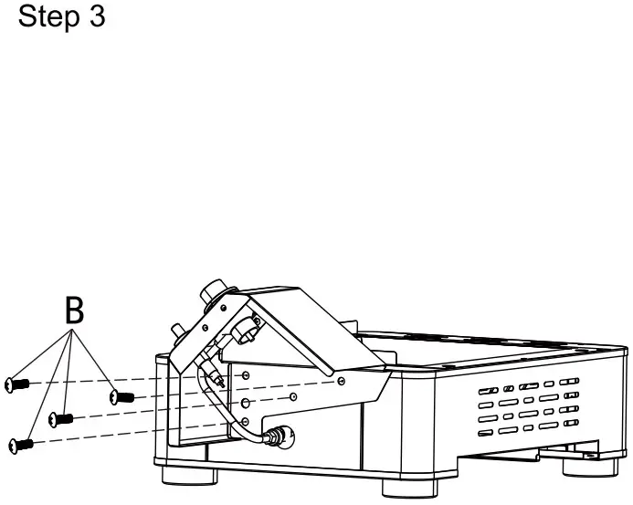
Step 3
Assemble the regulator (3) to main body with 4 bolts (B).
Step 4
Insert the ignition line to the electrode hole as shown.
Step 5
If you found the griddle is not positioned horizontally on the body, please adjust one or more griddle foot until the griddle is horizontal to the body.
Step 6
Place the griddle (4) onto the main body. Slide the grease cups (5) into the braces as shown.
Step 7
Twist 4 bolts (A) into 4 holes on the back of the cooking griddle . Screw 2 nuts (D) to the bolts.
LP cylinder leak test
INSTRUCTIONS FOR USE
Your new griddle has been designed and manufactured to high quality standards.
It will provide you with many years of fun grilling time, however, it requires a minimal amount of maintenance.
Follow these instructions carefully to avoid seriously damaging your grill and causing injury to yourself and to property.
- Assemble the griddle as per the assembly instructions carefully.
- Make sure the control knob is turned to the OFF position.
- Connect the 1lb. propane tank to the griddle (propane tank not included).
Always visually inspect your griddle before lighting. Look for anything that could block ventilation and remove such a blockage or move the griddle.
After lighting, check the flame pattern to ensure you have even heat distribution for each burner. If burners don’t light up, or if the flame pattern is uneven, see the Troubleshooting section.
WARNING
- Read instructions before lighting.
- If ignition does not occur in 5 seconds, turn the burner control knob(s) off, wait 5 minutes and repeat the lighting procedure.
LIGHTING THE BURNER BY USING PIEZO IGNITION
- Turn control knob clockwise to OFF position.
- Connect LP tank to regulator nipple.
- Push in and twist control knob anti-clockwise to HI position. Press piezo ignitor button rapidly. You should hear it ticking.
- If the burner does not ignite, turn control knob to OFF position and wait for 5 minutes before attempting to relight the burner.
- If the burner ignites, turn control knob to the temperature setting required for your food.
Should the burner still fail to ignite, check the gas supply.
MANUALLY LIGHTING THE BURNER WITH MATCH STICK
- Turn control knob clockwise to OFF position.
- Connect LP tank to regulator nipple.
- Remove cooking griddle and place the lit match close to the burner ports.
- Push in and twist control knob anti-clockwise to HI position. The burner should light immediately.
- If the burner does not ignite, turn control knob to OFF position, wait for 5 minutes before attempting to relight the burner.
- If the burner ignites, turn the control knob to the temperature setting required for your food.
Should the burner still fail to ignite, check the gas supply
TURNING OFF YOUR GRIDDLE
- Turn control knob to OFF position.
- Disconnect the LP tank from the regulator nipple.
Operating Instructions
WARNING
Do not use spirit or petrol for lighting or re-lighting!
BEFORE USE PLEASE CHECK FOR LEAKS
Never check for leaks with a naked flame, always use a soapy water solution.
LEAK TEST
A leak test should be conducted each time a LP tank is refilled or exchanged.
Do not smoke or use any type of flammable material in the area during this leak test.
Do not use an open flame to check for leaks.
- Test outside in a well-ventilated area.
- Ensure the LP tank valve and all burners are at OFF position.
- If the warnings 1 and 2 above are not strictly followed, there is risk of fire that may lead to serious injury or death.
- Mix a 50/50 mild soap and water solution. Do not use any household cleaner solution.
- Connect the regulator to the griddle, and connect the LP tank to the regulator, ensure the connections are secure, then open the LP tank valve. If you hear a rushing sound, disconnect the LP tank immediately.
In that case, there could be a leak at the connection. Reconnect the LP tank to the regulator. - Spray or brush the soap water solution covering the following area. (Fig. 1)

- Bubbles that occur on any of the parts and connections listed above indicate a gas leak. Immediately disconnect the LP tank. Re-tighten the connections or order replacement parts as needed. Continue to test as necessary until no leaks are detected. If detected leakage can not be rectified, do not attempt to cure leakage but consult your gas dealer.
- Disconnect the LP tank from the griddle after testing.
If you smell gas:
- Shut off gas supply to the griddle.
- Extinguish any open flame.
- If odor remains, keep away from the griddle and immediately call your fire department.
Failure to follow these instructions could result in fire, explosion, or burns, which could cause property damage, personal injury, or death.
LP TANK
- The appliance must be used with a 1 lb. LP tank.
- Do not drop or roughly handle the LP tank! If the appliance is not in use, LP tank must be disconnected.
Replace the protective cap on the LP tank after disconnecting the LP tank from the appliance. - The LP tank must be stored outdoors in an upright position and out of the reach of children.
- The LP tank must never be stored where temperatures can reach over 50 °C (122 °F).
- Do not store the LP tank near flames, pilot lights, or other sources of ignition.
- DO NOT SMOKE NEAR THE LP TANK. The LP tank should be kept away from any source of ignition.
- Do not store or use gasoline or other flammable liquids or vapors in the vicinity of this or any other appliance.
Cleaning and Maintenance
WARNING
- Do not clean any part of your griddle in a self-cleaning oven.
- Do not use oven cleaners, abrasive kitchen cleaners, cleaners that contain citrus products, or mineral spirits.
- Clean your griddle regularly to prevent grease buildup, grease fires or excessive flare-ups.
- Always allow the griddle to cool down prior to cleaning.
CAUTION: All cleaning and maintenance should be carried out when the appliance is cooled down and with the fuel supply turned OFF at the LP tank or the regulator.
COOKING GRIDDIE Most foods can be cleaned up by scraping and wiping down the cooking griddle with a paper towel or wet soft cloth. To remove tough food residue, you can use a mild cream cleaner and pad. You can also use soapy water or a paper towel and 1/4 cup of table salt as another method to clean your griddle.
Rinse well and dry it.
OTHER EXTERIOR SURFACES Wash with a mild detergent and warm water. You can use a cloth, soft brush (non-metallic), or plastic cleaning pad. Rinse thoroughly and wipe dry.
GREASE CUP Check after each use. Remove and empty the grease cup when half full. It can be washed with warm water and mild dish washing detergent.
BURNERS We recommend you clean your burners at least twice a year, or before each use if the griddle has not been used in over one month.
WARNING
Small insects and spiders may enter the burner tubes. Sometimes they will build nests or spin webs that can block or reduce the amount of gas flowing through the burner. You will usually see a smaller flame, or a flame that is mostly yellow rather than blue, coming from the burner when this happens. Other signs include the griddle generating uneven or low heat, or difficulty in igniting the burners. In cases of severe blockage, this can cause the flame to burn backwards, and outside of the burner tubes, which can damage your griddle and/or cause personal injury. IMMEDIATELY SHUT OFF THE FLOW OF PROPANE GAS AT THE TANK OR SHUT OFF THE REGULATOR SHOULD THIS HAPPEN. Wait for the griddle to cool down and then clean all burners.
CLEANING THE BURNER
- Ensure the gas is turned off at the LP tank.
- Remove the cooking griddle.
- Lift burner up and out.
- Clean the inside of the burner by using a stiff wire. An alternative is to use compressed air. Always wear protective gear for your eyes when using this method. Never enlarge the burner ports during cleaning.
- Brush the outer surface of the burner.
- Ensure all ports (holes) are free of debris.
- Inspect the burner. Replace damaged parts that have cracks or enlarged ports.
- Replace the cooking griddle.
- Perform the Leak Test described earlier in this Owner’s Manual.
WARNING
Proper placement of the burner and valve is vital to ensure safety.
BURNER FLAMES
Always check the burner flame patterns after lighting. A good flame should be primarily blue with a yellow tip and have a minimal amount of flicker. Some yellow tips are OK ifthey are smaller than 2.5 cm (1″). New burners sometimes have oil residue, which will cause yellow flame when burning off. Variations in gas supply, altitude, weather, and other factors can all impact burner performance. Older grills can also show more yellow flame due to food deposit, oil, and fat buildup.
ALWAYS
- Keep the grilling area clear and free from combustible materials, gasoline and other flammable vapors and liquids.
- Do not obstruct the air flow for combustion and ventilation.
- Keep the ventilation openings of the LP tank enclosure free and clear from debris.
GRIDDLE STORAGE
- Clean your griddle before storage.
- Storage of a gas griddle indoors is permissible only if the propane tank is disconnected and removed from the gas griddle.
- Cover the griddle.
- Perform a Leak Test before using the griddle after it has been kept in storage for some time.
Troubleshooting Guide
BURNER WON’T LIGHT
(USING A 0.45 KG (1 LB.) LP BOTTLE)
- Ensure LP bottle still has fuel in it by gently shaking it-there will be sounds of the liquid inside if the fuel remains.
- Make sure the valve is positioned inside the burner tubes.
- Check to see that the air inlet screen of the venturi tube is not covered or clogged.
- Check to see that burner orifices are clear. If obstructed, with LP bottle disconnected, you can gently brush orifices with a small brush.
- Turn off the control knob and disconnect the griddle from LP bottle. Reconnect and retry.
- Check to see that the ignitor is producing a spark against the burner (better checked in shady spot). If the burner still doesn’t ignite, repeat the above procedures with another LP bottle.
GRIDDLE DOESN’T REACH HIGHT ENOUGH TEMPERATURE
(USING A 0.45 KG (1 LB.) LP BOTTLE)
- Gently shake LP bottle to ensure enough fuel for working, there will be sounds of the liquid inside if fuel remains.
- Check to see that the air inlet screen of the venturi tube is not covered or clogged.
- Test the gas system for leaks.
FLAME HAS GONE OUT
- Check the gas level in the LP bottle.
- Check wind direction and set the griddle away from windy areas.
- Clean and check burner for spiders, insect nests, and debris.
- Check the burner for moisture, make sure the burner is dry
BURNER FLAMES ARE YELLOW
- Check the gas level in the LP bottle.
- Clean and check burner for spiders, insect nests, and debris.
If your problem is not resolved using the troubleshooting information above, please contact your local gas dealer.
Grilling Recipes
Direct Heat
| BEEF INTERNAL TEMPERATURE CHART | |||
| Cooking Degree | Internal Core Temperature | Internal Description | Firmness |
| Rare | 125 °F | Center is bright red, pinkish toward the outer portion, and warm throughout | Soft to the touch |
| Medium Rare | 130-135 °F | Center is very pink, slightly brown toward the outer portion and slightly hot | Yields only slightly to the touch |
| Medium | 140-145 °F | Center is light pink, outer portion is brown and hot throughout | Beginning to firm to the touch |
| Medium Well | 150-155 °F | Mostly brownish gray throughout with a hint of pink in the center | Firm to the touch |
| Well Done | 155 °F and above | Steak is brownish gray throughout | Firm or hard to the touch |
| POULTRY INTERNAL TEMPERATURE CHART | |||
| Whole Chicken | 165 °F | Cook until the juices run clear | Firm to the touch |
| Dark Meat | 165 °F | Cook until white throughout but still moist | Firm to the touch |
| Breast Meat | 165 °F | Cook until white throughout bU still moist | Firm to the touch |
| Thigh, Wings and Legs | 165 °F | Mostly brownish gray throughout with a hint of pink in the center | Firm to the touch |
| PORK INTERNAL TEMPERATURE CHART | |||
| Medium | 150 °F | Pink in the center | |
| Well Done | 160 °F and above | Pork is uniformly white/brown throughout | |
| Pork Ribs | 180-200 °F | Pale white. Cook medium to well done | |
| Raw Sausage | 160 °F | No longer pink | |
| Sausage (Pre-cooked) | 140 °F | No longer pink | |
GRIDDLED ASPARAGUS WITH SERRANO HAM:
INGREDIENTS:
24 asparagus spears
12 slices of Serrano ham
1 teaspoon of oil
1 teaspoon of butter
Seasoning
- Wash and trim the asparagus to even lengths.
- Split each ham slice in two lengthways, and wind around the asparagus diagonally.
- Heat the oil and butter on a griddle and add the asparagus for 2 minutes each side.
- Season and serve.
HAM FRIED RICE:
INGREDIENTS:
4 cups of cooked rice
1 lb. diced ham
1 diced onion
4 cloves of garlic
1 teaspoon of ginger
1/4 teaspoon of pepper
1 bag of frozen peas
12 ounces of carrots
1 tablespoon of butter
3 eggs
4 diced onions
3 tablespoons of soy sauce
Juice from one lemon
- Pre-heat the griddle to a medium-high temperature.
- Brush or spray some oil on the griddle.
- Saute the diced onion until getting soft, and add in garlic and pepper.
- Put the veggies like carrots, peas and diced ham with some oil next to the diced onion. Once cooked, mix it all together.
- Add cooked rice and start to combine all the ingredients.
- Once you have mixed those ingredients, place the butter on the griddle next to it. Scramble the eggs till cooked and mix into the fried rice.
- Add soy sauce, green onions and lemon juice to the mixture and mix thoroughly.
GRIDDLE FRIED CHICKEN:
INGREDIENTS:
1 cup of plain flour
2 teaspoons of salt
1 teaspoon of garlic powder
1 teaspoon of paprika
1 teaspoon of turmeric
4 chicken breasts
2 pats of butter
1/2 cup of oil
- Preheat a flat top grill or griddle to a medium-high heat.
- In a bowl, combine the flour, salt, garlic powder, paprika, and turmeric. Set aside.
- Carefully slice the chicken in half to make thinner.
- Dust the chicken breasts generously with the flour mixture and lightly pat so that it sticks.
- Add a generous amount of oil and butter to the flat top.
Cook the chicken until golden brown, flipping once during cooking, about 12 minutes.
SMASH BURGER:
INGREDIENTS:
1 lb. ground beef
1 diced onion
4 slices of American cheese
4 hamburger buns
Chopped pickles
BBQ rub & ketchup
- Preheat a grill or griddle for medium-high heat.
- Divide the ground beef into 4 balls.
Place the ground beef on the grill then squash (smash) flat.
Sprinkle with the BBQ rub and the diced onion, and lightly smash again. - Let cook for 5 minutes. Flip and cook until the desired doneness is reached, 3 to 7 minutes more.
Top the burgers with the cheese and remove from the heat. - Lightly toast the buns. Place a smashed burger on each bun and top with pickles, ketchup and the bun top.
GRILLED STEAK BITES:
INGREDIENTS:
1/2 cup of soy sauce
1/3 cup of olive oil
1/4 cup of Worcestershire sauce
1 teaspoon of minced garlic
2 tablespoons of dried basil
1 tablespoon of dried parsley
1 teaspoon of black pepper
1’/ lb. sirloin steak (cut into 1-inch pieces)
- Place all ingredients, except steak, in a large ziplock bag and stir with a spoon to combine.
- Drop in steak pieces and seal shut, then shake gently to coat steak entirely in the marinade.
Place the bag in the refrigerator to marinate for at least 3 hours or up to 24 hours. - Heat the griddle over medium-high heat. Brush oil on the griddle.
- Remove steak pieces from marinade using a slotted spoon and place on hot griddle top
- Discard marinade. Cook steak according to your desired temperature.
GRILLED BURRITOS:
INGREDIENTS:
4 large tortillas (burrito-sized, or larger)
2 cups of cooked rice
2 cups of meat
2 cups of shredded cheese
1 tablespoon of olive oil
- Heat a griddle over medium-high heat.
Put the burritos together by spreading a 1/2 cup of the cheese, 1/2 cup of rice and, 1/2 cup of meat in the center of each tortilla. - Fold in the sides, then roll up.
- Brush each of the burritos with olive oil, then place on the griddle with seam-side down.
Grill each side for 5-6 minutes, or until browned and crispy. - Best served with sour cream, salsa or hot sauce.
Warranty and Customer Service
Thanks for purchasing this Royal Gourmet Griddle.
Royal Gourmet warrants its products to be free from defects in materials and workmanship under proper assembly,
normal residential use and recommended care for 1-Year Full Warranty from the date of original retail purchase.
The warranty does not cover paint finish as it may burn off during normal use. RUST is not considered a manufacturing or materials defect.
For 5 Years from the date of purchase, any stainless steel burner that rusts through will be replaced free of charge.
Within the stated warranty period, Royal Gourmet, at its discretion, shall replace defective components free of charge, with the owner being responsible for shipping. Royal Gourmet reserves the right to require that defective parts be returned, postage and or freight pre-paid by the consumer for review and examination. In the event of parts availability issues, Royal Gourmet reserves the right to substitute like or similar parts that are equally functional. Upon the expiration of such warranty, all such liability shall terminate.
Note: A dated sales receipt along with Model Number and Serial Number will be required for the warranty service.
The limited warranty will not reimburse you for the cost of any inconvenience, food, personal injury or property damage. All warranty coverage is void if this griddle is ever used for commercial or rental purposes. And this limited warranty applies to the functionality of the product ONLY and does not cover cosmetic issues such as scratches, dents, corrosions or discoloring by heat, abrasive and chemical cleaners or any tools used in the assembly or installation of the appliance, surface rust, or the discoloration of stainless steel surfaces.
TEMS NOT COVERED IN THE WARRANTY SERVICE
Any failures or operating difficulties due to accident, abuse, misuse, alteration, misapplication, vandalism, improper
installation or improper maintenance or service, or failure to perform normal and routine maintenance, including but not limited to damage caused by insects within the burner tubes, as set out in the owner’s manual.
Deterioration or damage due to severe weather conditions such as hail, hurricanes, earthquakes or tornadoes,
discoloration due to exposure to chemicals either directly or in the atmosphere.
Cost of service calls to your home.
Costs of removal or re-installation.
Pickup and delivery of your product.
Shipping or transportation costs.
Labor costs for installation and repair.
Liability for indirect, or consequential damages.
This limited warranty is the sole warranty given by Royal Gourmet and is in lieu of all other warranties, expressed or implied including implied warranty, merchant ability, or fitness for a particular purpose. Neither Royal Gourmet nor the retail establishment selling this product has authority to make any warranties or to promise any remedies in addition to or inconsistent with those stated above.
Royal Gourmet’s maximum liability, in any event, shall not exceed the purchase price of the product paid by the original consumer purchaser. Some states do not allow the exclusion or limitation of incidental or consequential damages. In such a case, the above limitations or exclusions may not be applicable.
Do not return parts without prior to obtaining return authorization from our customer service department.
Please do not hesitate to contact our customer service when you have any questions regrading assembly, warranty, or accessories. We will be happy to offer any replacement parts you need during the warranty period.
1-800-618-6798
[email protected]
Mon-Fri, 8:30 AM-5:30 PM, EST
Customer Service
For Your Safety
Use outdoors only! Do not use it inside a building, garage, or any other enclosed space.
Read the instructions before assembling and using the appliance.
DO NOT use the griddle unless it is completely assembled, and all the parts are securely fastened. This griddle will become very hot, do not move it during use. Keep away from children and pets.
Contact Us First
This griddle has been made to high quality standards.
If you have any questions that are not addressed in this Owner’s Manual, or you need parts, please call our customer service hotline or send an email to [email protected]
Please keep this Owner’s Manual for future reference.



























