B529935 Chrome Single-Post Mayo Stand
User Manual
12-5/8″ x 19-1/8″Tray
B529935 Chrome Single-Post Mayo Stand

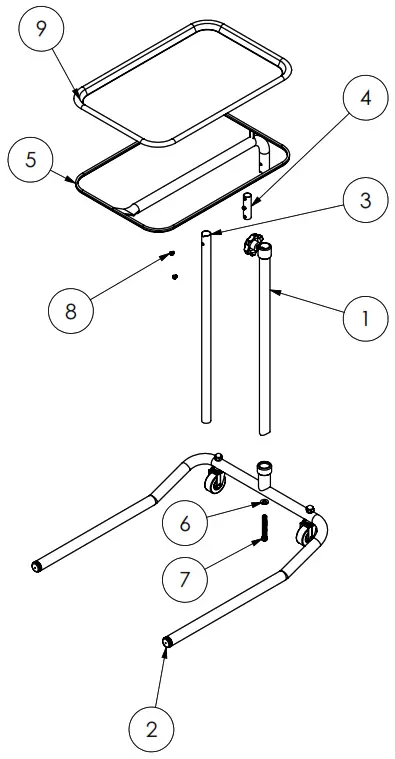
- Insert bottom post #1 into #2.(Be sure Black Knob Plastic is facing the side).Secure to base bolt #7 and flat washer #6.
- Insert the small stub tube #4 between the telescopic post #3 and the tray holder tube #5. Fasten all the components together using the two lock washer #10 and screw #8.
- Insert the sub assembly into bottom post. Place tray #9 onto tray holder tube #5. Control the height of the travel with the screw lock hand knob.

| Item | Description | QTY |
| 1 | Post Assy – Chrome | 1 |
| 2 | Base Leg Assy – Chrome | 1 |
| 3 | Telescopic Post – Chrome | 1 |
| 4 | Stub Tube Connector | 1 |
| 5 | Tray Holder Tube Assy – Chrome | 1 |
| 6 | Flat Washer, SS 5/16 x 3/4 x .048 Thk. | 1 |
| 7 | 5/16-18 x 2.5 Zinc Plated Hex Bolt | 1 |
| 8 | Zinc Plated Phillips Pan HeadScrew 10-24 X 1/4 | 2 |
| 9 | Tray 12 – 5/8″ x 19 – 1/8″ Mayo Tray | 1 |
Customer Service
US: 1-800-645-2986


















