User’s Guide
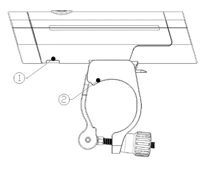
Parts List

- Light (including battery) The light provides excellent visibility by illuminating the road ahead with a maximum brightness of 1100 lumens.
- Bracket The bracket can be mounted on handlebars with a thickness of 22.2mm to 35mm.
- Charging Cable USB C-Type cable provided. Users can recharge it by connecting the cable to a charging adapter (adapter not included).
Installation (For the first use, please be sure to fully charge the battery.)
- Place it on the handlebar and let the bracket’s hook face toward the bicycle seat.

- Tighten the nut so that the bracket is completely fixed.
- Slide the light from the front to the rear and push it in until you hear a click.

Removal
- Push the hook downward and slide the light forward to remove it completely.

How to Use
- To turn on the light, press and hold the power button for over 3 seconds.

- When the light is on, users can change the mode by quick-pressing the power button (Refer to the table below).
Mode Lumen (Max) Operating Time (Min) APS
High Power
Medium Power
Low Power1100
1100
800
400180
90
180
600 - Depending on the remaining battery level, the color and lighting status of the display bar is displayed differently as follows:
Charge Level Display Bar Lighting Status Display Bar Color 25%
50%
75%
100%
Flashing Red
Orange
Blue
Green - To turn off the light, press and hold the power button for over 3 seconds.
(CAUTION! Be careful as it may be hot when in contact with the light)
Battery Charging
- Open the USB port cover at the bottom and connect the USB C-Type cable to the USB port.
- Connect the other end of the cable to the charging adapter.
- It takes about 5 hours from empty to fully charged.

- When a fast charger (DC5V, 3A) is used, the charging time is about 2 hours.
- The charging status is displayed on the side display bar.
- Please avoid charging in extreme conditions of low or high temperatures.
Mobile App Pairing
- Place your phone and light close together (within 0.5m).
- Press the power button to turn on the light.
- Launch the mobile app and proceed with pairing by selecting the light from the pairing list.
- Once pairing is complete, a pairing complete message appears on the mobile app.
WARNING.
- When not in use for a long time, please keep the battery fully charged and in a dry place at room temperature.
- On an aircraft, lithium-ion batteries cannot be transported as freight and must be carried as carry-on items.
FCC Information
This device complies with part 15 of the FCC Results. Operation is subject to the following two conditions :
(1) This device may not cause a harmful interface, and
(2) This device must accept any interference received, including interference that may cause undesired operation.
Note: This equipment has been tested and found to comply with the limits for CLASS B digital devices, pursuant to Part 15 of FCC Rules. These limits are designed to provide reasonable protection against harmful interference when the equipment is operated in a commercial environment This equipment generates, uses, and can radiate radio frequency energy and, if not installed and used in accordance with the instructions, may cause harmful interference to radio communications. However, there is no guarantee that interference will not occur in a particular installation. If this equipment does cause harmful interference to radio or television reception, which can be determined by turning the equipment off and on, the user is encouraged to try to correct the interference by one or more of the following measures:
1.1. Reorient or relocate the receiving antenna.
1.2. Increase the separation between the equipment and receiver.
1.3. Connect the equipment to an outlet on a circuit different from that to which the receiver is connected.
1.4. Consult the dealer or experienced radio/TV technician for help.
WARNING
Changes or modifications not expressly approved by the manufacturer could void the user’s authority to operate the equipment.
IMPORTANT NOTE:
FCC RF Radiation Exposure Statement:
This equipment complies with FCC RF radiation exposure limits set forth for an uncontrolled environment. This equipment should be installed and operated with a minimum distance of 20 centimeters between the radiator and your body. This transmitter must not be co-located or operating in conjunction with any other antenna or transmitter.

























