The User Guider for ASIN: BO8SC432PX
Product Manual
USB-C Multi-functional HUB

Product Introduction
The multi-functional USB-C hub adds multiple connections to your Macbook and other USB-C laptops just by using one USB-C port. It features 2xHDMI, DP, VGA, and 3xUSB2.0 slots to your computer. It’s your all-in-one solution to connect all your peripherals, support plug and play.
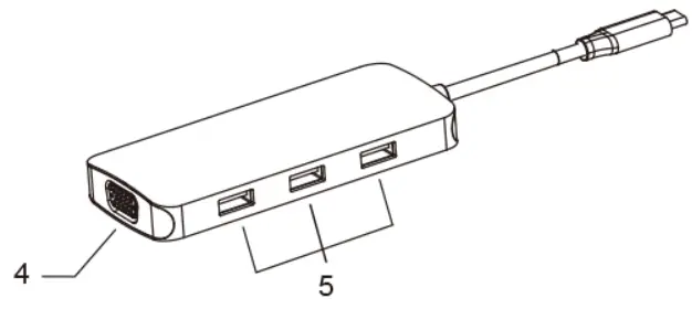
Structure Diagram

1
2- DP
- VGA
- USB2.0

Feature
- HDMI 1 video output:
4Kx2K 60Hz / 3840×2160 (work separately while source is DP1.4) 4Kx2K 30Hz2 / 3840×2160 (work separately while source is DP 1.2) - HDMI 2 video output: Up to 4Kx2K 30Hz / 3840×2160 max.
- DP: 4Kx2K @60Hz / 3840×2160
- VGA: Up to 1080P 60Hz
- 3x USB-A 2.0
Up to 480Mbps data speed. Design for the connection of 2.4 GHz wireless devices, such as wireless keyboards/mouse adapters etc.
Connection

Graphics Settings for Windows 10
- Clone Mode
Right click desktop >Graphics Settings > Display

- Extended Desktop(NOT supported by APPLE)
Right-click desktop > Graphics Settings >Display

Graphics Settings for Mac
- Mirror Display
Apple logo>System Preferences >Displays

- Extend Display
Apple logo>System Preferences > Displays

FAQ
A. Why is there no video output?
- Please make sure the USB-C port of your devices (Laptop/T tablet) support video output.
- Please check if the cable is well connected.
- Please use the standard HDMI cable.
- Windows computer with Intel graphics card only supports two external monitors at most.
B. Why is there no audio output from HDMI?
- Please make sure your monitor support audio output function.
- Please set the external monitor as default audio output device.
C. What should | do if the display screen drops after connecting a large current HDD/SSD?
Please connect your laptop charger/adapter to the USB-C PD charging port of product.
D. Why does the output not reach 4K 60Hz?
- Please make sure your monitor support 4K 60Hz.
- Please make sure the video source is 4K 60Hz.
- Please make sure to use the 2.0 or higher version HDMI cable.
- Please make sure your computer specification support DP1.4 signal output.

| Computer Model support DP1.4 signal | Remark |
| MacBook Pro 2018 (15.4″) | The computers supporting DP1.4 signal output depend on the specifications of computer and graphics card. This product only support 4K 60Hz for these specifications of computers. The output bandwidth of DP1.2 signal is not enough to output 4K 60Hz, only available for 4K 30Hz. |
| MacBook Pro 2019 (15.4 ) | |
| MacBook Pro 2019 (16″) | |
| iPad Pro 2018/2020 | |
| Surface Laptop 3 | |
| Surface Pro 7 | |
| HP ENVY X360 | |
| HP EliteBook 745 G5 | |
| More models will be updated regularly |
![]()
Made in China
![]()
The terms HOM!. HOM! High-Definition Multimedia interface. and the HDMI Lago are trademarks or registered trademarks of HOM! Licensing Administrator, Inc.
Any questions, please contact us at: [email protected]


























