CONNECTS2 CTKFT34 Car Stereo Fitting Kit

FEATURES
- Allows for the installation of a double DIN aftermarket stereo
- Comes complete with accessories for fitment of single/double DIN stereo
- Retains steering wheel control & phone button functionality
- Retains vehicle settings and generates setting menus
- Provides outputs for Park Brake, Reverse Gear and Speed Pulse
- Includes additional accessories including antenna adapters and patch lead
- Finished in black to match the vehicles dashboard
DISCLAIMER
The information provided in this document is subject to change without notice due to manufacturer changes and/or improvements to the product/s. This instruction manual is based on documented data and research. The manufacturer of this product cannot be held responsible for any changes made to the vehicle by the manufacturer or damages that may occur through the installation of this product in accordance with the steps outlined herein.
PRODUCT INFORMATION
The CTKFT34 is a complete installation kit that allows for the fitment of an aftermarket head unit into the OEM dashboard of Fiat Ducato (8 Series) vehicles. The interface provided helps retain steering wheel control presets and phone button functionality, as well as retaining vital features and functions which include OEM vehicle settings. The lead features plug-and-play connectors for an easier installation process. Also provided is an antenna adapter, as well as a universal patch lead, to ensure compatibility with almost any head unit on the market.
WIRING KEY
IN ISO CONNECTOR
- Purple: Right Rear Speaker +
- Purple/Black: Right Rear Speaker –
- Green: Left Rear Speaker +
- Green/Black: Left Rear Speaker –
- Grey: Right Front Speaker +
- Grey/Black: Right Front Speaker –
- White: Left Front Speaker +
- White/Black: Left Front Speaker –
- Yellow: Permanent 12V
- Black: Ground
- Red: Ignition 12V
- Orange: Illumination
- Blue: Antenna Remote
ADDITIONAL CONNECTIONS
- Pink: Speed Pulse
- Green: Park Brake
- Purple/White: Reverse Gear
- Yellow RCA (Male): Infodapter Video
- Yellow RCA (Female): Aftermarket Camera Input
INTERFACE CONNECTIONS
- Reverse Camera Extension Harness Input
- Power Harness Input
- Head Unit Connection (Patch) Lead Input
- DIP Switch 1 – ‘ON’ for Pioneer, ‘OFF’ for other brand head units
DIP Switch 2 – ‘ON’ for PAL reversing camera, ‘OFF’ for NTSC reversing camera (Default is ‘OFF’/NTSC)
DIP Switch 3 – Change from ‘OFF’ to ‘ON’ and back to reset screen settings to factory defaults.
Note: During this procedure, the screen background will change to red and no settings adjustments can be made. DIP Switch 4 – Not Used - Not used

STEERING WHEEL CONTROLS
EXAMPLE STEERING WHEEL CONTROL DIAGRAM
The following diagram, though based on careful research, is an example only. Individual steering wheel control configurations may differ.
EXAMPLE STEERING WHEEL CONTROL DIAGRAM The Infodapter will retain several of the vehicle’s original steering wheel control functions including moving up and down between tracks, adjusting the volume and picking up or hanging up calls. In addition to this functionality, the vehicle’s steering wheel controls are also used to enter, exit and navigate the Infodapter menus. An example configuration can be seen below:

Normal Functionality
- Track Up
- Track Down
- Source *
- Volume Up
- Volume Down
- Mute
- Pick Up
- Speech (Long Press: Enter Infodapter Menu)
- Hang Up
Navigating the Infodapter Menus
- Navigate options up
- Navigate options down
- Short Press: Select Menu Item
Long Press: Exit Infodapter Menu
- Please note: steering wheel controls dealing with cruise control on the front are unaffected.
- In the case that the vehicle does not feature phone buttons, the ‘Source’ button will act as Infodapter enter/exit button.
FASCIA DIAGRAM

Need help
Visit support.connects2.com/tickets/technical
WIRING DIAGRAM


PRIOR TO INSTALLATION
Read the manual prior to installation. Technical knowledge is necessary for installation. The place of installation must be free of moisture and away from heat sources. Please ensure that the correct tools are used during the installation to avoid damage to the vehicle or product. Connects2 can not be held responsible for the installation of this product.
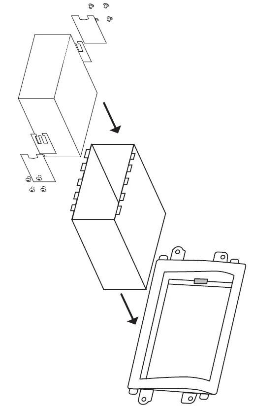
INSTALLATION GUIDE – FASCIA
DASH DISASSEMBLY
- Begin by using a panel removal too to unclip the entirety of the side air vents. Once free, simply pull them out of the dashboard and set them to one side.

- With the air vents removed, undo the 4x screws that surround the main head unit. Once undone, simply pull the fascia away from the dashboard and disconnect all of the wiring.

BRACKET ASSEMBLY
- The brackets within the kit consist of a set of spacers (i.), a set of plates (ii.) and a set of release keys (iii.). This set up allows you to set a precise depth to the brackets.
- Take the spacers and place them on the inside of the plates. When lined up, attach the assemblies to both sides of the head unit (screws not provided).
- Once placed, you can insert the head unit into the cage/fascia to gauge the correct depth and use the release keys to alter if incorrect.
- Take the cage from within the kit and place it within the new fascia, locking it into place using the tabs surrounding the outside.

- With the cage in place, and the head unit connected correctly, proceed to slot the radio into the dashboard until it clips into place. Carry on to finish the installation by placing the trim around the head unit and re-assembling the dashboard in revere order.

INSTALLATION GUIDE
Before installing the interface, the factory stereo must be removed and disconnected. To do this, please consult the vehicle owner’s manual/handbook or contact a fitting professional. For universal patch leads, prepare the wiring loops in accordance with the instruction manual supplied before installation.
- Connect the 12 Pin connector from the stereo connection (patch) lead to the interface box
- Connect the opposite end of the stereo connection (patch) lead to the steering wheel control input on the back of the aftermarket stereo
NOTE: This may be a 3.5mm jack connector or a wired input depending on the brand of aftermarket stereo being fitted. Please consult the
aftermarket stereo installation manual for further information on where to make the connection.
IMPORTANT: THIS STEP MUST BE COMPLETED BEFORE CONNECTING POWER TO THE INTERFACE. ! FAILURE TO DO SO MAY RESULT IN A LACK OF FUNCTIONALITY AND THE NEED TO REINSTALL THE PRODUCT
- Connect the 14 Pin connector from the supplied wiring loom to the interface box.
- Connect the power/speaker ISO connector to the power/speaker ISO connector at the rear of aftermarket stereo.
Note: For aftermarket stereos which do not have an ISO connector, please see ‘Wiring Key’ on Pg.2 for information on which wires to connect. Some interfaces may also have additional ‘flying’ wires which can be connected to the vehicle to support various features i.e. parking brake trigger, reverse gear and speed pulse. Details of these can be found under ‘Additional Conne ctions’.
- Connect 4 Pin camera extension harness to the interface box.
- Connect any additional outputs from the main wiring harness to the head unit.
For more details surrounding the flying wires, go to Pg.2 and see ‘Additional Connections’.
- Connect the male yellow RCA to the reverse camera input of the aftermarket head unit
- To connect an aftermarket reversing camera, connect the female yellow RCA from the camera extension harness to the male yellow RCA of the camera (optional).
Note: Ensure that the ‘Camera Connected’ option in the Preferences menu is set to ‘Yes’ for the camera to function correctly.
- Attach the antenna adapter in between the vehicles pre-existing connector as well as the rear of the aftermarket head unit.
NOTE: If vehicles which feature an amplified aerial, the blue wire will be needed for purposes of phantom power
- Connect the 12 & 32-way connectors on the supplied harness to the relevant connectors from the
- Test stereo and steering wheel control functionality for correct operation before reassembling the vehicle dashboard. If steering wheel control functions are unresponsive, please uninstall the interface and wiring and reinstall carefully in accordance with the above steps.vehicle.
Once the CTKFT03 has been installed into the vehicle successfully, simply hold the ‘Speech’ button (Fig.8) on the steering wheel to access the ‘Configuration Menu’.
Note: In the case that the vehicle does not feature phone buttons, the ‘Source’ button will act as Infodapter enter/exit button.
The Infodapters ‘Configuration menu’ showcases a series of options and settings that can be altered to tailor the users experience. To navigate these options, use the ‘Track Up’ & ‘Track Down’ buttons

The Infodapters ‘Configuration menu’ showcases a series of options and settings that can be altered to tailor the users experience. To navigate these options, use the ‘Track Up’ & ‘Track Down’ buttons (Fig.1 & 2).
VEHICLE SETTINGS

- The Infodapter interface retains the ability to adjust vehicle settings that were present when the original head unit was installed.
- The ‘Vehicle Settings’ menu contains a variety of original vehicle settings. Vehicle setup options that were available with through the original head unit will now be available through the aftermarket head unit.
- See the vehicle handbook for more information regarding these features.
INFODAPTER SETTINGS
The ‘Infodapter Settings’ menu contains parameters that can be selected to enhance/adapt the Infodapters layout and functionality.
INSTALLER MENU

This menu displays a variety of options which can add/remove settings within the Infodapter menus. Each option can be set to either ‘OFF’, ‘ON’ or ‘AUTO’ to display it, for example, if the ‘Language’ options is changed to ‘OFF’, the options will dissapear from the main Configuration Menu. This list includes following attributes which can be controlled by the interface:
- Language
- Version
- Distance Units
- Clock
- Temperature Units
- Consumption Units
- Speed Units – Follow Me
- Auto Door Unlock on Exit
- Flash Lights with lock
- Courtesy Lights
- Auto Door Locks
- Daytime Running Lights
- Cornering Lights
- Ambient Lighting
- Greeting Lights
- Park Sense Volume Level
- High Beam Control – Park Sense
- Rain Sensor
- Lane Sense Warning
- Lane Sense Strength
- Tyre Pressure Units
- Config Type
- Traffic Sign Recognition
- Traffic Sign Warning
- Vehicle Off Options
- Blindspot Assist.
- Headlight Sensor Sensitivity
- Auton./Forward Collision Warning
- Auton./Forward Collision Sensitivity
Note: although care has been taken to ensure the accuracy of this menu structure at the time of printing this document, sudden changes in software by the manufacturer, or incompatibilities with the interface cannot be accounted for. Do not consider this list to be exhaustive.
SCREEN SIZE/POSITION
Allows the user to setup the Infodapter display screen to the exact size of the aftermarket head unit being fitted.
PICTURE SETTINGS
Allows the user to adjust the Brightness, Contrast and Saturation levels of the Infodapter menus/parking graphics.
PREFERENCES
Park Assist Version

Select according to the colour configuration of the park assist fitted to the vehicle.
Camera Connected
Select ‘Yes’ if an optional camera is connected
Park Brake Source
Set Park Brake output to activate when park brake is on (Brake), when speed is less than 3km/h (Speed) or to remain on at all times (Always On)
Reverse Priority
Select which image (Camera or Park Assist) will be shown by default when reversing.
(Note: this option is only available when Camera Connected is set to ‘Yes’)
Restore Factory Settings
Select Yes to return all Infodapter settings to factory defaults
LANGUAGE & VERSION

The latter of the settings menu gives the user a selection of languages – English/French/German/etc. – as well as the ability of viewing the current version history.
Need help? Visit support.connects2.com/tickets/technical




















