Danfoss BOCK FK50 GEA Vehicle Compressor

Product Information
The product is a compressor with various models available, including:
- FK50/460 N
- FK50/460 K
- FK50/555 N
- FK50/555 K
- FK50/660 N
- FK50/775 N
- FK50/660 K
- FK50/775 K
- FK50/660 K1
- FK50/775 K1
- FK50/830 N
- FK50/830 K
- FK50/830 K1
- FK50/980 N
- FK50/980 K
- FK50/980 K1
- FKX50/460 N
- FKX50/555 N
- FKX50/660 N
- FKX50/775 N
- FKX50/460 K
- FKX50/555 K
- FKX50/660 K
- FKX50/775 K
- FKX50/660 K1
- FKX50/775 K1
- FKX50/830 N
- FKX50/980 N
- FKX50/830 K
- FKX50/980 K
- FKX50/830 K1
- FKX50/980 K1
Product Usage Instructions
Safety
Identification of safety instructions:
DANGER: Indicates a dangerous situation which, if not avoided, will cause immediate fatal or serious injury.
WARNING: Indicates a dangerous situation which, if not avoided, may cause fatal or serious injury.
CAUTION: Indicates a dangerous situation which, if not avoided, may cause fairly severe or minor injury.
ATTENTION: Indicates a situation which, if not avoided, may cause property damage.
INFO: Important information or tips on simplifying work.
Qualifications required of personnel:
WARNING: Inadequately qualified personnel poses the risk of accidents, the consequence being serious or fatal injury. Work on compressors is therefore reserved for personnel which is qualified to work on pressurized refrigerant systems, such as engineers and professions with comparable training.
About these instructions
Read these instructions before assembly and before using the compressor. This will avoid misunderstandings and prevent damage. Improper assembly and use of the compressor can lead to serious or fatal injury.
Observe the safety instructions contained in these instructions.
These instructions must be passed onto the end customer along with the unit in which the compressor is installed.
The safety advice, which is contained in these instructions for assembly, and which is relevant for regular operation and maintenance, must be forwarded by the manufacturer in his own documents to the operator of the entire system. It must also be ensured, that personnel working in daily operation with the compressor have access to important information such as safety and warning advice about the compressor. Such persons must read the safety advice and have understood it. Bock assumes no liability for any damage arising from non-compliance.
Safety
Identification of safety instructions:
![]() | DANGER | Indicates a dangerous situation which, if not avoided, will cause immediate fatal or serious injury. |
![]() | WARNING | Indicates a dangerous situation which, if not avoided, may cause fatal or serious injury. |
![]() | CAUTION | Indicates a dangerous situation which, if not avoided, may cause fairly severe or minor injury. |
![]() | ATTENTION | Indicates a situation which, if not avoided, may cause property damage. |
![]() | INFO | Important information or tips on simplifying work. |
Qualifications required of personnel
![]() | WARNING | Inadequately qualified personnel poses the risk of accidents, the consequence being serious or fatal injury. Work on compressors is therefore reserved for personnel which is qualified to work on pressurized refrigerant systems:
|
![]() | WARNING | Contact with refrigerant can cause severe burns and skin damage. If a compressor continues to be operated during extreme running noise and/or a sharp reduction in refrigerating capacity, there is the danger of further events occurring, such as the fracture of the housing wall. If people are standing in the immediate surroundings, there is the risk of severe injury or even death from flying parts.:
Risk of accidents.
|
Intended use
These assembly instructions describe the standard version of the FK50 manufactured by Bock. The compressor is intended for use in refrigeration systems in compliance with the limits of application. Only the refrigerant specified in these instructions may be used.
Any other use of the compressor is prohibited!
The Bock refrigerating compressor named in the title is intended for installation in a machine (within the EU according to the EU Directives 2006/42/EC Machinery Directive and 2014/68/EU Pressure Equipment Directive).
Commissioning is permissible only if the compressor has been installed in accordance with these assembly instructions and the entire system into which it is integrated has been inspected and approved in accordance with legal regulations.
Product description
Brief description
Two different designs are available for various ranges of application:
- > for air-conditioning the K Design
- >for air-conditioning or normal cooling the N Design
The differences lie mainly in the valve plate tooling which is adapted to each application range where operational safety and efficiency are concerned.
- Compact six cylinder compressor in W design.
- Six capacity ranges.
- Lightweight aluminum design.
- Lubricating oil pump with oil pressure relief valve independent of rotational direction. Variable arrangement of the shut-off valves.

Dimension and connection values can be found in Chapter 9
Name plate (example)

Type key (example)

Areas of application
Refrigerants
- HFKW / HFC: R134a, R404A/R507, R407C, R513A
- HFCKW / HCFC:R22
Oil charge
The compressors are factory-filled with the following oil type:
- for R134a, R404A/R507, R407C, R513A BOCK lub E55
- for R22 BOCK lub A46
Compressors with ester oil charge (BOCK lub E55) are marked with an X in the type designation (e.g. FKX50/775 N).
INFO
For recharging, we recommend the above oil types. See Chapter 6.6.
Limits of application
ATTENTION Compressor operation is possible within the operating limits. These can be found in Bock compressor selection tool (VAP) under vap.bock.de. Observe the information given there.
- Max. permissible discharge end temperature: 140°C
- Permissible ambient temperature: (-20°C) – (+100°C)
- Max. permissible switching frequency: 12 x /h
- A minimum running time of 2 min. at equilibrium (continuous operation) must be achieved.
Avoid continuous operation near the threshold. Should the com-pressor happen to be used near the thresholds, we recommend the use of a thermal protection thermostat (Accessories, Chap. 7).
For operation with capacity regulator:
- Continuous operation, when the capacity regulator is activated, is not permissible and can cause damage to the compressor. See Chapter 7.1.
- The suction gas superheat temperature may need to be reduced or set individually when operating near to the threshold.
- When the capacity regulator is activated, the gas velocity in the system can not under certain circumstances ensure that sufficient oil is transported back to the compressor.
- When operating in the vacuum range, there is a danger of air entering on the suction side. This can cause chemical reactions, a pressure rise in the condenser and an elevated compressed-gas temperature. Prevent the ingress of air at all costs!

Compressor assembly
INFO
New compressors are factory-filled with inert gas. Leave this service charge in the compressor for as long as possible and prevent the ingress of air.
Check the compressor for transport damage before starting any work.
Setting up
WARNING Move compressors only with hoists that have adequate load-bearing capacity.
Transport and suspension unit on both eyebolts (Fig. 4).

- Storage at (-40°C) – (+100°C), maximum permissible relative humidity 10% – 95%, no condensation.
- Fittings (e.g. pipe holders, additional units etc.) on the compressor are permissible only following consultation with Bock.
- Setup on an even surface or frame with sufficient load-bearing capacity. Use all 4 fastening points.
- Correct setup of the compressor and mounting of the belt drive are decisive for running comfort, operating safety and the service life of the compressor.
Maximum permissible inclination
ATTENTION Poor lubrication can damage the compressor. Respect the stated values.

V-belt drive
ATTENTION Inappropriately designed belt drives, especially belt knocking (offsets, inclinations) or excessive tensioning forces can cause compressor damage! Make sure that the drive belt is designed correctly, e.g. by using tensioners and selecting the belt profile and the belt length.
- During operation with capacity controllers (Accessories, Chap. 7), the changing load can cause increased running noises and belt drive vibrations.
Main bearing load
To prevent the belt drive overloading the compressor main bearing, ensure that:
- The engagement force applied by the belt tension (center of shaft taper, see Fig. 10) must not exceed Fmax per. = 2750 N. If the force engagement point shifts to the right (see Fig.6, small point), the force Fmax per. reduces as per the following formula:


Electromagnetic clutch assembly
The following description applies for an electromagnetic clutch secured to a shaft.
- To absorb the magnetic field of the electromagnetic clutch, the front bearing flange has a snug fit 148 h8 (see Fig. 7).
- To connect the magnetic field, loosen the 4 cheese head screws M8 on the bearing flange (see Fig. 7).
- Slide the magnetic field to a snug fit and re-attach using the four cheese head screws M8 (Fig. 8). Screw torque = 37 Nm.
- Further assembly of the electromagnetic clutch according to the clutch manufacturer.

Pipe connections

- The discharge and suction line valves, if installed, have stepped internal diameters, enabling the use of pipes with standard millime-tre and inch dimensions. The depth of pipe insertion will depend on the dimension.
- The connection diameters of the shut-off valves are designed for maximum compressor output. The required pipe cross-section must be matched to the capacity. The same applies for non-return valves.
ATTENTION Overheating can damage the valve. Therefore, remove the pipe supports from the valve before
soldering.
Solder only using inert gas to inhibit oxidation products (scale).
Pipes
- Pipes and system components must be clean and dry inside and free of scale, swarf and layers of rust and phosphate. Only use air-tight parts.
- Lay pipes correctly. Suitable vibration compensators must be provided to prevent pipes being cracked and broken by severe vibrations.
- Ensure a proper oil return.
- Keep pressure losses to an absolute minimum.
Operating the shut-off valves
- Before opening or closing the shut-off valve, release the valve spindle seal by approx. ¼ of a turn counter-clockwise.
- After activating the shut-off valve, retighten the adjustable valve spindle seal clockwise.

Operating mode of the lockable service connections
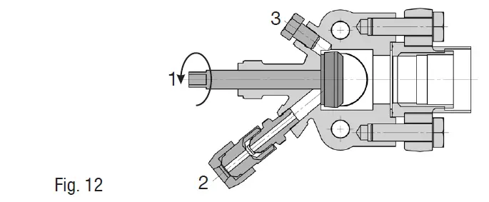
Opening the shut-off valve
Spindle 1: turn to the left (counter-clockwise) as far as it will go. —> Shut-off valve fully opened / service connection 2 closed.

Opening the service connection (2):
Spindle 1: 1/2 – 1 rotation to the right —> Service connection 2 opened / shut-off valve opened.
Connection 3 is provided for safety devices and is not lockable.

After activating the spindle, generally fit the spindle protection cap again and tighten with 14-16 Nm. This serves as a second sealing feature during operation.
Suction pipe filter
For systems with long pipes and higher degree of contamination, a filter on the suction-side is recommended. The filter has to be be renewed depending on the degree of contamination (reduced pressure loss).
Characteristics for K1 special housing

The M10 threads in the housing can be used for screwing on attachments and bracing the
compressor.
- Maximum load on the screw connection = 6 g-Kraft
- Maximum tightening torque of the screws = 60 Nm with minimum screw-in depth = 20 mm and friction coefficient = μ 0,15.
- Maximum screw-in depth 25 mm.
- Usable screws up to strength class 10.9.
In case of screw-in depths less than 15 mm or lower friction coefficients than μ = 0.15, the tightening torques and maximum load must be reduced.
INFO
If the M10 threads are used as additional bracing, installation is overdetermined. It must be ensured that the compressor housing is not distorted during installation. The specifications of the motor / chassis manufacturer are mandatory
Commissioning
Preparations for start-up
INFO
To protect the compressor against inadmissible operating conditions, high-pressure and low-pressure press ostats are mandatory on the installation side.
The compressor has undergone trials in the factory and all functions have been tested. There are therefore no special running-in instructions.
Check the compressor for transport damage!
Pressure integrity test
The compressor has been tested in the factory for pressure integrity. If however the entire system is to be subjected to a pressure integrity test, this should be carried out in accordance with EN 378-2 or a corresponding safety standard without the inclusion of the compressor.
Leak test
DANGER
Risk of bursting!
The compressor must only be pressurized using dried nitrogen (N2). Never pressurize with oxygen or other gases!
The maximum permissible overpressure of the compressor must not be exceeded at any time during the testing process (see name plate data)! Do not mix any refrigerant with the nitrogen as this could cause the ignition limit to shift into the critical range.
- Carry out the leak test on the refrigerating plant in accordance with EN 378-2 or a corresponding safety standard, while always observing the maximum permissible overpressure for the compressor.
Evacuation
- First evacuate the system and then include the compressor in the evacuation process. Relieve the compressor pressure.
- Open the suction and discharge line valves.
- Evacuate the suction and discharge pressure sides using the vacuum pump.
- At the end of the evacuation process, the vacuum should be < 1.5 mbar when the pump is switched off. Repeat the process as often as is required.
Refrigerant charge
CAUTION
Wear personal protective clothing such as goggles and protective gloves!
ATTENTION
- Avoid overfilling the system with refrigerant!
- To avoid shifts in concentration, zeotropic refrigerant blends must always be added to the refrigerating plant in liquid form.
- Do not pour liquid refrigerant through the suction line valve on the compressor.
- It is not permissible to mix additives with the oil and refrigerant.
- Make sure that the suction and discharge line valves are open.
- With the compressor switched off, add the liquid refrigerant directly to the condenser or receiver, breaking the vacuum.
- If the refrigerant needs topping up after starting the compressor, it can be topped up in vapour form on the suction side, or, taking suitable precautions, also in liquid form at the inlet to the evaporator.
Oil level check
After starting, check the compressor’s oil level.
- Drive motor in operating condition “High idle”.
- Compressor run time min. 10 minutes.
- The system should have reached operating points and steady state.
- Check oil level. As the installation location of the compressor can differ in practice (inclinations), it is recommended that the oil level is checked in both sight glasses. The oil level must be visible in at least one sight
- glass.
ATTENTION After a compressor is replaced, the oil level must be checked again. If the level is too high, oil must be drained off (risk of oil impact, reduced performance of the air-conditioning system).
Shaft seal
ATTENTION Failure to observe the following instructions can cause loss of refrigerant and damage to the shaft seal!
INFO
- The shaft seal seals and lubricates with oil. An oil leakage of 0.05 ml per operating hour is therefore normal. This applies particularly during the run-in phase (200 – 300 h).
- To trap and collect leaked oil, the FK50 is fitted with an integrated leak oil trapping device with oil reservoir (P.6, Fig. 1).
The compressor shaft is sealed to outside using a shaft seal. The sealing element rotates with the shaft.
The following is especially important to ensuring fault-free operation:
- The complete refrigerant circuit must be correctly executed and clean inside.
- Heavy shocks and vibrations to the shaft as well as continuous cyclic operation are to be avoided.
- The sealing surfaces can stick together during prolonged downtimes (e.g. winter). Therefore, run the system every 4 weeks for 10 minutes.
Avoiding liquid shocks
ATTENTION Slugging can damage the compressor and cause refrigerant to leak.
Maintenance
Preparation
WARNING
- Before starting any work on the compressor:
- Switch off the compressor and secure it to prevent a restart.
- Relieve compressor of system pressure.
- Prevent air from infiltrating the system!
After maintenance has been performed:
- Connect safety switch.
- Evacuate compressor.
- Release switch lock.
Work to be carried out
Oil change: In principle, an oil change is not a mandatory requirement, if the equipment is correctly manufactured and properly operated. Based on decades of experience, we recommend however that the following oil change/service work is carried out:
- Initial oil change during the first maintenance of the vehicle (at the latest after one year)
- Then after every 5,000 operating hours, at the latest however after 3 years. Also clean the oil filter.
- An oil change is also necessary, if the oil is very cloudy and dark, or after repairs have been carried out on the compressor.
Emptying the shaft seal oil reservoir: As required depending on use, but at the latest after 1 year or approx. 1,400 operating hours
Where requirements are higher during use (frequent operation at the limits of application, or in hot lands with over +40 °C ambient temperature, or in the case of deep freezing), the following requirements must be observed:
- Initial oil change during the first maintenance of the vehicle (at the latest after one year)
- Then an oil change after every 2,000 operating hours, at the latest however after two years. Also clean the oil filter.
Preventive maintenance
The above requirements for higher use applications also apply in the case of preventive maintenance. The shaft seal must also be changed after 3 years.
Regular inspections (at least annually): Checks to be carried out on oil level in the oil sight glass, oil fill level of the shaft seal in the oil drain hose, absence of leaks in the compressor, running noise, vibrations, pressures, temperatures, and functioning of auxiliary devices such as the capacity control.
Shaft seal, emptying the oil reservoir

Since changing the shaft seal involves encroaching into the refrigerant circuit, this is only recommended, if the seal is losing refrigerant, or if oil is escaping in excess of the permissible amount (see information on page 14, chapter 5.7, “Shaft seal”). Changing the shaft seal is described in the relevant spare part kit.
Emptying the oil reservoir: The oil reservoir can be emptied very simple without having to dismantle the clutch and/or belt drive. It is recommended that this is done at the same time as the air-conditioning maintenance and motor service. To proceed, detach the oil hose from the bracket, remove the sealing plug and drain the oil into a collecting vessel. After emptying, reseal the oil hose and clamp it into the bracket. Dispose of the used oil in accordance with national regulations.
The shaft seal is a wearing part, and its service life depends on the prevailing conditions. Damaging effects on the shaft seal:
- Too little suction gas superheat, particularly during wet operation
- Too high or too low belt tension
- Thermal overload (operation outside the limits of application)
- Frequent cycling
- Long periods of stoppage
- Material deposits / dirt from the system
Recommended spare parts/accessories
Maintenance set for oil change
- BOCK lub E55 3 x 1 l
- Oil drain screw with seal Maintenance set for shaft seal
- shaft seal kit
- BOCK lub E55 3 x 1 l
- Oil drain screw with seal
Available spare parts and accessories can be found on our compressor selection tool under vap.bock.de as well as in our online spare parts catalogue at bockshop.bock.de.
Only use genuine Bock spare parts!
Integrated decompression valves
The valves are fundamentally maintenance-free.
However, constant leakage can occur after repeated blowing off due to abnormal operating conditions. This leads to reduced performance and increases the compressed gas temperature. In this case check the valves and replace as necessary.
Lubricants / Oils
The oil type filled as standard in the factory is marked on the name plate, and this should always be used, even in the case of maintenance units. Alternative oil types can vary significantly in quality due to additives or inferior raw materials by the manufacturer. Validation within the compressors entire operating limits can not be guaranteed, if such alternative oil types are used. It is for this reason, that we only recommend the use of oil from Bock! Bock assumes no liability for any damage arising from alternative oil types.
| Refrigerants | Bock standard oil types |
| HFC (e.g. R134a, R407, R 404A) | BOCK lub E55 |
| HCFC (e.g. R22) | BOCK lub A46 |
Decommissioning
Close the shut-off valve on the compressor. Drain the refrigerant (it must not be discharged directly into the environment) and dispose of it according to the regulations. When the compressor is depressurized, undo the fastening screws of the shut-off valves. Remove the compressor using an appropriate hoist. Dispose of the oil inside in accordance with the valid national regulations.
Accessories
Capacity regulation
ATTENTION Capacity-regulated operation alters the gas speeds and pressure ratios of the refrigerating plant: Adjust the suction line routing and dimensioning accordingly, do not set the control intervals too close and do not let the system switch more than 12 times per hour (refrigerating plant must have reached a state of equilibrium). Continuous operation in the control stage is not recommended as the gas velocity in the plant system under certain circumstances does not guarantee sufficient oil return to the compressor with activated capacity regulator for a compressor speed below 1200 – 1500 rpm. We recommend switching to unregulated operation (100% capacity) for at least 5 minutes per capacity-regulated operating hour. An assured oil return can also be realized by a 100% capacity requirement after each compressor restart as otherwise the compressor can also be shut down in the regulated operating time by the thermostat.
- Electrical actuation of the solenoid valve: Normally open, (corresponds to 100 % compressor capacity).
- Cylinder covers for capacity regulation are marked with the designation “CR” (Capacity Regulator).
| FK50 / … | … N | … K |
| Designation | Item No.* | Item No.* |
| Special accessory 12 V | 097B08703 | 097B08708 |
| Special accessory 24 V | 097B08704 | 097B08709 |
For a description, see technical information “Capacity regulation” (Item No. 09900)
If the capacity regulator is factory-fitted, it is integrated into an extra, dedicated cylinder cover. For retrofits, it is supplied with the cylinder cover. The regulator closes one cylinder bank at a time (capacity regulation approx. 33 %). Two retrofit kits are required for a capacity regulation of approx. 66 %.
* Please note that the legacy BOCK ref. numbers are without 097B
Thermal protection thermostat (Item No. *097B07595)
A screw-in option is provided for the sensor element on the hot gas side of the compressor housing (see Chap. 9). Connect the thermal protection thermostat in series with the control line.
Technical Data:
- Switching voltage max. : 24 V DC
- Switching current max. : 2.5 A at 24 V DC
- Switch-off temperature : 145 °C ± 5 K
- Switch-on temperature : approx. 115 °C
* Please note that the legacy BOCK ref. numbers are without 097B
Technical data
| Type | No. of cylinders | Displacement cm3 | Swept volume (1450 rpm) m3/h | Weight kg | Connections * | Oil charge Ltr. | Inertia moment of the driving unit [kgm2] | Lubrication | Oil pump | |
| Discharge line DV mm / inch | Suction line SV mm / inch | |||||||||
| FK50/460 | 6 | 459 | 40,1 | 44,0 | 28 / 1 1/8 | 35 / 1 3/8 | 2,5 | 0,0047 | Forced lubrication | Rotation direction independent |
| FK50/555 | 556 | 48,3 | 43,0 | 28 / 1 1/8 | 35 / 1 3/8 | |||||
| FK50/660 | 662 | 57,6 | 42,0 | 35 / 1 3/8 | 2 x 35 / 1 3/8 | |||||
| FK50/775 | 776 | 67,6 | 41,0 | 35 / 1 3/8 | 2 x 35 / 1 3/8 | |||||
| FK50/830 | 831 | 72,3 | 43,0 | 35 / 1 3/8 | 2 x 35 / 1 3/8 | 0,0056 | ||||
| FK50/980 | 976 | 84,9 | 41,0 | 35 / 1 3/8 | 2 x 35 / 1 3/8 | |||||
The technical data for the different designs K and N are identical. The compressor type data therefore do not mention these additions. * K design: closed with cardboard disc.
Dimensions and connections



| SV DV | Suction line see technical data, Chapter 8 Discharge line | |
| A | Connection suction side, not lockable | 1/8″ NPTF |
| A1 | Connection suction side, lockable | 7/16″ UNF |
| B | Connection discharge side, not lockable | 1/8″ NPTF |
| B1 | Connection discharge side, lockable | 7/16″ UNF |
| C | Connection oil pressure safety switch OIL | 1/8″ NPTF |
| D | Connection oil pressure safety switch LP | 1/8″ NPTF |
| E | Connection oil pressure gauge | 1/8″ NPTF |
| F | Oil drain | 1/4″ NPTF |
| G | Opt. connection for oil sump heater | 1) |
| H | Oil charge plug | 1/4“ NPTF |
| K | Sight glass | 2 x 1 1/8″- 18 UNEF |
| L | Connection thermal protection thermostat | 1/8″ NPTF |
| M | Oil strainer | M22 x 1.5 |
| SV1 | Opt. connection for suction line valve | – – |
1) No connection available as standard. Available on request (Connection M22 x 1.5)
Declaration of incorporation
Declaration of incorporation for incomplete machinery
Manufacturer: Bock GmbH
Benzstraße 7
72636 Frickenhausen, Germany
We, as manufacturer, declare in sole responsibility that the incomplete machinery in accordance with EC Machinery Directive 2006/42/EC, Annex II 1. B
- Name: Semi-hermetic compressor
- Types: HG(X)12P/60-4 S (HC) ……………………HG(X)88e/3235-4(S) (HC)
- UL-HGX12P/60 S 0,7……………………… UL-HGX66e/2070 S 60
- HGX12P/60 S 0,7 LG …………………….. HGX88e/3235 (ML/S) 95 LG
- HG(X)22(P)(e)/125-4 A …………………… HG(X)34(P)(e)/380-4 (S) A
- HGX34(P)(e)/255-2 (A) ………………….. HGX34(P)(e)/380-2 (A)(K)
- HA(X)12P/60-4 ……………………………… HA(X)6/1410-4
- HAX22e/125 LT 2 LG ……………………. HAX44e/665 LT 14 LG
- HGX12e/20-4 (ML/S) CO2 (LT) ……….. HGX44e/565-4 S CO2
- UL-HGX12e/20 (S/ML) 0,7 CO2 (LT)… UL-HGX44e/565 S 31 CO2
- HGX12/20-4 (ML/S/SH) CO2T………….. HGX46/440-4 (ML/S/SH) CO2 T
- UL-HGX12/20 ML(P) 2 CO2T…………. UL-HGX46/440 ML(P) 53 CO2T
- HGZ(X)7/1620-4 ……………………………. HGZ(X)7/2110-4
- HGZ(X)66e/1340 LT 22…………………… HGZ(X)66e/2070 LT 35
- HRX40-2 CO2 T H………………………….. HRX60-2 CO2 T H
- Name: Open type compressor
- Types: F(X)2 …………………………………… F(X)88/3235 (NH3)
- FK(X)1………………………………….. FK(X)3
- FK(X)20/120 (K/N/TK)…………….. FK(X)50/980 (K/N/TK)
- Serial number: BC00000A001 – BN99999Z999
complies with the following provisions of the above-mentioned Directive:
According to Annex I, points 1.1.2, 1.1.3, 1.1.5, 1.3.2, 1.3.3, 1.3.7, 1.5.1, 1.5.2, 1.5.13 and 1.7.1 to 1.7.4 (excepted 1.7.4 f) are fulfilled.
Applied harmonised standards, in particular:
- EN ISO 12100 :2010 Safety of machinery — General principles for design — Risk assessment and risk reduction
- EN 12693 :2008 Refrigerating systems and heat pumps — Safety and environmental requirements — Positive displacement refrigerant compressors
Remarks:
We also declare that the special technical documentation for this incomplete machine has been created in accordance with Annex VII, Part B and we obligate to provide these upon reasoned request from the individual national authorities by data transfer.
Commissioning is prohibited until it has been confirmed that the machinery into which the incomplete machine above is to be incorporated complies with the EC Machinery Directive and an EC Declaration of Conformity, Annex II. 1. A exists.
Authorized person for compiling and handing over technical documentation:
Bock GmbH
Alexander Layh
Benzstraße 7
72636 Frickenhausen, Germany
Frickenhausen, 04th of January 2021
Declaration of incorporation
Declaration of incorporation of partly completed machinery in accordance with UK Statutory Instrument Supply of Machinery (Safety) Regulations 2008, Annex II 1. B
Manufacturer: Bock GmbH
Benzstraße 7
72636 Frickenhausen, Germany
We, as manufacturer, declare in sole responsibility that the partly completed machinery
- Name: Semi-hermetic compressor
- Types: HG(X)12P/60-4 S (HC) ……………………HG(X)88e/3235-4(S) (HC)
- UL-HGX12P/60 S 0,7……………………… UL-HGX66e/2070 S 60
- HGX12P/60 S 0,7 LG …………………….. HGX88e/3235 (ML/S) 95 LG
- HG(X)22(P)(e)/125-4 A …………………… HG(X)34(P)(e)/380-4 (S) A
- HGX34(P)(e)/255-2 (A) ………………….. HGX34(P)(e)/380-2 (A)(K)
- HA(X)22e/125-4 …………………………….. HA(X)6/1410-4
- HAX22e/125 LT 2 LG ……………………. HAX44e/665 LT 14 LG
- HGX12e/20-4 (ML/S) CO2 (LT) ……….. HGX44e/565-4 S CO2
- UL-HGX12e/20 (S/ML) 0,7 CO2 (LT)… UL-HGX44e/565 S 31 CO2
- HGX12/20-4 (ML/S/SH) CO2T………….. HGX46/440-4 (ML/S/SH) CO2 T
- UL-HGX12/20 ML(P) 2 CO2T…………… UL-HGX46/440 ML(P) 53 CO2T
- HGZ(X)7/1620-4 ……………………………. HGZ(X)7/2110-4
- HGZ(X)66e/1340 LT 22…………………… HGZ(X)66e/2070 LT 35
- HRX40-2 CO2 T H………………………….. HR(Z)X60-2 CO2 T (H)(V)
- Name: Open type compressor
- Types: F(X)2 …………………………………………… F(X)88/3235 (NH3)
- FK(X)1………………………………………….. FK(X)3
- FK(X)20/120 (K/N/TK)…………………….. FK(X)50/980 (K/N/TK)
- Serial number: BC00000A001 – BN99999Z999 complies with the following provisions of the above-mentioned Statutory instrument:
According to Schedule 2, part1, points 1.1.2, 1.1.3, 1.1.5, 1.3.2, 1.3.3, 1.3.7, 1.5.1, 1.5.2, 1.5.13 and 1.7.1 to 1.7.4 (excepted 1.7.4 f) are fulfilled.
Designated standards:
- EN ISO 12100 :2010 Safety of machinery — General principles for design — Risk assessment and risk reduction
- EN 12693 :2008 Refrigerating systems and heat pumps — Safety and environmental requirements — Positive displacement refrigerant compressors
Remarks: We also declare that the special technical documentation for this partly completed machine has been created in accordance with Annex II, 1. B and we obligate to provide these upon reasoned request from the individual national authorities by data transfer. Commissioning is prohibited until it has been confirmed that the machinery into which the partly completed machine above is to be incorporated complies with the UK Statutory Instrument Supply machinery (Safety) regulations 2008 and an EC Declaration of Conformity, Annex II, 1. A exists.
Bock GmbH
Authorized person for compiling and handing Alexander Layh over technical documentation: Benzstraße 7
72636 Frickenhausen, Germany
Danfoss A/S
Climate Solutions
danfoss.com
+45 7488 2222 Any information, including, but not limited to information on selection of product, its application or use, product design, weight, dimensions, capacity or any other technical data in product manuals, catalogues descriptions, advertisements, etc. and whether made available in writing, orally, electronically, online or via download, shall be considered informative, and is only binding if and to the extent, explicit reference is made in a quotation or order confirmation. Danfoss cannot accept any responsibility for possible errors in catalogues, brochures, videos and other material. Danfoss reserves the right to alter its products without notice. This also applies to products ordered but not delivered provided that such alterations can be made without changes to form, fit or function of the product. All trademarks in this material are property of Danfoss A/S or Danfoss group companies. Danfoss and the Danfoss logo are trademarks of Danfoss A/S. All rights reserved.
© Danfoss | Climate Solutions | 2023.06











