GEA Bock F76
Assembly instructions
96438-02.2020-Gb
Translation of the original instructions
F76/1570 FX76/1570
F76/1800 FX76/1800
F76/2050 FX76/2050
F76/2425 FX76/2425
BOCK F76 Open Type Compressor
About these instructions
Read these instructions before assembly and before using the compressor. This will avoid misunderstandings and prevent damage. Improper assembly and use of the compressor can lead to serious or fatal injury.
Observe the safety instructions contained in these instructions.
These instructions must be passed onto the end customer along with the unit in which the compressor is installed.
Manufacturer
GEA Bock GmbH
72636 Frickenhausen
Contact
GEA Bock GmbH
Benzstraße 7
72636 Frickenhausen
Germany
Telephone +49 7022 9454-0
Fax+49 7022 9454-137
gea.com
gea.com/contact
Safety
1.1 Identification of safety instructions
| DANGER | Indicates a dangerous situation which, if not avoided, will cause immediate fatal or serious injury. | |
| WARNING | Indicates a dangerous situation which, if not avoided, may cause fatal or serious injury. | |
| CAUTION | Indicates a dangerous situation which, if not avoided, may cause fairly severe or minor injury. | |
| ATTENTION | Indicates a situation which, if not avoided, may cause property damage. | |
| INFO | Important information or tips on simplifying work. |
1.2 Qualifications required of personnel
WARNING
Inadequately qualified personnel poses the risk of accidents, the consequence being serious or fatal injury. Work on compressors is therefore reserved for personnel which is qualified to work on pressurized refrigerant systems:
- For example, a refrigeration technician, refrigeration mechatronic engineer. As well as professions with comparable training, which enables personnel to assemble, install, maintain and repair refrigeration and air-conditioning systems. Personnel must be capable of assessing the work to be carried out and recognising any potential dangers.
1.3 Safety instructions
WARNING
Risk of accidents.
Refrigerating compressors are pressurised machines and as such call for heightened caution and care in handling.
The maximum permissible overpressure must not be exceeded, even for testing purposes.
Risk of burns!
– Depending on the operating conditions, surface temperatures of over 60 °C on the discharge side or below 0 °C on the suction side can be reached.
– Avoid contact with refrigerant necessarily.
Contact with refrigerant can cause severe burns and skin damage.
1.4 Intended use
WARNING
The compressor may not be used in potentially explosive environments!
These assembly instructions describe the standard version of the compressor named in the title manufactured by GEA Bock. GEA Bock refrigerating compressors are intended for installation in a machine (within the EU according to the EU Directives 2006/42/EC Machinery Directive, 2014/68/EU Pressure Equipment Directive).
Commissioning is permissible only if the compressor has been installed in accordance with these assembly instructions and the entire system into which it is integrated has been inspected and approved in accordance with legal regulations.
The compressors are intended for use in refrigeration systems in compliance with the limits of application.
Only the refrigerant specified in these instructions may be used.
Any other use of the compressor is prohibited!
Product description
2.1 Short description
- 6-cylinder open type compressor for external drive (V-belt or coupling)
- with oil pump lubrication
Dimension and connection values can be found in Chapter 9.
2.2 Name plate (example)
- Type designation
- Machine number
- Rotation speed minimum with a corresponding displacement
- Rotation speed maximum with a corresponding displacemen
- ND(LP): Max. admissible operating pressure Suction side HD(HP): Max. admissible operating pressure
High-pressure side - Oil type charged at factory
Observe the limit of application diagrams!
2.3 Type code (example)
¹) X – Ester oil charge (HFC refrigerant R134a, R404A/R507, R407C)
Areas of application
3.1 Refrigerants
- HFKW / HFC:
R134a, R404A/R507, R407C - (H)FCKW / (H)CFC:
R22
3.2 Oil charge
- The compressors are filled with the following oil type at the factory:
– for R134a, R404A/R507, R407C
FUCHS Reniso Triton SE 55
– for R22
FUCHS Reniso SP 46
Compressors with ester oil charge (FUCHS Reniso Triton SE 55) are marked with an X in the type designation (e.g. FX76/2425).
INFO
For refilling, we recommend the above oil types.
Alternatives: see lubricants table, Chapter 6.4
ATTENTION
The correct oil level is shown in Figure 4.
Damage to the compressor is possible if overfilled or underfilled!
3.3 Operating limits
ATTENTION Compressor operation is possible within the operating limits shown in the diagrams. Please note the significance of the shaded areas. Thresholds should not be selected as design or continuous operating points.
– Permissible ambient temperature (-20 °C) – (+60 °C)
– Max. permissible discharge end temperature: 140 °C
– Max. permissible switching frequency: Please refer to the instructions of the engine manufacturer.
– A minimum running time of 3 min. steady-state condition (continuous operation) must be achieved.
Avoid continuous operation near the threshold.
For operation with supplementary cooling:
– Use only oils with high thermal stability.
For operation with capacity regulator:
– The suction gas superheat temperature may need to be reduced or set individually when operating near to the threshold.
When operating in the vacuum range, there is a danger of air entering on the suction side. This can cause chemical reactions, a pressure rise in the condenser and an elevated compressed-gas temperature. Prevent the ingress of air at all costs!
3.3 Operating limits
Compressor assembly
INFO
New compressors are factory-filled with inert gas. Leave this service charge in the compressor for as long as possible and prevent the ingress of air. Check the compressor for transport damage before starting any work.
4.1 Storage and transport
- Storage at (-30 °C) – (+70 °C), maximum permissible relative humidity 10 % – 95 %, no condensation
- Do not store in a corrosive, dusty, vaporous atmosphere or in a com bustible environment.
- Use transport eyelet.
- Do not lift manually!
- Use lifting gear with sufficient load capacity!
- Transport and suspension unit on the eyebolt (Fig. 11).

4.2 Setting up
ATTENTION Attachments (e.g. pipe holders, additional units, fastening parts, etc.) directly to the compressor are not permissible!
![]() | • Provide adequate clearance for maintenance work. Provide adequate ventilation for the drive motor. |
![]() | • Do not use in a corrosive, dusty, damp atmosphere or a combustible environment. |
![]() | • Compressors and drive motors are basically rigid and should be mounted together on a base frame. Setup on an even surface or frame with sufficient load-bearing capacity. Use all 4 fastening points. • Correct setup of the compressor and mounting of the belt drive are decisive for running comfort, operating safety and the service life of the compressor. |
4.3 Maximum permissible inclination
ATTENTION Risk of compressor damage.
Poor lubrication can damage the compressor.
Respect the stated values.
4.4 Pipe connections
ATTENTION Risk of damages.
Overheating can damage the valve.
Remove the pipe supports from the valve for soldering.
Only solder using inert gas to inhibit oxidation products (scale).
- The pipe connections have stepped internal diameters so that pipes with standard millimetre and inch dimensions can be used.
- The connection diameters of the shut-off valves are designed for maximum compressor output. The required pipe cross-section must be matched to the capacity. The same applies for non-return valves.
- The required tightening torque for the flange connection is 60 Nm.
4.5 Pipes
- Pipes and system components must be clean and dry inside and free of scale, swarf and layers of rust and phosphate. Only use air-tight parts.
- Lay pipes correctly. Suitable vibration compensators must be provided to prevent pipes being cracked and broken by severe vibrations.
- Ensure a proper oil return.
- Keep pressure losses to an absolute minimum.
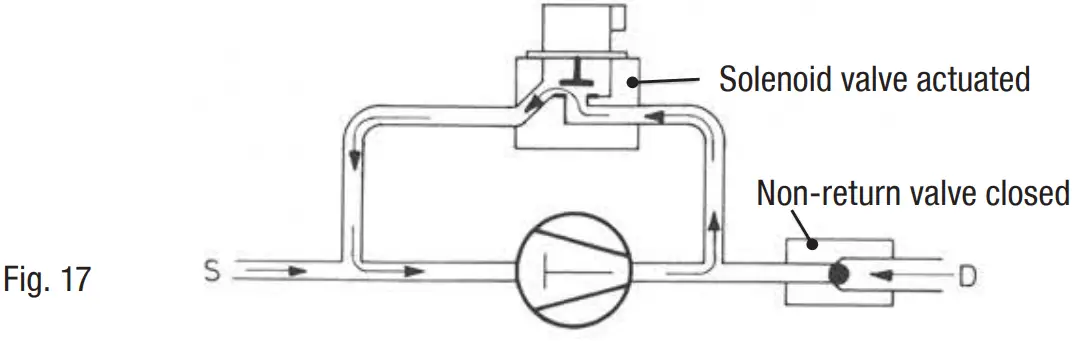
4.6 Start unloader (external)
An internal start unloader ex factory is not available. Alternatively a start unloader can be installed in the plant.
Operation:
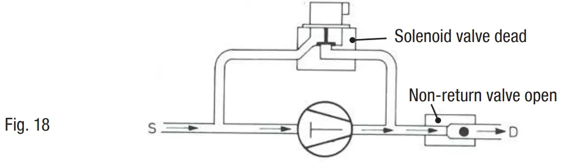
When the compressor is started, a solenoid valve receives power via a time switch and opens a bypass between the discharge- and suction line. At the same time, a non-return valve in the discharge line closes and prevents a backflow of refrigerant from the condenser (Fig. 17).
The compressor is now short-circuited and delivers from the outflow directly into the intake. The pressure differential consequently decreases substantially. As a result, the torque on the drive shaft of the compressor is considerably diminished. The drive motor can now start with a low level of starting torque. As soon as the motor and the compressor reach their rated speed, the solenoid valve closes and the non-return valve opens (Fig. 18). The compressor now works under normal load.
Important:
– Start unloader may only be employed during the starting phase.
– Check the solenoid valve and the non-return valve regularly for tightness.
-In addition, we recommend to use a heat protection thermostat on the discharge side of the com pressor. This protects the compressor against thermal overloading. Connect the heat protection thermostat in series on the safety chain of the control circuit, to switch off the compressor if necessary.
– Follow these instructions to avoid thermal overloading.
4.7 Laying suction and discharge lines
ATTENTION Improperly installed pipes can cause cracks and tears, the result being a loss of refrigerant.
INFO
Proper layout of the suction and discharge lines directly after the compressor is integral to the system’s smooth running and vibration behaviour.
A rule of thumb: Always lay the first pipe section starting from the shut-off valve downwards and parallel to the drive shaft.
4.8 Operating the shut-off valves
- Before opening or closing the shut-off valve, release the valve spindle seal by approx. 1/4 of a turn counter-clockwise.
- After activa ting the shut-off valve, re-tighten the adjustable valve spindle seal clockwise.

4.9 Operating mode of the lockable service connections
Opening the shut-off valve:
Spindle: turn to the left (counter-clockwise) as far as it will go.
—> The shut-off valve is then fully open and the service connection is closed.
Opening the service connection
Spindle: 1/2 – 1 rotation to the right (clockwise).
—> The service connection is then open and the shut-off valve is also open.
After activating the spindle, generally fit the spindle protection cap again and tighten with 14 – 16 Nm.This serves as a second sealing feature during operation.
4.10 Drive
CAUTION Risk of injury.
Mount suitable safeguards when driving the compressor by means of V-belts or shaft couplings!
ATTENTION Faulty alignment results in premature failure of the coupling and bearing damage!
The compressors can be driven by V-belts or directly by shaft couplings.
V-belt:
• Proper assembly of belt drive:
– The pulleys of compressor and drive motor must be firmly mounted and in line.
– Only use V-belts with calibrated lengths.
– Select axis spacing, V-belt length and belt pre-tension according to the instructions issued by the V-belt manufacturer. Avoid belt fluttering.
– Check belt pre-tension after running-in time.
– Maximum permissible axle load due to belt tension force: 9500 N.
Direct drive with shaft coupling:
• Direct drive with shaft couplings demands highly precise aligning of compressor shaft and motor shaft.
GEA Bock recommends the direct drive with centring a coupling housing (accessory).
Commissioning
5.1 Preparations for start-up
INFO
To protect the compressor against inadmissible operating conditions, high pressure and low pressure pressostats are mandatory on the installation side.
The compressor has undergone trials in the factory and all functions have been tested. There are therefore no special running-in instructions.
Check the compressor for transport damage!
ATTENTION If the capacity regulator is mounted at the factory, the control component (pilot valve) is mounted and connected subsequently by the customer. If the control component is not connected, the cylinder bank is switched off permanently. Damage to the compressor is possible! See chapter 7.
5.2 Pressure strength test
The compressor has been tested in the factory for pressure integrity. If however the entire system is to be subjected to a pressure integrity test, this should be carried out in accordance with EN 378-2 or a corresponding safety standard without the inclusion of the compressor.
5.3 Leak test
DANGER Risk of bursting!
The compressor must only be pressurised using nitrogen (N2).
Never pressurise with oxygen or other gases!
The maximum permissible overpressure of the compressor must not be exceeded at any time during the testing process (see name plate data)! Do not mix any refrigerant with the nitrogen as this could cause the ignition limit to shift into the critical range.
- Carry out the leak test on the refrigerating plant in accordance with EN 378-2 or a corresponding safety standard, while always observing the maximum permissible overpressure for the compressor.
5.4 Evacuation
- First evacuate the system and then include the compressor in the evacuation process.
- Relieve the compressor pressure.
- Open the suction and pressure line shut-off valves.
- Evacua te the suction and discharge pressure sides using the vacuum pump.
- At the end of the evacuation process, the vacuum should be < 1.5 mbar when the pump is switched off.
- Repeat this process as often as is required.
5.5 Refrigerant charge
CAUTION
Risk of injury!
Contact with refrigerant can cause severe burns and skin damage.
Avoid contact with refrigerant and wear personal protective clothing such as goggles and protective gloves!
- Make sure that the suction and discharge line valves are open.
- With the compressor switched off, add the liquid refrigerant directly to the condenser or receiver, breaking the vacuum.
- If the refrigerant needs topping up after starting the compressor, it can be topped up in vapour form on the suction side, or, taking suitable precautions, also in liquid form at the inlet to the evaporator.
ATTENTION
- Avoid overfilling the system with refrigerant!
- To avoid shifts in concentration, zeotropic refrigerant blends must always only be filled into the refrigerating plant in liquid form.
- Do not pour liquid coolant through the suction line valve on the compressor.
- It is not permissible to mix additives with the oil and refrigerant.
5.6 Shaft seal
ATTENTION Failure to observe the following instructions can cause loss of refrigerant and damage to the shaft seal!
INFO
The shaft seal lubricates and seals with oil. An oil leakage of 0.05 ml per operating hour is therefore normal. This applies particularly during the run-in phase (200 – 300 h).
The compressor is equipped with an integrated leak oil drain hose. Through a drain hose leak oil can be drained.
Dispose of the leak oil in accordance with the valid national regulations.
The compressor shaft is sealed to outside using a shaft seal. The sealing element rotates with the shaft. The following is especially important to ensuring fault-free operation:
- The complete refrigerant circuit must be correctly executed and clean inside.
- Heavy shocks and vibrations to the shaft as well as continuous cyclic operation are to be avoided.
- The sealing surfaces can stick together during prolonged downtimes (e.g. winter). Therefore, run the system every 4 weeks for 10 minutes.
5.7 Start-up
WARNING Ensure that both shut-off valves are open before starting the compressor!
Check that the safety and protection devices (pressure switch, motor protection, electrical contact protection measures, etc.) are all functioning properly.
Switch on the compressor and allow to run for a minimum of 10 min.
Check the oil level by: The oil must be visible in the sight glass.
ATTENTION If larger quantities of oil have to be topped up, there is a risk of oil hammer effects.
If this is the case check the oil return!
5.8 Avoiding slugging
ATTENTION Slugging can damage the compressor and cause refrigerant to leak.
To prevent slugging:
- The complete refrigeration system must be properly designed.
- All components must be compatibly rated with each other with regard to output (particularly the evaporator and expansion valves).
- Suction gas superheat at the compressor input should be min. 7 – 10 K. (check the setting of the expansion valve).
- The system must reach a state of equilibrium.
- Particularly in critical systems (e.g. several evaporator points), measures are recommended such as replacement of liquid traps, solenoid valve in the liquid line, etc.
There should be no movement of coolant whatsoever while the compressor is at a standstill.
5.9 Oil separator
ATTENTION Oil slugging can result in damage to the compressor.
To prevent oil slugging:
- The oil return from the oil separator must be guided back at the intended connection (D1) on the compressor housing.
- A dir ect oil return into the suction line from the oil separator is not permissible.
- Ensure that the oil separator is properly dimensioned.
Maintenance
6.1 Preparation
WARNING
Before starting any work on the compressor:
- Switch off the compressor and secure it to prevent a restart.
- Relieve compressor of system pressure.
- Prevent air from infiltrating the system!
After maintenance has been performed: - Connect safety switch.
- Evacuate compressor.
- Release switch lock.
6.2 Work to be carried out
To guarantee optimum operating safety and service life of the compressor, we recommend performing service and checking work at regular intervals of time:
- Oil change:
– In series plants produced in the factory not mandatory.
– In field installations or operating in the application limit range, first oil change after approx.100 – 200 operating hours, then approx. every 3 years or 10,000 – 12,000 operating hours.
Dispose of old oil according to the regulations, observe national regulations.
Annual checks: Oil level, tightness, running noise, pressures, temperatures, function of auxiliary devices such as a oil sump heater, pressure switch. Comply with the national regulations!
6.3 Spare parts recommendation
| F76 / … | 1570 | 1800 | 2050 | 2425 |
| Designation | Ref. No. | |||
| Set of gaskets | 81303 | 81304 | 81305 | 81306 |
| Valve plate kit | 81616 | 81617 | 81743 | 81744 |
| Kit piston / connecting rod | 81287 | 81288 | 8491 | 81290 |
| Kit capacity regulator | 80879 | 81414 | 80889 | 80879 |
| Oil pump kit | 80116 | |||
| Kit shaft seal | 80897 | |||
| Oil SP 46, 1 litre | 2279 | |||
| Oil SE 55, 1 litre | 2282 | |||
Only use genuine GEA Bock spare parts!
6.4 Shaft seal change
As changing the shaft seal involves opening the refrigerant circuit, this is recommended only if the seal is losing refrigerant. Replacing the shaft seal is described in the spare part kit concerned.
Maintenance
6.5 Excerpt from the lubricant table
The oil grade filled as standard in the factory is noted on the name plate. This oil grade should be used preferably. Alternatives to this are listed in the following excerpt from our lubricant table.
| Refrigerant | GEA Bock series oil grades | Recommended alternatives |
| HFKW / HFC(e.g. R134a,R404A/R507, R407C) | Fuchs Reniso Triton SE 55 | FUCHS Reniso Triton SEZ 32 ICI Emkarate RL 32 H, S MOBIL Arctic EAL 32 SHELL Clavus R 32 |
| (H)FCKW / (H)CFC(e.g. R22) | Fuchs Reniso SP 46 | FUCHS Reniso, z.B. KM, HP, SP 32 SHELL Clavus SD 22-12 TEXACO Capella WF 46 |
Information on further suitable oils on request.
6.6 Decommissioning
Close the shut-off valves on the compressor. Drain the refrigerant (it must not be discharged into the environment) and dispose of it according to the regulations. When the compressor is depressurised, undo the fastening screws of the shut-off valves. Remove the compressor using an appropriate hoist.
Dispose of the oil inside in accordance with the applicable national regulations.
Accessories
ATTENTION When attaching accessories with an electrical cable, a minimum bending radius of 3 x the cable diameter must be maintained for laying the cable.
7.1 Oil sump heater
When the compressor is at a standstill, refrigerant diffuses into the lubrication oil of the compressor housing, depending on pressure and ambient temperature. This reduces the lubrication capacity of the oil. When the compressor starts up, the refrigerant contained in the oil evaporates out through the reduction in pressure. The consequences can be lack of lubrication, foaming and migration of the oil, which can eventually lead to compressor damage.
To prevent this, the oil can be heated via an oil sump heater.
ATTENTION The oil sump heater must work even if a system failure occurs.
Therefore the oil sump heater must not be connected to the electrical circuit of the safety control chain!
Operation: Oil sump heater ON at standstill of the compressor.
Oil sump heater OFF during operation of the compressor
Connection: Oil sump heater must be connected via an auxiliary contact (or parallel wired auxiliary contact) of the motor contactor to a separate electric circuit.
Electrical data: 230 V – 1 – 50/60 Hz, 200 W.
7.2 Capacity regulator
ATTENTION If the capacity regulator is mounted at the factory, the control component (pilot valve) is mounted and connected subsequently by the customer.
Delivery status 2 (ex works):
Capacity regulator assembled with cover (transport protection).
Delivery status 1 (ex works):
Cylinder cover prepared for capacity regulator.
Before start-up, remove the cover at the capacity regulator and replace it with the enclosed control unit (pilot valve).
Caution! The compressor is under pressure! Depressurize the compressor first.
Screw in control unit (pilot valve) with sealing ring and tight with 15 Nm.
Wet thread sides with ester oil.
Insert magnetic coil, fasten it with knurled nut and connect it.
WARNING
Several capacity regulators cannot switch at the same time during compressor operation! Otherwise the sudden change in load can damage the compressor! Comply with the switching interval of 60 s.
- Comply with the switching sequence:
Switching on CR1— 60s→ CR2
Switching off CR2— 60s→ CR1
ATTENTION
- Capacity-regulated operation alters the gas speeds and pressure ratios of the refrigerating plant: Adjust the suction line routing and dimensioning accordingly, do not set the control intervals too close and do not let the system switch more than 12 times per hour (refrigerating plant must have reached a state of equilibrium). Continuous operation in the control stage is not permitted.
- We recommend switching to unregulated operation (100 % capac ity) for at least 5 minutes per capacity-regulated operating hour.
- An assured oil return can also be realised by a 100 % capacity requirement after each compressor restart.
- Electrical actuation of the solenoid valve: Normally open, (cor – responds to 100 % compressor capacity).
Special accessories are only premounted in the factory if ordered specially by customer. Retrofitting is possible in full compliance with the safety instructions and repair instructions enclosed with the kits.
Information about the use, operation, maintenance and servicing of the components is available in the printed literature or on the internet under www.gea.com.
Elevated base plate
The compressor can be equipped with a elevated base plate.
This increases the oil volume by 2.7 liters, the weight increases by 7.3 kg.
Technical data

Dimensions and connections
F76
Shaft end
| SV DV | Suction line Discharge line see technical data, Chapter 8 | |
| A | Connection suction side, not lockable | 1/8″ NPTF |
| Al | Connection suction side. lockable | 7/16″ UNF |
| B | Connection discharge side. not lockable | 1/g’• NPTF |
| B1 | Connection discharge side. lockable | 7/16- UNF |
| B2 | Connection discharge side. not lockable | 7/16. UNF |
| C | Connection oil pressure safety switch OIL | 7/16- UNF |
| D | Connection oil pressure safety switch LP | 7/16 . UNF |
| D1 | Connection oil return from oil separator | 5/8′ UNF |
| E | Connection oil pressure gauge | 7/16″ UNF |
| F | Oil drain plug | M22x1.5 |
| I-1 | Oil charge plug | M22x1.5 |
| J | Connection oil sump heater | M22x1.5 |
| K | Sight glass | 3 x M6 |
| L | Connection thermal protection thermostat | 1/8′ NPTF |
| OV | Connection oil service valve | 1/4 NPTF |
| P | Connection oil pressure differential sensor | M20x1.5 |
| Q | Connection oil temperature sensor | 1/8.. NPTF |
View X
- Oil sight glass
- Possibility to connect to oil level regulator
Three-hole connection for oil level regulator make ESK, AC+R, CARLY (3 x M6, 10 deep)
Declaration of incorporation
Declaration of incorporation for incomplete machinery
in accordance with EC Machinery Directive 2006/42/EC, Annex II 1. B
| Manufacturer: | GEA Bock GmbH Benzstraße 7 72636 Frickenhausen, Germany |
| We, as manufacturer, declare in sole responsibility that the incomplete machinery | |
| Name: | Semi-hermetic compressor |
| Types: | HG(X)12P/60-4 S (HC) …….. HG88e/3235-4(S) (HC) HG(X)22(P)(e)/125-4 A …….. HG(X)34(P)(e)/380-4 (S) A HGX34(P)(e)/255-2 (A) …….. HGX34(P)(e)/380-2 (A)(K) HA(X)12P/60-4 ……………….. HA(X)6/1410-4 HGX12e/20-4 S CO2 ……….. HGX44e/565-4 S CO2 HGX2/70-4 CO2T ……………. HGX46/440-4 CO2 T HGZ(X)7/1620-4 ……………… HGZ(X)7/2110-4 |
| Name: | Open type compressor |
| Types: | AM(X)2/58-4 …………………… AM(X)5/847-4 F(X)2 …………………………….. F(X)88/3235 (NH3) FK(X)1……………………………. FK(X)3 FK(X)20/120 (K/N/TK)………. FK(X)50/980 (K/N/TK) |
| Serial number: | BB00000A001 – BF99999Z999 |
| complies with the following provisions of the above-mentioned Directive: | According to Annex I, points 1.1.2, 1.1.3, 1.1.5, 1.3.2, 1.3.3, 1.3.7, 1.5.1, 1.5.2, 1.5.13 and 1.7.1 to 1.7.4 (excepted 1.7.4 f) are fulfilled |
| Applied harmonised standards, in particular: | EN ISO 12100 :2010 Safety of machinery — General principles for design — Risk assessment and risk reduction EN 12693 :2008 Refrigerating systems and heat pumps — Safety and environmental requirements — Positive displacement refrigerant compressors |
| Remarks: | We also declare that the special technical documentation for this incomplete machine has been created in accordance with Annex VII, Part B and we obligate to provide these upon reasoned request from the individual national authorities by data transfer. Commissioning is prohibited until it has been confirmed that the machinery into which the incomplete machine above is to be incorporated complies with the EC Machinery Directive and an EC Declaration of Conformity, Annex II. 1. A exists. |
| Authorized person for compiling and handing over technical documentation: | GEA Bock GmbH Alexander Layh Benzstraße 7 72636 Frickenhausen, Germany |
| Frickenhausen, 02nd of January 2019 | i. A. Alexander LayhHead of Compression – Commercial Piston Compressors |
Service
Dear customer,
GEA Bock compressors are top-quality, reliable and service-friendly quality products. If you have any questions about installation, operation and accessories, please contact our technical service or specialist wholesaler and/or our representative. The GEA Bock service team can be contacted by phone with a toll-free hotline 00 800 / 800 000 88 or via gea.com/contact.
Yours faithfully
GEA Bock GmbH
Benzstraße 7
72636 Frickenhausen
Germany
We live our values.
Excellence
Passion
Integrity
Responsibility
GEA-versity
GEA Group is a global engineering company with multi-billion euro sales and operations in more than 50 countries. Founded in 1881, the company is one of the largest providers of innovative equipment and process technology. GEA Group is listed in the STOXX® Europe 600 index.
Danfoss Bock GmbH
Benzstraße 7
72636 Frickenhausen, Germany
Tel. +49 (0)7022 9454-0
Fax +49 (0)7022 9454-137
gea.com
gea.com/contact
Dimension and connection values can be found in Chapter 9.




i. A. Alexander Layh











