Curve Series Charger
User Manual
SEPTEMBER 2021
© 2021 Motorola Solutions, Inc. All rights reserved
en-US fr-CA

Disclaimer
The information in this document is carefully examined and is believed to be entirely reliable. However, no responsibility is assumed for inaccuracies.
Furthermore, Motorola Solutions reserves the right to change any products to improve readability, function, or design. Motorola Solutions does not assume any liability arising out of the applications or use of any product or circuit described herein; nor does it cover any license under its patent rights, nor the rights of others.
MN007877A01-AB Intellectual Property and Regulatory Notices
Intellectual Property and Regulatory Notices
Copyrights
The Motorola Solutions products described in this document may include copyrighted Motorola Solutions computer programs. Laws in the United States and other countries preserve for Motorola Solutions certain exclusive rights for copyrighted computer programs. Accordingly, any copyrighted Motorola Solutions computer programs contained in the Motorola Solutions products described in this document may not be copied or reproduced in any manner without the express written permission of Motorola Solutions. No part of this document may be reproduced, transmitted, stored in a retrieval system, or translated into any language or computer language, in any form or by any means, without the prior written permission of Motorola Solutions, Inc.
Trademarks
MOTOROLA, MOTO, MOTOROLA SOLUTIONS, and the Stylized M Logo are trademarks or registered trademarks of Motorola Trademark Holdings, LLC and are used under license. All other trademarks are the property of their respective owners.
License Rights
The purchase of Motorola Solutions products shall not be deemed to grant either directly or by implication, estoppel or otherwise, any license under the copyrights, patents or patent applications of Motorola Solutions, except for the normal non-exclusive, royalty-free license to use that arises by operation of law in the sale of a product.
Open Source Content
This product may contain Open Source software used under license. Refer to the product installation media for full Open Source Legal Notices and Attribution content.
European Union (EU) Waste of Electrical and Electronic Equipment (WEEE) Directive
The European Union’s WEEE directive requires that products sold in EU countries must have the crossed-out trash bin label on the product (or the package in some cases). As defined by the WEEE directive, this cross-out trash bin label means that customers and end-users in EU countries should not dispose of electronic and electrical equipment or accessories in household waste. Customers or end-users in EU countries should contact their local equipment supplier representative or service center for information about the waste collection system in their country.
Disclaimer
Please note that certain features, facilities, and capabilities described in this document may not be applicable to or licensed for use on a specific system, or may be dependent upon the characteristics of a specific mobile subscriber unit or configuration of certain parameters. Please refer to your Motorola Solutions contact for further information. © 2021 Motorola Solutions, Inc. All Rights Reserved
Class B Digital Device
NOTE: This equipment has been tested and found to comply with the limits for a Class B digital device, pursuant to part 15 of the FCC Rules. These limits are designed to provide reasonable protection against harmful interference in a residential installation. This equipment generates, uses and can radiate radio frequency energy and, if not installed and used in accordance with the instructions, may cause harmful interference to radio communications. However, there is no guarantee that interference will not occur in a particular installation. If this equipment does cause harmful interference to radio or television reception, which can be determined by turning the equipment off and on, the user is encouraged to try to correct the interference by one or more of the following measures:
- Reorient or relocate the receiving antenna.
- Increase the separation between the equipment and receiver.
- Connect the equipment into an outlet on a circuit different from that to which the receiver is connected.
- Consult the dealer or an experienced radio/TV technician for help.
Icon Conventions
The documentation set is designed to give the reader more visual clues. The following graphic icons are used throughout the documentation set.
DANGER: The signal word DANGER with the associated safety icon implies information that, if disregarded, will result in death or serious injury.
WARNING: The signal word WARNING with the associated safety icon implies information that, if disregarded, could result in death or serious injury, or serious product damage.
CAUTION: The signal word CAUTION with the associated safety icon implies information that, if disregarded, may result in minor or moderate injury, or serious product damage.
CAUTION: The signal word CAUTION may be used without the safety icon to state potential damage or injury that is not related to the product.
IMPORTANT: IMPORTANT statements contain information that is crucial to the discussion at hand, but is not a CAUTION or WARNING. There is no warning level associated with the IMPORTANT statement.
NOTE: NOTICE contains information more important than the surrounding text, such as exceptions or preconditions. They also refer the reader elsewhere for additional information, remind the reader how to complete an action (when it is not part of the current procedure, for instance), or tell the reader where something is on the screen. There is no warning level associated with a notice.
Important Safety Instructions
This document contains important safety and operating instructions. Please read these instructions carefully and save them for future reference. Before using the battery charger, read all the instructions and cautionary markings on the charger, the battery, and the radio using the battery.
WARNING:
- Turn off the radio when charging the battery.
- To reduce the risk of damage to the power cord, pull the plug rather than the cord when disconnecting the power cord from the AC outlet or the charger.
- To reduce the risk of fire or electric shock, avoid using an extension cord. If an extension cord must be used, ensure that the cord size is 18 AWG for lengths of up to 6.5 feet (2 m), and 16 AWG for lengths up to 9.8 feet (3 m).
- To reduce the risk of fire, electric shock, or injury, do not operate the charger if it is broken or damaged in any way. Take it to a qualified Motorola Solutions service representative.
- To reduce the risk of fire or electric shock, do not disassemble the charger. It is not repairable and replacement parts are not available.
- To reduce the risk of electric shock, unplug the charger power adapter from the AC outlet before attempting any maintenance or cleaning.
- To reduce the risk of injury, charge only the rechargeable authorized batteries. Other batteries may explode, causing personal injury and damage.
- To reduce the risk of fire, electric shock, or injury, only use the accessories recommended by Motorola Solutions.
- Changes or modifications made to this device, not expressly approved by Motorola Solutions, could void the authority of the user to operate this equipment.
- Ensure that the area behind the mounting surface is always free of electrical wires, cables, and pipes before cutting, drilling, or installing the mounting screws.
- Do not install the product where the weight cannot be supported. If the strength of the location where the wall mount is installed is not strong enough, it can fall off and cause an injury.
- Do not install on a structure that is prone to vibration, movement, or chance of impact.
Operational Safety Guidelines
- This equipment is not suitable for outdoor use. Use only in dry locations and conditions.
- The maximum ambient temperature around the charger must not exceed 40 °C (104 °F).
- Connect the charger only to an appropriate power cord listed in Motorola Solutions Authorized Power Cord List.
- The AC outlet to which the power cord is connected should be close and easily accessible.
- Make sure the power cord is located where it will not be stepped on, tripped over, or subjected to water, damage, or stress.
- Connect the power cord only to an appropriately fused and wired AC outlet with the correct voltage, as specified on the product.
Warranty
The Charger Kit for North America is covered under Motorola Solutions’ one-year limited warranty. If your charger is defective, please contact your Motorola Solutions Partner where the unit was purchased. Order a Replacement Charging Kit if necessary. For product-related questions, contact: 1-800-448-6686 (US & Canada) For more information, contact Motorola Authorized Dealer or visit us at www.motorolasolutions.com.
Chapter 1
Product Overview
Single Unit Charger (SUC)
Multi-Unit Charger (MUC)
Chapter 2
This section list Motorola Solutions Authorized Accessories that can be used with your charger.
Battery
Table 1: Motorola Solutions Authorized Battery
| Kit Number | Description |
| HKNN4013_ | 1800 mAH Battery 4.2 V BT90 |
| PMNN4578_ | HiCap 2500 mAH Battery 4.35 V BT110 |
Unit Charger and Power Supplies
Table 2: Motorola Solutions Authorized Unit Charger and Power Supplies
| Kit Number | Description | Power Supplies |
| PMPN4586_ | Curve Single-Unit Charger (SUC) Tray | None |
| PMPN4587_ | Curve SUC Tray EXT 3 W PS 100240 VAC US/NA | PS000228A011 |
| PMPN4603_ | Curve SUC Tray EXT 5 W PS 100240 VAC US/NA | PS000227A111 |
Multi-Unit Charger and Power Cord
Table 3: Motorola Solutions Authorized Multi-Unit Charger and Power Cord
| Kit Number | Description | Power Cord |
| PMPN4588_ | Curve Multi-Unit Charger (MUC) 6-pocket Tray | None |
| PMPN4589_ | Curve Multi-Unit Charger (MUC) 6-pocket Tray with Power Cord US/NA | 3004209T04 |
UL certification only when charger kits are shipped with the power supply listed above. 11
Chapter 3
Curve SUC Operating Instructions
The Single-Unit Charger (SUC) kit is able to charge the following batteries: 1 Curve Series radio with battery or radio with battery and holster. 2 Standalone batteries as listed in Authorized Accessories on page 11
NOTE: Batteries charge best at room temperature.
3.1Charging Procedure
Procedure:
- Place the Curve Single-Unit Charger (SUC) Tray on a flat surface.
- Insert the connector of the power supply into the port on the side of the drop-in tray charger.
- Plug the wall receptacle end of the power supply cord into the appropriate AC outlet.
- Insert the radio into the tray with the front of the radio facing the front of the charger.
NOTE: Ensure that the radio is turned off before charging. The radio turns off by default when placed in the SUC.
Figure 1: Insert the Radio to the Charger Pocket
3.2 Charging a Stand-Alone Battery
Procedure:
- Align the raised tab on each side of the battery with the corresponding groove on each side of the charger pocket.
- Press the battery toward the rear of the pocket.
- Slide the battery into the charger pocket, ensuring complete contact between the charger and battery contacts.
Figure 2: Insert the Battery to the Charger Pocket

When the battery is properly seated in the pocket, the charger indicates the battery level status. See Charging Indicator on page 18.
Chapter 4
Curve 6-Pocket MUC Kit Operating Instructions
The charger pockets 16 accommodates either a radio with the battery attached or a stand-alone battery. The Multi-Unit Charger (MUC) kit is able to charge the following batteries:
- Curve Series radios with batteries or radios with batteries and holsters.
- Stand-alone batteries as listed in Authorized Accessories on page 11.
NOTE: Batteries charge best at room temperature.
4.1 Charging Procedure for Multi-Unit Charger
When and where to use: The Multi-Unit Charger (MUC) allows drop-in charging of up to six Curve Series radios or batteries. Batteries can charge inside the radios or be removed and placed in the MUC separately. Each of the six charging pockets on the MUC can hold a radio or battery. Batteries are charged in 3 to 6 hours.
Procedure:
- Plug the charger end of the power supply cord into the power receptacle located at the bottom of the charger.
- Plug the wall receptacle end of the power supply cord into the appropriate AC outlet. A successful power-up sequence is indicated by a single flash green.
- Perform the following actions:
| Options | Actions |
| Charging a radio with the battery | a Turn off the radio. b Slide the radio into the charger pocket. c Align the groove on each side of the radio with a corresponding raised rail on each side of the charger pocket. d Ensure complete contact between the charger and radio contacts. |
| Charging a standalone battery | Insert the battery into the charger pocket. b Align the raised tab on each side of the battery with the corresponding groove on each of the charger pockets. c Press the battery towards the rear of the pocket. d Slide the battery into the charger pocket. e Ensure complete contact between the charger and radio contacts. |
The charger indicator lights up to indicate the Battery Level status. See Table 4: Charger LED Indicator on page 18.
To remove a radio or stand-alone battery from the charger, use both hands to remove a radio or battery from the charger pocket. One hand holds and support the charger while the other hand removes the radio or battery.
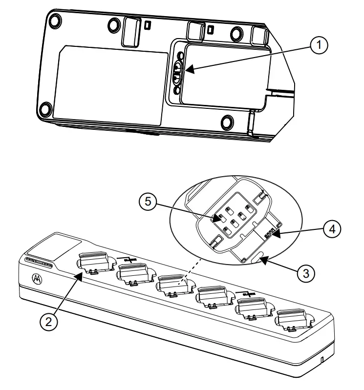
| 1 | Power Receptacle |
| 2 | Charging Pocket |
| 3 | Charging Indicator |
| 4 | Battery Contacts |
| 5 | Radio Contacts |

Cloning Radio Settings
The Curve 6-Pocket Multi-Unit Charger (MUC) Tray allows you to clone up two radios at a time (two sources and two target radios) by using pockets 1-2 and 4-5. For further details on the cloning procedure, refer to the Curve Series radio manual.
Figure 3: Cloning Radio Settings
| 1 | Pocket 1 |
| 2 | Pocket 2 |
| 3 | CLONE symbol |
| 4 | Pocket 4 |
| 5 | Pocket 5 |
Mounting Curve 6-Pocket Multi-Unit Charger
Use the appropriate mounting hardware to mount the Multi-Unit Charger (MUC) to the wall. The mounting hardware must be suitable for the type of wall material fixture it is being mounted to.
| 1 | MUC mounting area |
| 2 | Flathead screw |
NOTE: It is recommended to use a 6 X 1-inch flat head tapping screw on wood stud and solid-flat concrete or brick wall.
Chapter 5
Charging Indicator
Table 4: Charger LED Indicator
| Charger Indicator | LED Status | Description |
| Green for approximately one second | Power On | |
| Solid red | Charging | |
| Solid green | Charged | |
| Rapid-blinking red | Error | |
| Blinking amber | Standby | |
| Blinking red | Battery Level Status: Low | |
| Double-blinking amber | Battery Level Status: Medium | |
| Triple-blinking green | Battery Level Status: High |
Chapter 6
Troubleshooting
When and where to use: When troubleshooting, always observe the color of the LED.
Procedure:
- If there is no LED indication, check that the radio or stand-alone battery is inserted correctly.
- Ensure the power supply is plugged into an appropriate AC outlet.2
- Ensure the USB connector of the power supply is plugged securely into the charger socket.2
- Ensure the power cord is plugged securely into the charger socket with an appropriate AC outlet and there is power to the outlet.3
- Confirm that the battery used with the radio is Motorola Solutions authorized batteries listed in Authorized Accessories on page 11.




















