milwaukee M12 CROSS LINE & PLUMB POINTS LASER User Manual
WARNING
To reduce the risk of injury, user must read and understand operator’s manual.
GENERAL POWER TOOL SAFETY WARNINGS
WARNING Read and understand all instruc-tions. Failure to follow all instructions listed below. may result in electric shock. fire and/or serious personal injury. Save all warnings and in-structions for future reference. -Save these instructions – This operator’s manual contains important safety and operating instructions.
LASER SAFETY
WARNING The device produces visible laser beams, which are emitted from the tool.
- This device complies with AS/NZS 60825.1, Class 2 Laser.
- Laser light – Do not stare into beam or view directly with optical instruments. Do not point laser light at others. Laser light can cause eye damage.
PERSONAL SAFETY
- Do not allow persons unfamiliar with the tool, these safety instructions, and the tool’s opera-tor’s manual to operate the tool. This tool can be dangerous in the hands of untrained users.
- Do not overreach. Keep proper footing and balance at all times. This enables better control of the tool in unexpected situations.
BATTERY USE AND CARE
- Recharge only with the charger specified by the manufacturer. A charger that is suitable for one type of battery pack may create a risk of fire when used with another battery pack.
- Use power tools only with specifically designated battery packs. Use of any other battery packs may create a risk of injury and fire.
- When battery pack is not in use, keep it away from other metal objects, like paper clips, coins, keys, nails, screws or other small metal objects, that can make a connection from one terminal to another. Shorting the battery terminals together may cause burns or a fire.
- Under abusive conditions, liquid may be ejected from the battery; avoid contact. If contact accidentally occurs, flush with water. If liquid contacts eyes, additionally seek medical help. Liquid ejected from the battery may cause irritation or burns.
- Do not use a battery pack or tool that is dam-aged or modified. Damaged or modified batteries may exhibit unpredictable behavior resulting in fire, explosion or risk of injury.
- Do not expose a battery pack or tool to fire or excessive temperature. Exposure to fire or tem-perature above 130°C (265°F) may cause explosion.
- Follow all charging instructions and do not charge the battery pack or tool outside the temperature range specified in the instructions. Charging improperly or at temperatures outside the specified range may damage the battery and increase the risk of fire.
- Store your battery and tool in a cool, dry place. Do not store battery where temperatures may exceed 50°C (120°F) such as in direct sunlight, a vehicle or metal building during the summer.
SPECIFIC SAFETY RULES FOR LASER LEVELS
- Do not dispose of tool or batteries with household waste material! Tool and batteries that have reached the end of their life must be collected separately and returned to an environmentally compatible recycling facility.
- Ensure tool magnets are securely mounted to a metal surface. Magnet strength may not hold on thin metal surfaces, causing the tool to fall.
- Maintain labels and nameplates. These carry important information. If unreadable or missing, contact MILWAUKEE® for a replacement
CAUTION Use of controls or adjustments or performance of procedures other Than those specified herein may result in hazardous radiation exposure.
- Be sure to power off instrument after use. When instrument will not be used for a long period, place it in storage after removing batteries.
ADDITIONAL BATTERY SAFETY RULES
WARNING To reduce the risk of fire, personal injury, and product damage due to a short circuit, never immerse your tool, battery pack or charger in fluid or allow a fluid to flow inside them. Corrosive or conductive fluids, such as seawater , certain industrial chemicals, and bleach or bleach-containing products, etc., can cause a short circuit.
WARNING Do not charge non-rechargeable batteries.
FUNCTIONAL DESCRIPTION


- Laser apertures
- Laser mode indicator
- On/off dial
- Pivot Bracket
- Micro adjust
- Fuel gauge
- Mode button
- Threaded inserts
- Magnets
- Nail/Screw hole
SYMBOLOGY
Volts
Direct Current
Laser Radiation Do not stare into beam class 2 laser Product
Magnets
Read operator’s manual
Regulatory compliance mark(RCM) This product meets applicable regulatory requirements.
Do not dispose of electric tools together with household waste material. Electric tools and electronic equipment that have reached the end of their life must be collected separately and returned to an environmentally compatible recycling facility.
SPECIFICATIONS
- Cat. No. …………………………………………… M12 CPL
- Volts…………………………………………………… 12V DC
- Battery Type ………………………………………….M12™
- Charger Type…………………………………………M12™
- Laser……………………………………………………Class 2
- Lines Max Power …………………………… PAVGP:
- Points Max Power………………………….. PAVGP:
- Pulse Frequency……………………………………10 KHz
- Pulse Duration Normal Mode …………….. TpV
- Pulse Duration Power Save……………….. TpV
- Wave lenght …………………………………… 510-530 nm
- Lines Beam Divergence …………………………… 1 rad
- Points Beam Divergence …………………….. 0.5 mrad
- Storage Temp …………………………….. -20°C to 50°C
- Working range ………………………………………… 38m
- Rang with Deflector …………………………………. 50m
- Max. altitude…………………………………………. 2000m
- Max. relative air humidity …………………………….80%
- Accuracy ……………………….. ±3.18 mm over 10 mm
- Settle Time ………………………………….. < 3 Seconds
- Tripod Mount …………………………….1/4″-20, 5/8″-11
- Ingress Protection…………………………………….. IP54
- Impacat Resistant ………………………………………..1 m
- Leveling …………Auto ±°4 side to side, front to back
- Operating Temperature ……………… -10°C to 40°C
ASSEMBLY
WARNING
Recharge only with the charger specified for the battery. For spe-cific charging instructions, read the operator’s manual supplied with your charger and battery.
Removing/Inserting the Battery
To remove the battery, push in the release buttons and pull the battery pack away from the tool.
WARNING Always remove battery pack before changing or removing accessories. To insert the battery, slide the pack into the body of the tool. Make sure it latches securely into place.
WARNING Only use accessories specifically recommended for this tool. Others may be hazardous.
Power Save
Use power save mode to extend the battery run time. Power save mode is indicated by dimmed laser beams and the Mode indicator pulsing. Visual range is decreased in power save mode. To turn power save mode ON or OFF, press and hold Mode button for 3 seconds. The tool will automatically switch to power save mode if less than 7% of battery charge remains.
Fuel Gauge
To determine the amount of charge left in the battery, turn the tool ON
| LEDs | Description |
| 4 LEDs | 66-100% Battery charge |
| 3 LEDs | 45-65% Battery charge |
| 2 LEDs | 18-44% Battery charge |
| 1 LED | 8-17% Battery charge |
| 1 LED flashing | 0-7% Battery charge Power Save Mode enabled.* |
| 1 LED flashing 4 times & tool will not run | End of charge. Charge the battery pack. |
| 4 LEDs flash alternately | Contact a MILWAUKEE® service facility. |
When automatically switched to power save mode due to low battery, the tool cannot be switched back to normal mode until the battery is charged/replaced.
WARNING To reduce the risk of injury or damage, securely mount/attach the laser before starting an operation. Injury/damage may occur if the laser falls.
Mounting/Adjusting the Laser Level
The pivot bracket can be used to mount the laser level in multiple ways:
- Use the embedded magnets to secure the laser level to steel studs, steel beams, etc.
- Use the keyhole slot to hang the laser level on the wall with a nail or screw.
- Set the laser level on a flat surface.
- Position the laser and/or wall mount on a stable surface.
- Use the 1 /4″-20 or 5/8″-11 threaded insert to mount on a tripod.
- Once the level is mounted, use the micro adjustment knobs to fine tune the laser line.
OPERATION
WARNING To reduce the risk of injury or temporary effects on vision, do not look directly into the laser when it is on.
CAUTION Use of controls or adjustments or performance of procedures other than those specified herein may result in hazard-ous radiation exposure.
NOTICE Perform the Accuracy Field Check procedure immediately upon unboxing of each new Laser Level and before exposure to jobsite conditions. See “Accuracy Field Check” for information.
Turning On/Off
To turn on the laser and unlock the pendulum, rotate the On/Off dial to the desired position. The remaining battery life will be displayed.
WARNING Do not look directly into laser apertures. Laser Mode Indicator LED will display, and horizontal level line will immediately be emitted from aperture in the laser housing.
ON Turns ON the laser and unlocks the pendulum to enable self-leveling.
ON Turns ON the laser but does not unlock the pendulum (self leveling is disabled). The laser lines will flash once every 8 seconds to indicate that the projected lines are not level or plumb.
NOTICE: The
ON mode disables self-leveling and therefore is not intended for projecting a level or plumb line.
OFF Turns OFF the laser and locks the pendulum. When not in use, turn off the tool and store the Laser Level in the protective carrying case.
Use the MODE button to cycle through the three laser modes:
Horizontal Level Line
Vertical Plumb Line & Plumb Points
Perpendicular Level & Plumb Points
The green laser mode indicators will display the selected mode.
Using the Laser Level
- For best results, place the tool on a work surface that is:
- sturdy
- Level (within 4 degrees of true level)
- free of vibrations
- 90° to the work area
- Turn on the tool.
- The tool will self-level when placed on surfaces within 4 degrees of true level when dial is unlocked and on.
- The tool is ready once the emitted lines are con-tinuous and no longer moving on the work surface. 5. If the tool cannot achieve a level state (i.e., the work surface is > 4 degrees off true level), the laser beams will flash rapidly (3 flashes per second). Relocate or adjust the work surface.
Troubleshooting
If the tool does not turn on:
- Ensure battery is installed properly. Fuel gauge should indicate remaining charge when correctly installed.
- Ensure battery is charged
- Ensure the tool’s internal temperature is within specified operating ranges. If stored in excessive heat or cold, allow at least 2 hours to an appropriate ambient temperature between -10°C to 40°C before turning on the tool.
If problem persists, please contact a MILWAUKEE® service facility for support.
ACCURACY FIELD CHECK
NOTICE Perform the Accuracy Field Check procedure immediately upon unboxing of each new Laser Level and before exposure to jobsite conditions. See “Accuracy Field Check” for information. Should any deviation from listed product accuracy be found, please contact a MILWAUKEE® service facility.
Failure to do so could result in rejection of warranty claim.
Influence on Accuracy
Ambient temperature gradients can impact laser accuracy. For accurate and repeatable results, the following procedure should be conducted with the laser elevated off the ground and placed in the centre of the working area.
Abusive treatment of the Laser Level, such as excessive impacts from repeated or high drops, can also lead to deviations in product accuracy. Therefore, it is recommended to conduct the Accuracy Field Check procedure after any impact or before completing any critical jobs.
Horizontal Height Accuracy
A free measuring distance of approximately 20m on a firm surface between two walls or structures (indicated as ‘A’ and ‘B’ below) is required for this check.
It is also suggested to mount the Laser Level to an appropriate tripod for easy adjustment.
- Securely mount the tool within 30cm of wall ‘A’ as shown below.

- Turn the tool to
ON and to
Perpendicular Level & Plumb Points Mode. - Direct the front laser beam against the nearest wall A and allow to self-level. Mark the centre of the laser cross on the wall (point I).
- Rotate the tool 180° without changing the height, allow it to self-level, and mark the centre of the laser cross on the opposite wall B (point II)

- Move the tool within 30cm of wall B. Allow the laser to self level. Align the laser cross in the general direction of point II on wall B.

- Adjust the height of the tool (using the tripod or by adding shims, if required) to align the laser cross directly onto point II on wall B. Allow the tool to self-level.
- Rotate the tool 180° without changing the height, allow it to self-level, and mark the center of the laser cross on wall A (point III). Point III should be aligned as vertically above or below point I on wall A as possible.

- The distance between points I and III on wall A is the height deviation (d) of the tool. This distance should not exceed 3.18mm (max.) at 10m (12.72mm at 40m). For the Measuring distance of 2 x 20m = 40m, the maximum allowable deviation (d) is: 40m x ±3.18mm ÷ 10m = ±12.72mm
Horizontal Leveling Accuracy
A free measuring space of approximately 10m x 10m on a firm surface between two walls or structures A and B is required for the check.
It is also suggested to mount the Laser Level to a Tripod for easy adjustment.
Securely mount the tool on one side of the room and centered between walls A and B. Direct the laser lines toward the other side of the room such that the horizontal line appears on both walls A and B. Allow the laser to Self-Level.
- Turn the tool to
ON and to Horizontal Level Line mode. - At a distance of 5m from the laser, mark the centre of the horizontal line on Wall A (Point I). Do the same on Wall B (Point II)

- Move the Laser 10m toward the opposite wall and rotate the laser 180°. Allow the laser to Self-Level.
- Adjust the height of the tool (using the tripod or by adding shims, if required) such that the center of the horizontal line is projected exactly against the previously marked point II on wall B. Ensure the Laser is self-leveled after alignment.
- Mark the center of horizontal line on wall A (point III). Take care that point III is aligned as vertical as possible above or below point I.
- . The distance d between marked points I and III on wall A indicates the actual deviation (d) of the tool.

- For the Measuring distance of 2 x 10m = 20m, the maximum allowable deviation (d) is: 20m x ±3.18mm ÷ 10m = ±6.36mm Thus, the difference d between points I and III should not exceed 6.36mm (max.) at 20m.
Vertical Leveling Accuracy
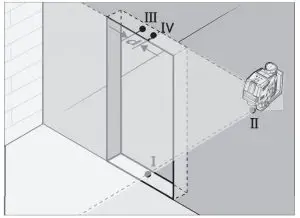
A door opening with approximately 2.5m of space on each side of the opening is required for this check.
- Securely mount the tool 2.5m from one side of the door opening.
- Turn the tool to
ON and to
Line & Plumb Points Mode or
Level & Plumb Point Mode - Position the tool with the laser towards the door opening. Allow the tool to self-level.
- Mark the centre of the vertical laser line on the floor in the middle of the door opening (point I), at a distance of 2.5m beyond the door opening (point II), and at the upper edge of the door opening (point III).

- . Move the laser level directly behind point II on the other side of the door. Align the vertical laser line so the centre is directly aligned with points I and II.
- Mark the centre of the vertical line at the upper edge of the door opening (point IV).
- Measure the height of the door opening.
- The distance between points III and IV on the upper door opening is the vertical deviation (d) of the tool.

- The maximum vertical deviation (d) is: d max = 2X H (door opening) x ±3.18mm ÷ 10m Example: for a door opening height of 2.05m, the maximum permitted deviation (d) is: dmax = 2 x 2.05m x ±3.18mm ÷ 10m = ±1.3 mm Therefore, the measurement between points III and IV on the upper door opening should not exceed 1.3mm in a 2.05m doorway.
Plumb Dot Accuracy
A free measuring distance of approximately 5m between floor and ceiling on a firm surface is required for this check. It is suggested to install riser block, if not already equipped.
- Place the tool within 30cm of the floor.
- Turn the tool to
ON and to
Line Mode or
Perpendicular Point Mode - Set tool on ground and mark the centre of the plumb point on the ceiling (point I). Also, mark the centre of the plumb point on the floor (point II).

- Rotate the tool 180°. Align the centre point of the laser beam directly only the floor point ll.
- Mark the centre of the top plumb point on the reference line on the ceiling (point III).

- The distance between points I and III on the ceiling is the deviation (d) of the tool. This distance should not exceed 3.18mm (max.) at 10m For the Measuring distance of 2 x 5m = 10m, the maximum allowable deviation (d) is: 10m (33′) x ±3.18mm ÷ 10m = ±3.18mm
MAINTENANCE
WARNING To reduce the risk of injury, always remove the battery before performing any maintenance. Never disassemble the tool.
Maintain Laser Level
Maintain tools. If damaged, have the tool repaired before use. Accidents may be caused by poorly maintained tools
WARNING To reduce the risk of personal in your tool in liquid or allow a liquid to flow inside them
Cleaning
Keep tool handles clean, dry and free of oil or grease. Use only mild soap and a damp cloth to clean the tool since certain cleaning agents and solvents are harmful to plastics and other insulated parts. Some of these include gasoline, turpentine, lacquer thinner, paint thinner, chlorinated cleaning solvents, ammonia and household detergents containing around tools.
Cleaning the Lenses
Carefully wipe the surface with a cotton swab moistened with water.
Repairs
This tool has limited serviceable parts. Do not open housing or disassemble tool. For repairs, return the tool, battery pack and charger to the nearest authorised service centre.
ACCESSORIES
WARNING
Use designated accessories. tools only with specifically Use of any other accessories may create risk of injury.
WARRANTY – AUSTRALIA and NEW ZEALAND
Please refer to Australian and New Zealand warranty supplied with tool. This warranty applies only to product sold by authorised dealers in Australia and New Zealand.
SERVICE – AUSTRALIA and NEW ZEALAND
MILWAUKEE® prides itself in producing a premium quality product that is Nothing But Heavy DutyTM. Your satisfaction with our products is very important to us! If you encounter any problems with the operation of this tool, please contact your authorised MILWAUKEE® dealer.
For a list of MILWAUKEE® dealers, guarantee or service agents please contact MILWAUKEE®
Customer Service or visit our website.
(Australia Toll Free Telephone Number 1300 645 928)
(New Zealand Toll Free Telephone Number 0800 645 928)
or visit milwaukeetool.com.au/milwaukeetool.co.nz.
Milwaukee Electric Tool Corporation
13135 West Lisbon Road, Brookfield, Wisconsin U.S.A. 53005
Milwaukee Tool (Australia)
Melbourne, Australia
21 Kelletts Road, Rowville, VIC 3178
Please refer to Australian and New Zealand warranty supplied with tool. This warranty applies only to product sold by authorised dealers in Australia and New Zealand.
Milwaukee Tool (New Zealand)
274 Church Street, Penrose, Auckland, 1061, New Zealand
DESIGNED BY MILWAUKEE ELECTRIC TOOL CORP.
PROFESSIONALLY MADE IN CHINA PRINTED IN CHINA

























