CR Series
LED Architectural Troffer
Includes: CR14, CR24, CR22 1×4, 2×4, 2×2 Luminaires
INSTALLATION INSTRUCTIONS
INSTRUCTIONS D’INSTALLATION
IMPORTANT SAFEGUARDS
When using electrical equipment, basic safety precautions should always be followed including the following:
READ AND FOLLOW ALL SAFETY INSTRUCTIONS
- DANGER- Risk of shock- Disconnect power before installation.
- This luminaire must be installed in accordance with the NEC or your local electrical code. If you are not familiar with these codes and requirements, consult a qualified electrician.
- Do not install insulation within 76 mm (3 in) of any part of the luminaire.
- Access above ceiling required.
- Suitable for damp locations.
- Suitable for suspended ceilings.
- Do not handle energized module with wet hands or when standing on wet or damp surfaces, or in water.
SAVE THESE INSTRUCTIONS FOR FUTURE REFERENCE
- The CR Series of recessed troffers is for non-insulated ceiling applications using T-Bar ceiling grid, drywall grid adaptors, and SMK-CR22 surface mount accessory kits.
- Designed for use in 120-277V 50-60 Hertz protected circuit (fuse box, circuit breaker). Supply wire sized as per NEC or governing code(s), 90C rated.
TO INSTALL:
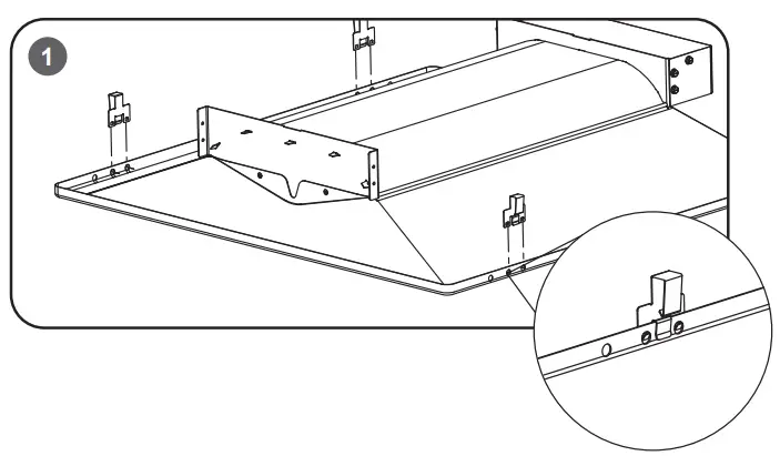
![]() | STEP 1: Unpack the CR troffer from its shipping container. STEP 2: Install the (4) T-Bar clips included with the luminaire (located in pre-pack fastened to luminaire J-Box). See Figure 1. STEP 3: Place the CR troffer into the T-Bar Ceiling panel. Ensure T-Bar clips are attached to the T-Bar. See Figure 2. |
![]() | EXPANDED J-BOX ASSEMBLY OPTION: In the case of through wiring with conductors larger than 14 gauge, it is recommended to utilize the EJBCR5PK accessory to expand the junction box volume, thereby allowing for additional space for wiring and wiring fasteners. EJBCR-5PK is supplied separately and attaches to the existing J-Box assembly. It is sold in minimum quantities of five. |
![]() | STEP DIMMING OPTION: STEP 4: Remove access plate from junction box (A). Using a screwdriver blade, remove the appropriate knockout from the access plate door to route the input conduit. See Figure 3. STEP 5: Connect input conduit to access plate. Connect wires as shown in the wiring diagram (below). Push all wires back into the junction box. Re-install the access plate. See Figure 4. GREEN – Ground, WHITE – Neutral, BLACK – Switched HOT #1 (S1) , BLACK – Switched HOT #2 (S2) |
![]() | NOTE: 1. DO NOT CONNECT two separate phases of the line voltage to the input of the CR Troffer, the LED driver will be damaged and not covered by warranty. 2. Install in accordance with National & Local Electric Code(s). 3. (The AC line inputs must be connected to the same phase of the line voltage. 4. If step dimming isn’t required, combine BLACK– Switched HOT #1 (S1) and BLACK– Switched HOT #2 (S2) together. |
![]() | 0-10V DIMMING OPTION: STEP 1: Remove access plate (B) to access the power wiring. If more wire space is needed, utilize the expanded J- Box accessory EJBCR-5PK (sold separately). Using a screwdriver blade, remove appropriate knockout from access plate (C) to route input conduit. See Figure 5. STEP 2: Remove access plate (C) to access the dimming wire. If more wiring space is needed, utilize the expanded J-Box accessory EJBCR-5PK (sold separately). See Figure 6. STEP 3: Connect power conduit and dimming conduit to access plates (and expanded J-Box if needed). Connect wires as shown in the wiring diagram. Push all wires back into the boxes and reinstall the access plates. See Figure 7. NOTE If dimming is not being used ensure to cap off the violet and grey leads. GREEN – Ground, WHITE – Neutral, BLACK – Switched HOT, VIOLET – 0-10V Dimming Control +, GREY OR PINK – 0-10V Dimming Control – |
© 2021 Cree Lighting ®, A company of IDEAL INDUSTRIES. All rights reserved. For informational purposes only. Content is subject to change. See www.creelighting.com/warranty for warranty and specifications. Cree ® and the Cree Lighting logo are registered trademarks of Cree, Inc. CR14™, CR22™, and CR24™ are trademarks of Cree Lighting, A company of IDEAL INDUSTRIES.
LPN000053_K
www.creelighting.com























