
Instruction Manual
Please read this manual carefully prior to use of the product, and keep it properly.

Capacitive Touch Monitor
(Rubber Frame) Series
Foreword
Notes on documentation
This description is intended exclusively for trained specialists in controlling and automation technology who are familiar with the applicable national standards. For installation and commissioning of the components, it is absolutely necessary to observe the following notes and explanations. The qualified personnel must ensure that the application or use of the described products meets all safety requirements, including all applicable laws, regulations, provisions, and standards.
Disclaimer
This documentation has been carefully prepared. However, the products described are subject to continuous further development. Therefore, the documentation is not always completely checked for compliance with the described performance data, standards, or other features. If it contains technical or editorial errors, we reserve the right to make changes at any time and without notice. The information, illustrations, and descriptions in this documentation do not constitute grounds for claims for changes to products already supplied.
Copyright
© faytech AG.
Passing on and reproduction of this document, use, and communication of its contents are prohibited unless expressly permitted. All rights reserved in case of a patent, utility model, or design patent registration.
State of delivery
All components are delivered in specific hardware and software configurations depending on the application requirements. Changes to the hardware or software configuration, which go beyond the documented possibilities are not permitted and result in the exclusion of liability of faytech AG.
Explanation of the safety symbols
The following safety symbols are used in these operating instructions. These symbols are primarily intended to draw the reader’s attention to the text of the adjacent safety instructions.
Basic security measures
Below are some basic security measures to ensure the proper operation of the Touch Monitor.
Duty of care for the operator
The operator must ensure that:
- The Touch Monitor is only used for its intended purpose (see chapter Product Description).
- The Touch Monitor is only operated in a faultless, fully functional condition.
- The operating manual is always available in a legible condition and completes at the place of use of the Touch Monitor.
- Only sufficiently qualified and authorized personnel operate, maintain and repair the Touch Monitor.
- This personnel is regularly instructed in all applicable questions of occupational safety and environmental protection, and the operating manual and in particular the information contained therein contained in the safety instructions.
- All safety and warning notices attached to the Touch Monitor are not removed and stay legible.
Depending on the type of machine and system in which the Touch Monitor is used, there are national regulations for the control of such machines and systems which the operator must comply with. These regulations regulate, among other things, the intervals at which the controller must be checked.
The operator must arrange for this inspection within a certain period of time.
In the event of faults on the Touch Monitor, the list in the Troubleshooting section can be used to determine which measures should be taken.
Requirements for the operating personnel
Every user of the Touch Monitor must have read this operating manual.
General warning
If you notice a burning smell or the device is making noise, disconnect it from the power supply immediately.
| Acute danger of injury! If the safety instruction next to this symbol is not observed, there is an immediate danger to the life and health of persons. |
| Caution Risk of injury! If the safety instruction next to this symbol is not observed, there is a danger to the life and health of persons. |
| Injury to persons! If the safety instruction next to this symbol is not observed, persons may be injured. |
| damage to the environment or equipment If the note next to this symbol is not observed, the environment or equipment may be damaged. |
| Tip or pointer This symbol indicates information that contributes to better understanding. |
Basic security measures
Below are some basic security measures to ensure the proper operation of the Touch Monitor.
| Switch off all system components, then disconnect the Fieldbus Before opening the Touch Monitor housing and whenever the Touch Monitor is not used for control purposes, for example during the functional test after a repair, all system parts must first be switched off, and then the Touch Monitor must be disconnected from the system. Switched-off system parts must be secured against being switched on again. |
Attention | Do not replace any parts when under voltage When installing and removing components, the supply voltage must be switched off. Damage can occur during installation in the Touch Monitor: • If metal objects such as screws or tools are placed on the circuit boards. • If Monitor internal connection cables are pulled off or plugged in during operation. |
Duty of care for the operator
The operator must ensure that:
- The Touch Monitor is only used for its intended purpose (see chapter Product Description).
- The Touch Monitor is only operated in a faultless, fully functional condition.
- The operating manual is always available in a legible condition and completes at the place of use of the Touch Monitor.
- Only sufficiently qualified and authorized personnel operate, maintain and repair the Touch Monitor.
- This personnel is regularly instructed in all applicable questions of occupational safety and environmental protection, and the operating manual and in particular the information contained therein contained in the safety instructions.
- All safety and warning notices attached to the Touch Monitor are not removed and stay legible.
Depending on the type of machine and system in which the Touch Monitor is used, there are national regulations for the control of such machines and systems which the operator must comply with. These regulations regulate, among other things, the intervals at which the controller must be checked.
The operator must arrange for this inspection within a certain period of time.
Attention | Only qualified personnel may open the housing of the Touch Monitor The operator must ensure that only trained electrical specialists open the housing of the Monitor. In this case, the warranty will become invalid. |
In the event of faults on the Touch Monitor, the list in the Troubleshooting section can be used to determine which measures should be taken.
Requirements for the operating personnel
Every user of the Touch Monitor must have read this operating manual.
General warning
If you notice a burning smell or the device is making noise, disconnect it from the power supply immediately.
| Cleaning To clean the device, switch it off and use a dry, soft cloth with light pressure. |
Warranty
faytech devices are produced following the most modern production and test processes. Carefully selected components and accurate production ensure reliable operation and long life. faytech warrants to the original purchaser that each faytech display delivered shall be free from defects in material or workmanship at the time of shipment, and that each such module delivered will meet the published specifications for a period of 24 months as measured from the date of original shipment. faytech’s obligation under the Warranty contained herein is limited to the repair or replacement of any faytech touch monitor that does not meet the specifications, provided that said product is returned to faytech, transportation charges pre-paid, and provided that upon faytech’s examination, the product, when tested within the specified ratings and in accordance with good engineering practice, does not meet the specifications as defined. THIS WARRANTY IS IN LIEU OF ALL OTHER WARRANTIES, EXPRESSED OR IMPLIED, INCLUDING WITHOUT LIMITATION THE WARRANTY OF MERCHANTABILITY AND THE WARRANTY OF FITNESS FOR A PARTICULAR PURPOSE.
All claims under warranty must be made promptly after the occurrence of circumstances giving rise thereto and must be received within the applicable warranty period by faytech or its authorized representative. Such claims should include the Product type and serial numbers and a full description of the circumstances giving rise to the claim. Before any Products are returned for repair and/or adjustment, written authorization from faytech or its authorized representative for the return and instructions as to how and where these products should be shipped must be obtained. Any product returned to faytech for examination shall be sent prepaid via the means of transportation indicated as acceptable by faytech. faytech reserves the right to reject any warranty claim not promptly reported and any warranty claim on any item that has been altered or has been shipped by non-acceptable means of transportation. When any Product is returned for examination and inspection, or for any other reason, the Customer will be responsible for all damage resulting from improper packing or handling and for loss in transit, notwithstanding any defect or nonconformity in the Product. In all cases, faytech has sole responsibility for determining the cause and nature of failure, and faytech’s determination with regard thereto shall be final. If it is found that faytech’s Product has been returned without cause and is still serviceable, the Customer will be notified and the Product returned at Customer’s expense. In addition, a charge for testing and examination may, in faytech’s sole discretion, be made on Products so returned.
SELLER’S LIABILITY FOR DAMAGES SHALL NOT EXCEED THE PAYMENT, IF ANY, RECEIVED BY THE SELLER FOR THE UNIT OF PRODUCT OR SERVICE FURNISHED OR TO BE FURNISHED AS THE CASE MAY BE WHICH IS THE SUBJECT OF CLAIM OR DISPUTE. IN NO EVENT SHALL THE SELLER BE LIABLE FOR INCIDENTAL, CONSEQUENTIAL, OR SPECIAL DAMAGES. LIABILITY TO THIRD PARTIES, FOR BODILY INJURY INCLUDING DEATH, RESULTING FROM SELLER’S PERFORMANCE SHALL BE DETERMINED IN ACCORDANCE WITH APPLICABLE LAW AND THE TOTAL LIABILITY LIMITATION STATED ABOVE SHALL NOT BE CONSTRUED AS A LIMITATION ON SELLER FOR DAMAGES FOR ANY SUCH BODILY INJURY, INCLUDING DEATH.
WARRANTY FOR ITEMS REPLACED UNDER WARRANTY Whenever a failed module is replaced under Warranty, the greater of the balance of the original Warranty Period or 90 days will constitute the remaining warranty period. The replaced unit does not carry a new Warranty.
LIFE SUPPORT POLICY “WARNING: DO NOT USE IN LIFE SUPPORT” SELLER’S PRODUCTS ARE NOT AUTHORIZED FOR USE AS CRITICAL COMPONENTS IN LIFE SUPPORT DEVICES OR SYSTEMS WITHOUT THE EXPRESS PRIOR WRITTEN APPROVAL OF THE CEO OF FAYTECH. As used herein, “Life Support Devices or Systems” are devices that support or sustain life and whose failure to perform when properly used in accordance with instructions for use provided in the labeling can be reasonably expected to result in a significant injury to the user. A “Critical Component” is any component in a life support device or system whose failure to perform can be reasonably expected to cause the failure of the life support device or system or to affect its safety or effectiveness.
If your device does have a defect within the warranty period, please contact faytech directly. The warranty period is 24 months from the date of purchase under the
following conditions:
- All warranties are void if the unit has been opened or disassembled without faytech’s prior approval.
- Damage caused by improper handling or operation, incorrect installation or storage, through improper connections, as well as due to force majeure or other external influences is not covered by the warranty.
- For warranty claims, we reserve the right to replace the defective components or to exchange the device.
- Exchanged components or devices become the property of faytech.
- Claims for damages are excluded in so far as they are not based on intent or gross negligence of the manufacturer.
- After the expiration of the warranty period, warranty claims can no longer be pursued.
- Any warranty claim must be accompanied by proof of purchase (receipt or invoice).
Product description
Appropriate use
The faytech Capacitive Touch Monitors are used in many different application areas (in industrial, medical or retail applications).
![]() | ![]() |
Interfaces
Interfaces of the Capacitive Touch Monitors

HDMI (High-Definition Multimedia Interface)
The HDMI terminal (1) is for transmitting the video signal.
DVI-D (Digital Visual Interface – Digital)
The DVI-D connector (2) is for transmitting the video signal.
VGA (Video Graphics Array)
The VGA connector (3) is for transmitting the video signal.
Audio and microphone connection
The audio connection (4) has a diameter of 3.5 mm and is used for transmitting audio signals.
USB Type-B (for touch)
The USB Type-B socket (5) enables the Touch Monitor to connect the touch function directly to the PC it is connected to.
Power supply
The power supply of the Touch PC is established via the socket (6). The DC-In input (screwable) is 12V.

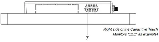
Audio Speakers
This Integrated audio speaker (7) is a 2W audio speaker, and the touch monitor has one on each side (left side and right side).

Button 1: Auto-Display Setting
With this button (8) the touch monitor is automatically adjusted to the current resolution of your graphics card.
Button 2: MENU
With button (9) you can open the OSD menu -or- confirm your selection in the OSD menu.
Button 3: +
This button (10) is able to increase the volume -or- navigate in the OSD menu (right / up) -or- change the highlighted values in the menu.
Button 4: This button
(11) is able to decrease the volume -or- navigate in the OSD menu (left / down) -or- change the highlighted values in the menu.
Button 5: On / Off switch
With button (12) the Touch Monitor can be switched on and off.
VESA 100 mounting holes
The VESA 100 mounting holes (13) support easily integrating or mounting the unit on a wall or stand.
The thickness of the holes is suitable for M4 screw threads.
Clamp support mounting holes
The small clamp support mounting holes (14) provide an easy and simple mounting solution for integration into a machine, server door, or any cut-out. Also, peripherals, such as the RFID reader can also be mounted using these holes.
Status LEDs
No LED
There is no power supply.
Green LED
The touch monitor is switched on.
Red LED
The Touch monitor is connected to a power source, but it is currently switched off.
| Moving or cleaning the device Make sure that you only clean or move the device when the LED light is off. |
Scope of delivery

Power supply unit
The supplied power supply unit (1) has a screwable connection. The power supply is 100-240V ACDC.
USB-Touch cable
This cable (2) is used to connect the touch function from the touch monitor to any PC.
VGA cable
This cable (3) can be used to connect the monitor to a PC using the VGA connector.
Audio cable
This cable (4) can be used to connect an audio device to the touch monitor.

Brief instructions
This quick guide (5) contains the most important information about the Touch Monitor.
Standard Roll Stand
This standard stand (6) is included in the scope of delivery for the 13.3 – 27″ devices. It can easily be screwed on the backside with VESA 75 or VESA 100 holes.
Installation instructions
Transportation
Despite the robust design, the built-in components are sensitive to strong vibrations and shocks.
Therefore, protect your touch monitor from high mechanical stress during transport. Use the original packaging for shipping.
| Risk of damage to the device When transporting the device in cold weather or if the device is exposed to extreme temperature fluctuations, make sure that no moisture (condensation) condenses on or in the device. Allow the device to slowly adjust to room temperature before putting it into operation. If there is condensation, the unit may only be switched on after a waiting period of about 12 hours. |
Unpacking
Proceed as follows when unpacking the device:
- Remove the packaging.
- Do not throw away the original packaging. Keep it for re-transport.
- Check the delivery for completeness based on your order.
- Please keep the documents supplied with the device; they contain important information about the device and how to use it.
- Check the package contents for visible transport damage.
- If you notice transport damage or discrepancies between the contents of the package and your order, please inform the faytech service.
Mounting options
There are several ways to mount the device:
- use the VESA-75 or VESA-100 holes on the back to mount the unit on a wall or stand.

- Use the U-profile brackets in combination with the VESA holes to integrate the unit into a cabinet.

- Use the mounting brackets to integrate the device into a cabinet. This mounting solution uses screw holes that can be used for all peripherals.

| Cut-out requirements Keep in mind that the cut-out size differs per device. So, ensure to follow the proper instructions for each of these mounting solutions: U-Profile Mounts documentation – https://bit.ly/3fskMGw Clamp Support documentation – available on each separate product specification sheet (www.faytech.com/products/products-overview/) |
| Own mounting solution Of course, it is also possible to use your own mounting solutions. faytech is not responsible for the proper use of the mountings. |
Connecting the device
The connectors are located at the rear of the Touch Monitor and are documented in the chapter Product Description. To start the device, connect it to a power source with the supplied AC adapter or use a corresponding 12V DC power source. For all power information see the respective product label.
After connecting the power adapter to the power source, a green LED light on the power box should illuminate. The LED light on the unit should turn red.

| Own power supply Only use your own power supply unit if you are aware of the use of the power supply unit. If the wrong voltage is used, it may destroy the unit. |
| Fire or smoke If the appliance catches fire or starts smoking, immediately unplug the appliance and then extinguish it with powder or nitrogen. |
Driver installations
In order to fully utilize all functions of the faytech touch monitor, it is recommended to download the required drivers from the faytech website in the download section (www.faytech.com/downloads/).
Drivers available on our website for this product series:
- Capacitive Touch Driver – Linux
This is the capacitive touch driver to work with the Linux operating systems. - Capacitive Touch Driver – All OS (except Linux)
This is the capacitive touch driver to work with all operating systems, except Linux.
OS’s included: Android, MS-DOS, macOS, QNX, and Windows.
To fully operate the touch monitor, it is important to understand the options and customizations available in the OSD menu (on-screen display), which can be operated using the touchscreen function or buttons on the back.
First of all, press the Menu button
located on the back of the monitor to open the OSD menu.
After pressing the Menu button
as indicated above, the OSD Menu opens up. In this menu, you can navigate right or left by using the
or
buttons on the back. Press the Menu button
once more to select the highlighted menu item and proceed into its specific settings.
The following settings are available in the Picture menu:
Backlight:
Adjust the brightness of the backlight LEDs.
Range: (0 – 100)
Brightness:
Adjust the brightness of the LCD Panel.
Range: (0 – 100)
Contrast:
Adjust the contrast of the display screen.
Range: (0 – 100)
Sharpness:
Adjust the sharpness of the display screen.
Options: (0, 1, 2, 3, 4, 5)
![]() 1: Picture menu | ![]() 2: Picture menu (backlight adjustment) |
The following settings are available in the Display menu:
![]() 3: Display the menu | ![]() 4: Display menu (display rotation) |
Auto adjusts:
Auto adjust the display position to match the size and ratio of the screen (only available if connected using VGA).
H position:
Adjust the display position in the horizontal direction (only available if connected using VGA).
V position:
Adjust the display position in the vertical direction (only available if connected using VGA).
Clock rate:
Adjust the internal oscillation frequency of the display (only available if connected using VGA).
Display rotation:
Adjust the display direction, allowing the display to be flipped upside down.
Options: (0°-standard, 180°-upside down)
The following settings are available in the Color menu:
Panel uniformity:
Adjust the panel uniformity, to ensure the brightness and color is consistent across the entire screen.
Options: (on, off)
Gamma:
Select the gamma type of the display.
Options: (off, 1.8, 2.0, 2.2, 2.4)

5: Color menu
Temperature:
Adjust the color temperature of the display to be warmer or colder.
Options: (9300, 7500, 6500, 5800, sRGB, User)
Color effect:
Select the color effect of suitable for your application.
Options: (standard, game, movie, photo, vivid, user)
Demo type:
Select the demo type of the display.
Options: (off, type1, type2, type3, type4, type5)
Color format:
Adjust the color format of the display.
Options: (RGB, YUV)
PCM:
Select the pulse-code modulation type.
Options: (user, native)
Hue:
Adjust the hue of the display.
Range: (0 – 100)
Saturation:
Adjust the saturation of the display.
Range: (0 – 100)
6: Color menu (demo settings) | ![]() 7: Color menu (saturation settings) |
The following settings are available in the Advanced menu:
Aspect ratio:
Adjust the aspect ratio of the display.
Options: (full, 16:9, 4:3, 5:4, 1:1, user)
Clone mode:
Select the gamma type of the display.
Options: (single, clone, extend)

8: Advance menu
The following settings are available in the Input menu:
Options:
Auto-select: set to auto-detect input signal
A0-VGA: set to input VGA signal
D0-HDMI: set to input HDMI signal
D1-DP: set to input DP signal

9: Input menu
The following settings are available in the Audio menu:
Volume:
Adjust the volume.
Range: (0 – 100)
Mute:
Mute or unmute the sound.
Options: (on, off)
Stand alone:
Turn the stand-along settings on or off.
Options: (on, off)
Audio source:
Switch the audio source.
Options: (analog, digital)

10: Audio menu
The following settings are available in the Other menu:
Reset:
Set all the settings back to their initial values.
Menu time:
Adjust the menu display time settings.
Range: (0 – 60)
OSD H position:
Adjust OSD position in the horizontal direction.
Range: (0 – 100)

11: Other menus
OSD V position:
Adjust OSD position in the vertical direction.
Range: (0 – 100)
Language:
Change the language settings of the OSD menu.
Options: (English, 中文)
OSD transparency:
Adjust the OSD menu transparency.
Range: (0 – 255)
Rotate:
Rotate the OSD menu on the screen.
Options: (0°, 90°, 270°, 180°)

12: Other menus (language settings)
The Information menu shows the display information.
D3: [videoconnector]
[screen resolution] @ [frequency] Hz
H: [frequency] KHz PCLK: [frequency] Mhz
HDCP [enabled/disabled]

13: Information menu
By clicking on Factory in the OSD menu, a new menu will open which focuses on software information and the burnin function.
![]() 13: Factory information | ![]() 14: Factory information (separate menu) |
Troubleshooting & FAQs
Troubleshooting
No image
- First check whether the power supply is correctly connected and working (green LED on power supply unit)
- Ensure that the monitor is correctly connected to an external PC in order to receive the source.
Also, double-check the cables whether they are fully plugged in. - If none of the above points leads to success, please contact our direct Manufacturer service, under the contact details given below.
Touch function is not accurate
- Please download the latest touch drivers from our website www.faytech.com and perform a recalibration to recalibrate the touch screen.
FAQs
Everything on my screen is mirrored or upside down, what should I do?
Within the OSD menu, you can adjust the image mirrored or upside down. This function is necessary if the monitor is mounted upside down or you are using a rear view camera. The settings can be made in the OSD menu if a video source is connected and you open the OSD menu.
How do I connect the touch display to the appropriate power supply?
All displays have an external power supply. Therefore you have two possibilities: You can use the 12V DC power supply unit or the 230V power supply unit which are included in the scope of delivery.
The touch function does not work properly, what can I do?
If you have problems with the touch, please check if the driver and all cables are installed correctly.
Otherwise the most common error is caused by the protective foil on the touch display. Please remove the protective foil to get the best possible use out of the display.
Can I calibrate the touch function accurately?
The touch panel is adjusted during the manufacturing process. However, you can always make a new calibration in the touch software under the calibration point.
Does the touch functionality affect the image quality?
No, the touch panel is transparent and non-reflective. So you will not notice the additional panel.
Service and Support
Service
If you think your faytech product has a defect please always contact us directly. Our trained after sales service specialists can help you to resolve your problems regarding the device. Please check the manual and our frequently asked questions before contacting us – you will usually find an answer to your question.
Please attach your invoice and a detailed description of the issues you are facing with your faytech flat to your contact E-mail/fax. In reply, you will receive an e-mail/fax with your RMA number and additional information. For defective accessories that were content of the original delivery, we usually send you a replacement before receiving the damaged goods. In case of a defective product, we try to check and solve the problem within 3 working days after receipt. Make sure that shipping has been paid before sending the goods back to us. We do not accept postage due packages at our service centers. Anything shipped with postage due will be rejected. Within the first 30 days after the purchase of a new faytech product, we will refund the shipping costs for returned defective products. For the rest of the warranty period, we will only cover shipping costs for repaired or replaced items that we ship back to you (one way).
For support outside of China, we work with local representatives / local service partners together who may work on our behalf in our name. For more information, feel free to cotact us under the following contact details.
Contact
Global Support: +86 755 89580612
Support Europe: +49 5542 303740
Support North America: +1 646 205 3214
Support India: +91 11 4970 7436
Support Japan: +070 4127 5167
Support E-Mail: [email protected]
Homepage: https://www.faytech.com/
Support Page: https://www.faytech.com/support/
Global Headquarters
faytech AG
Bischhäuser Aue 10
37213 Witzenhausen
Germany
Appendix
CE Declaration of Conformity
Hereby faytech AG declares that the equipment is in compliance with the essential requirements and other relevant regulations of the directives 2014/53/EU and 2011/65/EU.
The long version of the CE Declaration of Conformity can be found in English at: www.faytech.com/ce
DANGER
WARNING
CAUTION
Attention





























