Ronix 3160 Mini Angle Grinder

SPECIFICATION
| Model | 3160 |
| Power | 1400W |
| No-load Speed | 9000 RPM |
| Voltage | 220-240V |
| Frequency | 50-60Hz |
| Wheel Diameter | 115/125mm |
| Spindle Size | M14 |
| Weight | 3.2kg |
| Accessories | Side Handle, Ronix wheel guard, Spanner, Hex key |
PARTS LIST
GENERAL POWER TOOL SAFETY WARNINGS
WARNING!
- Read all safety warnings and all instructions. Failure to follow the warnings and instructions may result in electric shock, fire and serious injury.
- Save all warnings and instructions for future reference.
- The term “power tool” in the warnings refers to your mains- operated (corded) power tools or battery operated (Cordless) Power tools.
WORK AREA SAFETY
- Keep work area clean and well lit. Cluttered or dark areas invite accidents.
- Don’t operate power tools in explosive atmospheres, such as in the presence of flammable liquids, gases or dust. Power tools create sparks which may ignite the dust or fumes.
- Keep children and bystanders away while operating a power tool. Distractions can cause you to lose control.
ELECTRIC SAFETY
- Power tool plugs must match the outlet. Never modify the plug in any way. Don’t use any adaptor plugs with earthed (grounded) power tools. Unmodified plugs and matching outlets will reduce risk of electric shock.
- Avoid body contact with earthed or grounded surfaces such as pipe, radiators, ranges and refrigerators. There is an increased risk of electric shock if your body is earthed or grounded.
- Don’t expose power tools to rain or wet conditions. Water entering a power tool will increase the risk of electric shock.
- Don’t abuse the cord. Never use the cord for carrying, pulling or unplugging the power tool. Keep cord away from heat, oil, sharp edges or moving parts. Damaged or entangled cords increased the risk of electric shock.
- When operating a power tool outdoors, use an extension cord suitable for outdoor use. Using a suitable cord for outdoor use reduces the risk of electric shock.
- If operating a power tool in a damp location is unavoidable, use a residual current device (RCD) protected supply. Use of RCD reduces the risk of electric shock.
- Use of power supply via a RCD with a rated residual current of 30mA or less is always recommended.
PERSONAL SAFETY
- Stay alert, watch what you are doing and use common sense when operating a power tool. Don’t use a power tool while you are tired or under the influence of drugs, alcohol or medication. A moment of inattention while operating power tools may result in serious personal injury.
- Use personal protective equipment. Always wear eye protection.
- Protective equipment such as dust mask, non-skid safety shoes, hard hat, or hearing protection used for appropriate conditions will reduce personal injuries.
- Prevent unintentional starting. Ensure the switch is in the off-position before connecting to power source and/or battery pack, picking up or carrying the tool. Carrying power tools with your finger on the switch or energizing power tools that have the switch on invites accidents.
- Remove any adjusting key or wrench before turning the power tool on.
- A wrench or a key left attached to a rotating part of the power tool may result in personal injury.
- Don’t overreach. Keep proper footing and balance at all times. This enables better control of the power tool in unexpected situations.
- Dress properly. Don’t wear loose clothing or jewelry. Keep your hair, clothing, and gloves away from moving parts. Loose cloths, jewelry or long hair can be caught in moving parts.
- If devices are provided for connection of dust extraction and collection facilities, ensure these are connected and properly used. Use of dust collection can reduce dust-related hazards.
POWER TOOL USE AND CARE
- Don’t force the power tool. Use the correct power tool for your application. The correct power tool will do the job better and safer at the rate for which it was designed.
- Don’t use the power tool if the switch doesn’t turn it on and off. Any power tool that cannot be controlled with the switch is dangerous and must be repaired.
- Disconnect the plug from the power source and/or the battery pack from the power tool before making any adjustments, changing accessories, or storing power tools. Such preventive safety measures reduce the risk of starting the power tool accidentally.
- Store idle power tools out of the reach of children and don’t allow unfamiliar persons with power tool or these instructions to operate the power tool. Power tools are dangerous in the hands of untrained users.
- Maintain power tools. Check for misalignment or binding of moving parts, breakage o parts and any other condition that may affect the power tool’s operation. If damaged, have the power tool repaired before use. Many accidents are caused by poorly maintained power tools.
- Keep cutting tools sharp and clean. Properly maintained cutting tools with sharp cutting edges are less likely to bind and are easier to control.
- Use the power tool, accessories and tool bits etc. in accordance with the instruction, taking into account the working conditions and the work to be performed. Use of the power tool for operations different from those intended could result in a hazardous situation.
SERVICE
- Have your power tool serviced by qualified repair person using only identical replacement parts. This will ensure that the safety of power tool is maintained.
- Follow instruction for lubricating and changing accessories.
- Keep handles dry, clean and free from oil and grease.
SPECIFIC SAFETY RULES
- Always use proper guard with grinding wheel. A guard protects operator from broken wheel fragments.
- Accessories must be rated for at least the speed recommended on the tool warning label. Wheels and other accessories running over rated speed can fly apart and cause injury.
- Hold tool by insulated gripping surfaces when performing an operation where the grinding tool may contact hidden wiring or its own cord. Contact with a “live” wire will make exposed metal parts of the tool “live” and shock the operator.
- When using depressed center grinding wheels, be sure to use only fiberglass-reinforced wheels.
- Always use safety glasses or goggles. Ordinary eye or sun glasses are NOT safety glasses.
- Check the wheel carefully for cracks or damage before operation. Replace cracked or damaged wheel immediately. Run the tool (with guard) at no load for about a minute, holding tool away from others. If wheel is flawed, it will likely separate during this test.
- Use only flanges specified for this tool.
- Be careful not to damage the spindle, the flange (especially installing surface) and the lock nut. Damage to these parts could result in wheel breakage.
- NEVER use tool with wood cutting blades or other saw blades. Such blades when used on a grinder frequently kick and cause loss of control leading to personal injury.
- Hold the tool firmly.
- Keep hands away from rotating parts.
- Make sure cord is clear of wheel. Do not wrap cord around your arm or wrist. If control of tool is lost, cord may become wrapped around you and cause personal injury.
- Make sure the wheel is not contacting the work piece before the switch is turned on.
- Before using the tool on an actual work piece, let it run for a while. Watch for vibration or wobbling that could indicate poor installation or a poorly balanced wheel.
- Use the specified surface of the wheel to perform the grinding.
- Watch out for flying sparks. Hold the tool so that sparks fly away from you and other persons or flammable materials.
- Do not leave the tool running. Operate the tool only when hand-held.
- Do not touch the work piece immediately after operation; it may be extremely hot and could burn your skin.
- ALWAYS wear proper apparel including long sleeve shirts, leather gloves and shop aprons to protect skin from contact with hot grindings.
- Use of this tool to grind or sand some products, paints and wood could expose user to dust containing hazardous substances. Use appropriate respiratory protection.
WARNING!
MISUSE or failure to follow the safety rules stated in this instruction manual may cause serious personal injury.
FUNCTIONAL DESCRIPTION
CAUTION:
Always be sure that the tool is switched off and unplugged before adjusting or checking function on the tool.
SHAFT LOCK
- Never actuate the shaft lock when the spindle is moving Or the tool may be damaged.
- Press the shaft lock to prevent spindle rotation when installing or removing accessories.

ASSEMBLY
CAUTION:
Always be sure that the tool is switched off and unplugged before carrying out any work on the tool.
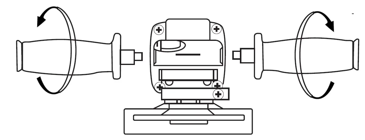
INSTALLING SIDE GRIP (HANDLE)
- Always be sure that the side grip is installed securely before operation.
- The side grip screw must be securely on its position as shown in the figure.

INSTALLING OR REMOVING WHEEL GUARD
- When using a depressed center grinding wheel/Multi-disc, flex wheel, wire wheel brush, cut-off wheel or diamond wheel, the wheel guard must be fitted on the tool so that the closed side of the guard always points toward the operator.
- Mount the wheel guard with the protrusion on the wheel guard band aligned with the notch on the bearing box. Then rotate the wheel guard around 180 degrees. Be sure to tighten the screw securely.
- To remove wheel guard, follow the installation procedure in reverse.
INSTALLING OR REMOVING DEPRESSED CENTER GRINDING WHEEL/MULTI-DISC
- Always use supplied guard when depressed center grinding wheel/Multi-disc is on tool. Wheel can shatter during use and guard helps to reduce chances of personal injury.
- Mount the inner flange onto the spindle. Fit the wheel / disc on the inner flange and screw the lock nut onto the spindle.
- To tighten the lock nut, press the shaft lock firmly so that the spindle cannot revolve, then use the lock nut wrench and securely tighten clockwise.
- To remove the wheel, follow the installation procedure in reverse.

OPERATION
- It should never be necessary to force the tool. The weight of the tool applies adequate pressure. Forcing and excessive pressure could cause dangerous wheel breakage.
- ALWAYS replace wheel if tool is dropped while grinding.
- NEVER bang or hit grinding disc or wheel onto work.
- Avoid bouncing and snagging the wheel, especially when working corners, sharp edges etc. This can cause loss of control and kickback.
- NEVER use tool with wood cutting blades and other saw blades. Such blades when used on a grinder frequently kick and cause loss of control leading to personal injury.
CAUTION:
After operation, always switch off the tool and wait until the wheel completely stop before putting the tool down.
GRINDING AND SANDING OPERATION
ALWAYS hold the tool firmly with one hand on housing and the other on the side handle. Turn the tool on and then apply the wheel or disc to the work piece.
In general, keep the edge of the wheel or disc at an angle of about 15 degrees to the work piece surface. During the break-in period with a new wheel, do not work the grinder in the B direction or it will cut into the work piece. Once the edge of the wheel has been rounded off by use, the wheel may be worked in both A and B direction.
MAINTENANCE
CAUTION:
Always be sure that the tool is switched off and unplugged before attempting to perform inspection or maintenance. The tool and its air vents have to be kept clean.
Regularly clean the tool’s air vents or whenever the vents start to become obstructed.
To maintain product SAFETY and RELIABILITY, repairs, carbon brush inspection and replacement, any other maintenance or adjustment should be performed by RONIX SERVICE Authorized or RONIX SERVICE Centers, always using RONIX SERVICE replacement parts.






















