logitech Zone Wireless Headphone

KNOW YOUR PRODUCT


WHAT’S IN THE BOX
- Headset

- USB-A receiver

- USB-A charging cable

- Travel bag

- User documentation

LOGI TUNE APP
Download Logi Tune App from the Apple App Store® or Google Play™
- Headset controls: Mute or unmute your headset and control noise cancellation with one touch
- Wireless updates: Get notified when there is an update of the latest features
- Device status: Know your active devices connected to your headset and streaming
- Settings: Control your headset languages and adjust when headset goes to auto sleep
- Status notifications: Mute status, battery level and charging notifications
- Immersion adjustments: Side tone settings to hear your own voice at the right volume and EQ presets to adjust or customize.

POWER ON/OFF
- Press power button for 1 second
- Once powered on, light indicator turns white
If no device is connected, it will flash white slowly.
PAIRING VIA BLUETOOTH
- Press power button for 2 seconds Light indicator will flash white rapidly
- Open Bluetooth settings on your device
- Select Zone Wireless in discoverable devices
- Once successfully paired, light indicator will turn solid white.

PAIRING VIA USB RECEIVER
- Insert the receiver into the computer USB-A port
- Once successfully paired, light indicator on receiver will remain solid white Light indicator on headset will turn solid white.

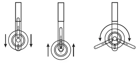
ADJUSTING HEADSET
- Adjust headset by sliding earcups up and down the headband
- It may be easier to adjust the headset on your head Move the earcups up and down the headband until they sit comfortably on your ears.

ADJUSTING THE MICROPHONE BOOM
- Microphone boom rotates 270 degrees Wear it on either left or right side Audio channel will switch automatically, depending on the direction you are wearing the microphone
- Flexible microphone boom — adjust boom location to capture voice better
HEADSET CONTROLS

| Usage | Button | Behavior | |
| Call | Answer / End | Multi-function | 1 second press |
| Reject | Multi-function | 2 second press | |
| Music* | Play / Pause | Multi-function | 1 second press |
| Track forward | Multi-function and “+” | 1 second press | |
| Track backward | Multi-function and “–” | 1 second press | |
| Headset status | Check connectivity and battery life | “+” and “–” | 1 second press |
| Voice assistant (Siri, Google Assistant) | Multi-function | 2 second press | |
* Functionality depends on types of application Music controls may not be functional with web-based applications When two devices are connected, connection via Bluetooth will be prioritized over dongle
* Tip: Headset Side tone and Music EQ controls available on Logi Tune app
MUTE

ACTIVE NOISE CANCELLATION (ANC)
ANC blocks out the noise around you to help you concentrate on the task at hand
- Press the ANC button on the side of the earcup
- There will be voice notifications when turning ANC on and off These can be turned off in the Logi Tune app.

HEADSET INDICATOR LIGHT

| Light | Status |
| Solid WHITE | Powered on or fully charged |
| Breathing WHITE | Battery charging |
| Fast pulsing WHITE | Bluetooth pairing mode |
| Slow pulsing WHITE | No paired device |
| Solid RED | Low battery |
| Fast pulsing RED | Bluetooth pairing mode while low battery |
| Slow pulsing RED | No paired device while low battery |
DONGLE INDICATOR LIGHT

| Light | Status |
| Fast flashing WHITE | Pairing mode |
| Solid WHITE | Paired |
| Repeat flashing on and off in WHITE | Incoming call |
| Solid RED | Mute on |
CHARGING
Headset automatically powers off when left idle.
Sleep timer can be changed in the Logi Tune App
Headset indicator light will turn RED when battery is low.
Charging via USB cable

- Plug the micro USB cable end into the micro USB port on the bottom of the earcup
- Plug the USB-A end into the USB-A charging port on your computer or AC adapter
- Indicator light will be a breathing white light for charging
- Indicator light will be solid white when fully charged 2 hours will fully charge the battery 5 minutes will give you 1 hour of talk time
- Headset can be used with receiver and Bluetooth paired while charging.
Charging via Qi wireless charger

- Fold headset with the wireless charging icon on the earcup to the outside
- Place earcup with wireless charging icon on top of any Qi wireless charging base *
- Indicator light will be a breathing, white light when charging
- Indicator light will be solid white when fully charged 2 hours of charging fully charges the battery
* Qi wireless charging base is not included
LOGI TUNE APP
- Download the Logi Tune app from the Apple App Store® or Google Play™ stores by searching for “Logi Tune“.

- Review the product carousel to learn more about your headset and the app controls.
– Press GET STARTED to enter Bluetooth pairing mode. - To continue, follow instructions on the app.

LOGI TUNE CONTROLS
- Use the Toggle to control your headset features
Mic Mute: Mute or unmute your microphone
Active Noise Cancellation: Turn on/off active noise cancellation
Voice Prompts: Turn on/off voice notifications - Access settings by pressing
in the top left corner.
Sleep Settings: Adjust when your headset turns off/on
Language Settings: Select your headset language.
VIEW THE CONNECTED DEVICES
To view the connected devices, press the purple button at the bottom of the screen.
STATUS NOTIFICATIONS
Check battery level and charging indicator.

ADJUSTING EQUALIZER (EQ) SETTINGS
- Select EQ preset from the drop down options.
- To create personal EQ settings, simply move the faders up and down to adjust accordingly.
- Click SAVE AS and name your personalized EQ setting.

ADJUSTING SIDETONE
Sidetone lets you hear your own voice during conversations so you are aware of how loud you are talking In the Logi Tune app, select the sidetone feature, and adjust the dial accordingly.
– A higher number means you hear more external sound.
– A lower number means you hear less external sound.
AUTO SLEEP TIMER
By default, your headset will automatically power off when not in use for one hour Adjust the sleep timer in the Logi Tune App
RESET YOUR HEADSET
To reset your headset back to its original state, power headset on, press and hold the ANC button and volume ’–’ button for 5 seconds The headset is successfully reset when it powers off and indicator light turns off
UPDATE YOUR HEADSET
- It is recommended to update both your headset and receiver To do so, download the Firmware utility and follow the steps Link found at
www.logitech.com/support/zonewirelessdownloads - To update only your headset, use the Logi Tune app Go to ‘About’ and click UPDATE You must be powered on and paired with your mobile device
FAQ – FREQUENTLY ASKED QUESTIONS
Microsoft ended support for Windows 7 on January 14, 2020. While your device may still be compatible with Windows 7, we no longer provide technical support to products running on Windows 7. We recommend you upgrade your machine to Windows 8 or above to receive technical support.
You may also refer to Microsoft’s information page regarding the end of support for Windows 7: https://www.microsoft.com/windows/windows-7-end-of-life-support-information
Microsoft ended support for Windows Vista on April 11, 2017. While your device may still be compatible with Windows Vista, we no longer provide technical support to products running on Windows Vista. We recommend you upgrade your machine to Windows 8 or above to receive technical support.
You may also refer to Microsoft’s information page regarding the end of support for Windows Vista: https://docs.microsoft.com/lifecycle/products/windows-vista
Can the headset be worn left or right?
You can wear your headset with the mic on either the left or right side, whichever feels more comfortable. The headset will automatically switch the left and right channels.
How do I adjust the headband and mic boom?
You can adjust the headband and bend the microphone boom to better capture voice, as shown: 
How can I clean the headband?
It is safe to clean the headband with disinfecting wipes, wet wipes and makeup removing tissue containing less than 75% alcohol.
Multi-Functional Button (MFB)
The Multi-Functional Button (MFB) lets you answer, end, or reject calls, control your music, and use voice assistance such as Siri or Google Assistant.


Multipoint connection
Multipoint allows the headset to connect to active devices simultaneously.
– While listening to music on your laptop you will be able to accept an incoming call on your phone.
– Make sure that only the two devices you want to connect to are turned on and in proximity.
Bluetooth:
– Using a Bluetooth connection, you can connect to two active devices (mobile or PC), the headset can remember up to eight devices.
– Following the Bluetooth Pairing process once for the first device, then again for the second device
USB:
– Using the USB dongle, you can connect to one headset
– Using the USB connection, you can connect to two active devices (one USB dongle and one Bluetooth on mobile or PC) , the headset can remember up to eight devices.
– Following the Bluetooth Pairing process once for the device, for the dongle just plug it into a PC and it will be recognized automatically.
How do I switch the audio?
Switching from dongle to Bluetooth:Simply play audio on the connected Bluetooth device.
– Audio will start playing automatically as the Bluetooth connection takes priority over the dongle.
– Switching from Bluetooth to donglePause the audio on the connected Bluetooth device — the Bluetooth connection takes priority over the dongle.
– Play audio on the device connected to the dongle.
Can I connect to multiple headsets at the same time?
Mobile and PC devices allow connections to multiple Bluetooth devices, including multiple Logitech Zone Wireless Headsets.
– Typically only one at a time can be used for listening.
– Some mobiles support a “dual audio” feature, that allows media to play on two headsets simultaneously.
The USB dongle connects to a single headset — it is not possible to connect it to more than one headset.
The LED on your headset will turn red when the battery is low and there will be a Low Battery warning in the Logi Tune App
You will also get an in-ear notification if Voice Prompts are enabled in the Logi Tune App.
You can charge your headset using the USB cable or using a Qi wireless charger (not included).
Charge with the USB cable
Plug the USB-C cable end into the USB-C port on the bottom of the ear cup.
Plug the USB-A end into a USB-A charging port on your computer or AC adapter.
The LED indicator will show a breathing white light while the headset charges.
When charging is complete, the LED will turn a solid white. It can take up to two hours for a full charge. Five minutes will give you 1 hour of talk time.
If your headset is not charging, verify the cable is plugged in snuggly into the USB port and the headset. You can also test on another USB port directly on the PC.If your headset is not charging, please reach out to us on the ProSupport contact page here.
Headset can be used with receiver and Bluetooth paired while charging with the USB cable
Charge using a Qi wireless charger
Fold the headset with the icon on the ear cup so it’s on the outside.
Place on top of any Qi-certified charger.

NOTE: The Qi wireless charger is not included.
The LED indicator will show a breathing white light while the headset charges.
When charging is complete, the LED will turn a solid white. It can take up to two hours for a full charge.
If your headset is not charging, try plugging your Qi charger into another outlet and verify it works with another device.
If you verified your Qi charger works and the headset is not charging, please reach out to us on the ProSupport contact page here.



































