Intertek Roselyn Bronze Flush Mount Light

PACKAGE CONTENTS

| PART DESCRIPTION QUANTITY | ||
| A | Fixture | 1 |
| B | Shade (preassembled to fixture (A)) | 1 |
| C | Screw (preassembled to fixture (A)) | 3 |
HARDWARE CONTENTS (shown actual size)

SAFETY INFORMATION
DANGER
- For your protection and safety, carefully read and understand the information provided in this manual completely before attempting to assemble, install or operate this product. Failure to do so could lead to electrical shock, fire or other injuries that could be hazardous or even fatal.
- DO NOT connect this fixture to an electrical system that does not provide a means for equipment grounding. Never use a fixture in a two-wire system that is not grounded. Installing a fixture into an electrical system not having a proper grounding means could cause metal parts of the fixture to carry electrical currents if any of the fixture wires, wire connections or splices were to become broken, cut or loose during the mounting or normal operation of the fixture. Under this condition, anyone coming in contact with the fixture would be subject to electrical shock, which could cause serious injury or death.
- DO NOT connect the bare or green insulation fixture ground wire to the black (HOT) current-carrying wire or the white (NEUTRAL) house wire. Connection of the bare or green fixture ground wire to the black or white house wires may cause metal parts of the fixture to carry electrical currents. Under this condition, anyone coming in contact with the fixture will receive electrical shock, which could cause serious injury or death.
- DO NOT damage or cut the wire insulation (covering) during installation of fixture. DO NOT permit wires to contact any surface having a sharp edge. To do so may damage or cut the wire insulation, which could cause serious injury or death from electrical shock.
- All electrical connections must be in agreement with local codes and ordinances, the National Electric Code (NEC) and ANSI/NFPA 70-1999. Contact your municipal building department to learn about your local codes, permits and/or inspections. Risk of fire – most dwellings built before 1985 have supply wire rated for 140 °F. Consult a qualified electrician before installation.
- To avoid personal injury, the use of gloves may be necessary while handling fixture parts with sharp edges
- DO NOT suspend any fixture by the house wires. A fixture must always be mounted directly to an outlet box or to a mounting strap that is first attached to the outlet box. Wire connectors will not support the weight of a fixture. Suspending a fixture by the house wires and wire connectors will result in the fixture falling, with the possibility of personal injury and the danger of electrical shock or fire.
- To reduce the risk of fire, electrical shock or personal injury, wire connectors provided with this light fixture are designed to accept only one 12-gauge house wire and two lead wires from the light fixture. If your house wire is larger than 12-gauge or there is more than one house wire to connect to the corresponding fixture lead wires, consult an electrician for the proper size wire connectors to use.
- To reduce the risk of damage to the fixture, DO NOT use power tools to assemble any part of the fixture.
CAUTION
- TURN OFF ELECTRICITY at main fuse box (or circuit breaker box) before beginning installation by removing the fuse (or switching the circuit breaker off).
- If you are not sure the lighting system has a grounding means, DO NOT attempt to install this fixture. Contact a qualified, licensed electrician for information regarding the proper grounding methods as required by the local electrical code in your area.
- All fixtures must be mounted to an outlet box that is supported by the building structure.
- If a dimmer control switch is used with this fixture, obtain professional advice to determine the correct type to use as well as the electrical rating required. Modifications not approved by the party responsible for compliance could void the user’s authority to operate the equipment.
The device complies with Part 15 of the FCC Rules. Operation is subject to the following two conditions:
(1) this device may not cause harmful interference, (2) this device must accept any interference received, including interference that may cause undesired operation.
Note: This equipment has been tested and found to comply with the limits for a Class B digital device, pursuant to Part 15 of the FCC Rules. These limits are designed to provide reasonable protection against harmful interference in a residential installation. This equipment generates, uses and can radiate radio frequency energy and, if not installed and used in accordance with the instructions, may cause harmful interference to radio communications. However, there is no guarantee that interference will not occur in a particular installation. If this equipment does cause harmful interference to radio or television reception, which can be determined by turning the equipment off and on, the user is encouraged to try to correct the interference by one or more of the following measures: – Reorient or relocate the receiving antenna. – Increase the separation between the equipment and receiver. Connect the equipment into an outlet on a circuit different from that to which the receiver is connected. Consult the dealer or an experienced radio/TV technician for help.
Distributed by: Litex Industries Inc., P.O. Box 535639, Grand Prairie, TX, 75053; 1-800-527-1292
PREPARATION
Before beginning assembly of product, make sure all parts are present. Compare parts with package contents list and hardware contents list. If any part is missing or damaged, do not attempt to assemble the product.
Estimated Assembly Time: 30 minutes
Tools Required for Assembly (not included): Flathead Screwdriver, Phillips Screwdriver, Wire Strippers, Pliers, Wire Cutters, Safety Glasses, Stepladder, Electrical Tape Helpful Tools (not included): A/C Tester Light, Do-It-Yourself Guide, Soft Cloth
ASSEMBLY INSTRUCTIONS
- Turn off circuit breakers and wall switch to the fixture supply line leads.
DANGER: Failure to disconnect power supply prior to installation may result in serious injury or death.
- Remove existing fixture and disconnect all electrical wiring.

- Remove decorative nut (DD) from threaded 3 rod on mounting strap (CC). Save decorative nut (DD) for later use.

- Remove screws (C) from fixture (A). Carefully separate shade (B) from fixture (A). Remove packing material from shade (B) and dispose of packing material. Save screws (C) for later use.

- Attach mounting strap (CC) to outlet box (not included) using the existing washers and outlet box screws or the machine screws (BB).
NOTE: If the outlet box screws required for your outlet box are of a different size than the machine screws (BB), consult with a licensed electrician before proceeding.
Adjust threaded rod to proper height on mounting strap (CC). Once threaded rod is adjusted, use pliers (not included) to tighten preassembled nuts on threaded rod until they touch mounting strap (CC).
Tighten machine screws (BB) completely to secure mounting strap (CC) to outlet box.
CAUTION: Make sure the outlet box can support 35 lbs. hanging weight. Use metal outlet box; plastic outlet boxes are not recommended.

- Prepare wire by stripping 3/4 in. of insulation from wire ends using wire strippers (not included). Connect BARE/GREEN ground wire from outlet box to BARE ground wire from fixture (A) with wire connector (AA). Connect WHITE wire from fixture (A) to WHITE wire from outlet box using existing wire connector or wire connector (AA). Connect BLACK wire from fixture (A) to BLACK wire from outlet box using existing wire connector or wire connector (AA).
NOTE: Screw wire connectors (AA) on in a clockwise direction.
WARNING: Never connect ground wire to WHITE or BLACK power supply wires.
WARNING: To reduce the risk of fire, electrical shock or personal injury, wire connectors (AA) provided with this light fixture are designed to accept only one 12-gauge house wire and two lead wires from the light fixture. If your house wire is
larger than 12-gauge or there is more than one house wire to connect to the corresponding fixture lead wires, consult an electrician for the proper size wire connectors to use.
- Wrap electrical tape (not included) around each individual wire connector (AA) down to the wire.
WARNING: Make sure no bare wire or wire strands are visible after making connections. Push wire connectors (AA) gently back into outlet box. Carefully push excess wiring into outlet box.
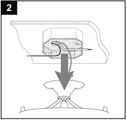
- Align hole in center of fixture (A) with threaded rod and push up. Secure fixture (A) with decorative nut (DD) previously removed (Step 3).

- Before attaching shade (B), make sure all crystals are hanging on the outside of the shade. Attach shade (B) to fixture (A) with screws (C) previously removed (Step 4).

- Restore power and test fixture (A). If light does not function, please refer to TROUBLESHOOTING on the following page.

CARE AND MAINTENANCE
- Shut off main power supply. Wipe with soft. Do not use an abrasive cleaner.
- Total wattage for this fixture is 20.84 watts; do not attempt to replace the LEDs.
TROUBLESHOOTING
WARNING: Before beginning work, shut off the power supply to avoid electrical shock.
| PROBLEM POSSIBLE CAUSE CORRECTIVE ACTION | ||
| Light does not come on initially or no longer comes on. | 1. Power is OFF. 2. Faulty connection. 3. LED component is not working properly. | 1. Make sure power supply is ON. 2. Check wiring and all connections. 3. Contact Customer Service. |
| Fuse blows out or circuit breaker trips. | 1. Crossed wires. 2. Power wire is grounding out. | 1. Check wiring. 2. Check all connections. |
WARRANTY
The distributor warrants all of its lighting fixtures against defects in materials and workmanship for five (5) years from the date of purchase. If within this period the product is found to be defective, take a copy of the bill of sale as a proof of purchase and the product in its original carton to the place of purchase. The distributor will, at its option, repair, replace or refund the purchase price to the consumer. All costs of installation and removal of the fixture is the responsibility of the consumer. This warranty does not cover fixtures becoming defective due to misuse, accidental damage or improper handling and/or installation and specifically excludes liability for direct, incidental or consequential damages, improper packaging of returned products and acts of God. As some states do not allow exclusions of limitations on an implied warranty, the above exclusion and limitation may not apply. This warranty gives you specific rights and you may also have other rights which may vary from state to state.







NOTE: Screw wire connectors (AA) on in a clockwise direction.





















