
PHD-1080W
User Manual
Overview
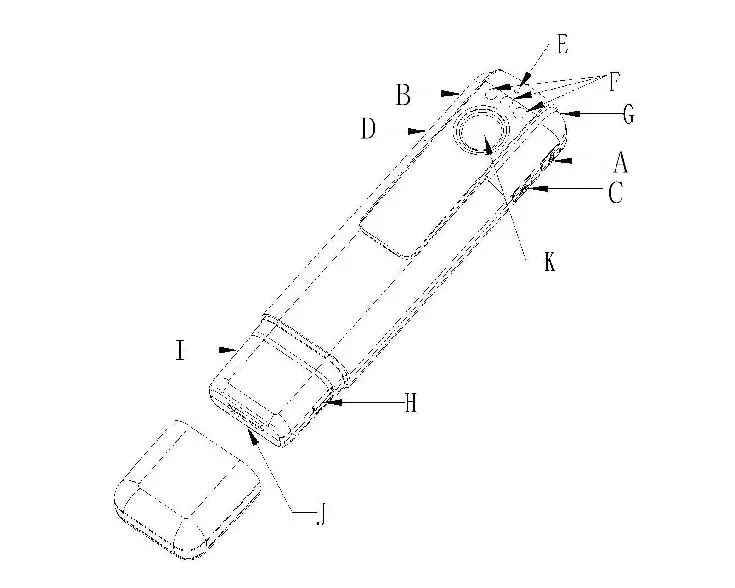
| A. Power/confirm button B. Mode button C. Infrared switch D. WIFI button E. Microphone F. Infrared illuminators | G. Indicator light H. USB port I. SD card slot J. HDMI port K. Camera lens |
Getting Started
Before Use:
Fully charge the camera using the included USB cable and charger for 3-4 hours. The blue and red indicators will turn on when the camera is charging. When the camera is
fully charged, only the red light will turn off.
Powering on your device:
- Press and hold the power button (located on the right side of the device near the top) for three seconds to start up the camera.
- The device will enter into standby mode and the blue indicator light will turn on. From this mode you can record video, change to picture mode, or turn infrared on and off.
- To power the device back off, press and hold the power button for three seconds.
Transfer and manage files on your computer
(Compatible with Windows XP, Vista, 7, 8, 10 & Apple)
- Connect the camera to your computer via the USB cable.
- Open the related Removable Disk drive (usually D: or E: drive) in “My Computer”.
- Double click to view the folder contents then click on each file to view, transfer, or delete the media files.
Recording:
Video Recording:
- To record video, press the power button while the camera is in standby mode. The blue indicator light willflash 5 times before turning off. The camera will now begin recording video.
- To stop recording, press the power button again. The camera will stop recording and enter back into standby mode.
Photo Taking:
- While the camera is in standby mode, press the mode switch (located on the left side of the device, near the top) to enter photo mode. The indicator light will change to red while in photo mode.
- Short press the power button to take a picture. Each time the power button is pressed the red light will flash and the picture will be saved. (Images captured through the smartphone app will be instantly downloaded to your phone).
- Press the mode button to re-enter standby mode, the blue indicator light will turn back on.
Audio Recording:
- To record audio only, press the mode button twice. The indicator light will turn green, and the camera will enter audio mode. Short press the power button, the indicator light will begin flashing and the camera will record audio.
(Even while the voice recording is disabled in the smartphone app settings, the camera will still record an audio file). - Press the power button to stop recording. The indicator light will stop flashing and the audio file will be saved.
- Press the mode button to re-enter standby mode, the blue indicator light will turn back on.
Motion Detection:
- Press the mode button three times to enter into motion detection mode and the red and blue light will turn on. Short press the power button, the lights will flash five times
and the camera will begin motion detection. - When the camera detects movement it will begin recording video. Press the power button to stop the recording and save the video file.
- Press the mode button to re-enter standby mode, the blue indicator light will turn back on.
Settings:
- Press the WiFi button to turn on the camera’s WiFi, the blue and green indicator lights will occasionally flash. Once the camera and smartphone app connect through WiFi, the blue and green lights will turn solid.
- While connected to the camera through WiFi, you can edit settings and record video, take photos, or record audio through your smartphone via the smartphone app.
- To turn off WiFi, press the Wifi button. The camera will disconnect from the app and turn off WiFi signal.
Note: The WiFi default name is “C11” and the default password is “12345678”.
Infrared Light:
- To turn on infrared recording, press the infrared button (located just beneath the power button on the right side of the device). The indicator light will flash red three times and the camera will enter infrared mode.
- To turn o ffinfrared, press the infrared button again. The indicator light will flash green three times and then enter normal recording mode.
Note: While infrared is on, the camera will record video and pictures in night-vision. Night-vision will give better recording at night, but images will be in black and white.
Video Resolution:
- There are four options of video resolution available to chose from. To change the resolution, first create a text file named “moviesizeset.txt” and place it in the root directory of the SD card.
- Open the text file to change the resolution. Input the following text that goes with the desired video resolution:
a) For 1080P at 30 frames per second input “0”
b) For 720P at 60fps input “1”
c) For WVGA at 60fps input “2”
d) For VGA at 60fps input “3” - Save the text with the desired resolution number.
Insert the SD card into the camera and power the camera on, your desired resolution will be set.
Time and Date:
- To update the time and date set on the camera, create a text file named “timeset.txt”. In the text file, input the date and time in “YYYY.MM.DD HH:MM:SS Y” format.
- The final “Y” in the text document is for the time and date to be displayed as a watermark on saved files. To not display time and date, change the “Y” to “N”.
- Save the text document in the SD card root directory and insert the SD card into the camera. When the camera powers on the time and date will be updated.
Picture Size:
1) To change the picture size, create a text file named “photosizeset.txt”. In the text file, input the following text that goes with the desired image size.
a) For 4032×3024 input the text “0”
b) For 2304×1536 input “1”
c) For 1920×1080 input “2”
d) For 1280×720 input “3”
2) Save the text file with the desired setting in the SD card’s root directory. Insert the SD card into the camera and next time you power the camera on the photo size setting will be updated.
HDMI Connection to TV:
Connect your camera to an HD TV through the included HDMI cable. While connected to the TV you can preview saved files. While in preview mode, use the WiFi button to change between files and use the power button to play/pause the selected file. Use the mode button to stop playing saved files, and press the mode button once more to change back to video recording mode.
Smartphone App
- Download the smartphone app “time cam” from the AppiTunes store for iOS or download directly from PatrolEyes for Android. Simply scan the QR code below to be directed to the download.
- Connect to the camera through the smartphone app. The camera’s default WiFi name is “C11” and the default password is “12345678”.
- While connected to the WiFi app, all the camera’s the function will be controlled through your smartphone.

https://play.google.com/store/apps/details?id=com.tima.dr.novatek.bs.en&hl=en_AU




















